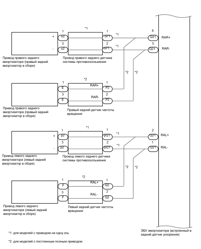
РЕГУЛИРУЕМАЯ АДАПТИВНАЯ ПОДВЕСКА СХЕМА СИСТЕМЫ

C308229E05
C305939E04
C305940E04
C317383E02