СИСТЕМА СТЕКЛООЧИСТИТЕЛЕЙ И СТЕКЛООМЫВАТЕЛЕЙ

Figure 1. Система передних стеклоочистителей

A01FJLBE01

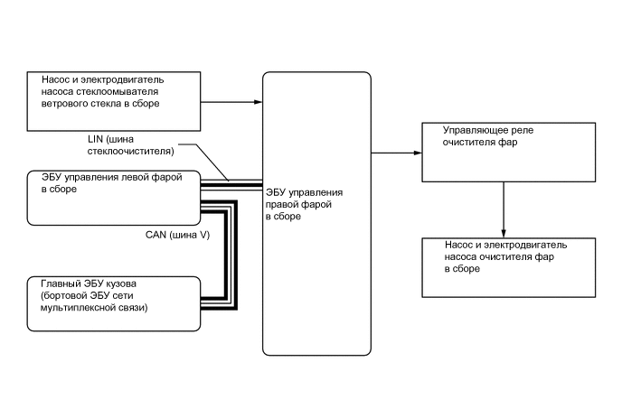
Figure 2. Система очистителей фар

B004H3ZE01