СИСТЕМА ПОМОЩИ ПРИ ПАРКОВКЕ КАЛИБРОВКА

  1. ОТРЕГУЛИРУЙТЕ СИСТЕМУ МОНИТОРА ПОМОЩИ ПРИ ПАРКОВКЕ

    1. Мониторную систему помощи при парковке можно настроить с помощью режима диагностики.

    2. Если были произведены перечисленные ниже действия, необходимо выполнить соответствующие регулировки и проверки с использованием режима диагностики.

      Наименование детали

      Действие

      Регулируемый параметр

      Следующий шаг

      Датчик положения рулевого колеса

      • Замена

      • Снятие и установка датчика положения рулевого колеса

      • Снятие и установка разъема датчика положения рулевого колеса

      Нейтральное положение рулевого колеса (инициализируйте систему помощи при парковке)

      Щелкните по следующей ссылке

      Установка угла поворота рулевого колеса

      Процедура 3

      Подвеска, шины и т.д.

      Замена (высота подвески автомобиля изменяется вследствие замены деталей подвески или шин)

      Оптическая ось задней телекамеры (настройка положения камеры заднего вида)

      Процедура 2

      Задняя телекамера в сборе

      Замена

      Инициализация системы помощи при парковке.

      Процедура 1

      Снятие и установка задней телекамеры в сборе и т.п. (угол установки задней телекамеры в сборе был изменен в результате снятия и установки)

      Оптическая ось задней телекамеры (настройка положения камеры заднего вида)

      Процедура 2

      Tip:

      Определяемые во время калибровки системы помощи при парковке параметры настройки сохраняются в задней телекамере в сборе.

  2. ИНИЦИАЛИЗАЦИЯ СИСТЕМЫ ПОМОЩИ ПРИ ПАРКОВКЕ (ПРОЦЕДУРА 1)

    Tip:
    • Обязательно проверьте DTC перед выполнением этой процедуры.

      Нажмите здесьЩелкните по следующей ссылке

    • Экраны на рисунках могут отличаться от экранов, отображаемых в конкретном автомобиле, из-за различия настроек и дополнительного оборудования. В связи с этим некоторые детализированные области не могут быть отображены в точности так, как вы их видите на своем дисплее.

    1. Подготовка к настройке

      1. Припаркуйте автомобиль так, чтобы рулевое колесо находилось в центральном положении.

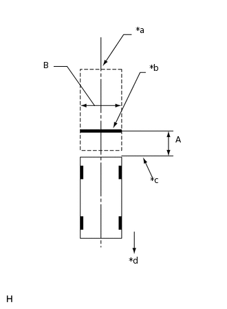
      2. E181012C12

        *a

        Центральная ось автомобиля

        *b

        Полоса для регулировки положения камеры заднего вида

        *c

        Задняя часть автомобиля

        *d

        Передняя сторона

        Закрепите полосу для регулировки оптической оси задней телекамеры в сборе позади автомобиля (настройка положения камеры заднего вида).

        Tip:

        Полоса для регулировки используется только в случае регулировки оптической оси задней телекамеры в сборе.

        Размер

        Зона

        Технические характеристики

        A

        771 мм (2,529 фута)

        B

        1995 - 2005 мм (6,544 - 6,576 фута)

        Tip:
        • Положите на землю кусок ленты, которая будет использоваться в качестве полосы для регулировки. Ширина и длина ленты должны составлять соответственно 20–30 мм (0,787–1,180 дюйма) и 1995–2005 мм (6,544–6,576 фута).

        • Перед парковкой автомобиля подвигайте его взад-вперед, чтобы убедиться, что колеса установлены строго прямо и рулевое колесо установлено по центру.

        • Убедитесь, что дверь багажного отделения полностью закрыта.

    2. Войдите в режим диагностики.

      Note:

      При запущенном двигателе следует выполнить следующее. Включите стояночный тормоз, нажмите педаль тормоза, проверьте, что рычаг переключения передач находится в положении P и удостоверьтесь, что автомобиль не движется.

      1. E366768

        Выберите "Function Check/Setting" (Проверка/настройка функций) на экране "Service Menu" (Меню обслуживания).

      2. E366769

        Выберите "Camera Setting" (Настройка камеры) на экране "Function Check/Setting I" (Проверка/настройка функций I).

      3. E366772

        Выберите "Next" (Далее) на экране "Signal Check" (Проверка сигналов).

        Tip:
        • Если для каких-либо параметров на экране "Signal Check" отображается "CHK" (красный), при выборе "Next" система не перейдет к экрану "Steering Angle Setting" (настройка угла поворота рулевого колеса).

        • Если для каких-либо параметров на экране "Signal Check" отображается "CHK" (красный), выполните проверки с помощью экрана "Signal Check".

          Нажмите здесьЩелкните по следующей ссылке

    3. Установка угла поворота рулевого колеса

      1. E366790

        Убедитесь, что рулевое колесо отцентровано (приблизительно +/-5 градусов или менее), и выберите "Steering Center Memorize" (Сохранить центральное положение рулевого колеса).

        Tip:

        В случае снятия и установки задней телекамеры настройка угла поворота рулевого колеса не требуется.

      2. После сохранения в памяти нейтрального положения рулевого колеса поверните рулевое колесо до упора влево и вправо и выберите "Max Steering Angle Memorize" (сохранение максимального угла поворота рулевого колеса). Максимальный угол поворота рулевого колеса будет сохранен, и появится экран "Back Camera Position Setting D (*)" (настройка положения камеры заднего вида D (*)).

        Tip:
        • Система не будет реагировать на нажатие кнопки "Next" (Дальше) до тех пор, пока не сохранит нейтральное положение и максимальный угол поворота рулевого колеса.

        • Также можно начать процедуру с поворота рулевого колеса с правую сторону.

        • При выборе "Max Steering Angle Memorize" (сохранение максимального угла поворота рулевого колеса) подается звуковой сигнал, подтверждающий сохранение настройки рулевого управления.

        • Настройка не сохранится, если после поворота рулевого колеса в крайние положения не будет выбрано "Max Steering Angle Memorize".

        • В случае выбора "Back" появляется экран "Signal Check" (проверка сигналов) без сохранения каких-либо значений.

        • Даже если коды DTC не зарегистрированы, выбор "Max Steering Angle Memorize" может не привести к сохранению настройки, если неисправен датчик положения рулевого колеса.

        • Если выбор "Max Steering Angle Memorize" не приводит к сохранению настройки после выполнения последовательности установки угла поворота рулевого колеса, замените датчик положения рулевого колеса.

          Нажмите здесьЩелкните по следующей ссылкеЩелкните по следующей ссылке

    4. E366770C01

      *a

      Полоса для регулировки положения камеры заднего вида

      Настройка положения камеры заднего вида

      Tip:
      • Когда дверь багажного отделения открыта, сообщение "можно не калибровку камерой, когда дверь открыта. Обязательно закройте дверь »будет выведено такое сообщение, и настройка положения камеры будет невозможна.

      • Если сообщение "You can not calibrate the camera when the door is open. Необходимо закрыть дверь. "отображается даже при закрытой двери багажного отделения, выполните проверки в соответствии с таблицей признаков неисправностей (при регулировке положения оптической оси камеры сообщение" можно не калибровку камерой, когда дверь открыта. Необходимо закрыть дверь. "отображается, даже когда дверь багажного отделения была закрыта).

        Нажмите здесьЩелкните по следующей ссылке

      1. Отрегулируйте положения по вертикали и горизонтали.

        • Переместите круг (А) влево, вправо, вверх и вниз, выбрав кнопки (C), (D), (E) и (F), чтобы левый конец заданной полосы настройки положения камеры заднего вида располагался в центре круга (А) (центр внутреннего красного круга).

      2. Отрегулируйте угол крена.

        • Повернитие полосу (B) выбрав кнопку (G) или (H), чтобы полоса (B) стала параллельной относительно заданной полосы настройки положения камеры заднего вида.

      3. Выберите "Next" (Дальше) в окне "Back Camera Position Setting" (D (*).

    5. E366771E01

      Режим проверки заднего вида

      1. Убедитесь, что (A) и полоса регулировки перекрываются.

        • Если линии не совмещаются, выполните операции "Steering Center Memorize" (сохранение нейтрального положения рулевого колеса) и "Max Steering Angle Memorize" (сохранение максимального угла поворота рулевого колеса).

        • Если (A) и полоса регулировки не совмещены, несмотря на то, что колеса расположены строго прямо, произведите настройку положения камеры заднего вида.

      2. Нажатие "OK" приводит к возврату в экран "Function Check/Setting I" и завершению регулировки.

        Tip:
        • Обновление не завершится, пока не будет нажата кнопка "OK".

        • После выбора "OK" звучит звуковой сигнал, подтверждающий сохранение значений параметров настройки.

        • Значения параметров настройки не сохраняются, пока не прозвучит звуковой сигнал.

    6. Закончите режим диагностики.

    7. Проверьте настройку угла поворота рулевого колеса.

      Tip:

      Если угол поворота рулевого колеса был отрегулирован, после выхода из режима диагностики проверьте настройку угла поворота рулевого колеса на экране системы помощи при парковке.

      1. Убедитесь, что на экране системы помощи при парковке прогнозируемая траектория движения перемещается, пока рулевое колесо не будет повернуто до упора влево или вправо.

        Tip:

        Если прогнозируемая траектория движения прекращает движение до того, как рулевое колесо будет повернуто в крайнее левое или правое положение, параметры настройки угла поворота рулевого колеса не сохранены должным образом. В этом случае выполните операции "Steering Center Memorize" (сохранение нейтрального положения рулевого колеса) и "Max Steering Angle Memorize" (сохранение максимального угла поворота рулевого колеса) еще раз.

  3. НАСТРОЙКА ПОЛОЖЕНИЯ КАМЕРЫ ЗАДНЕГО ВИДА (ПРОЦЕДУРА 2)

    Tip:
    • Обязательно проверьте DTC перед выполнением этой процедуры.

      Нажмите здесьЩелкните по следующей ссылке

    • Экраны на рисунках могут отличаться от экранов, отображаемых в конкретном автомобиле, из-за различия настроек и дополнительного оборудования. В связи с этим некоторые детализированные области не могут быть отображены в точности так, как вы их видите на своем дисплее.

    1. Подготовка к настройке

      1. Припаркуйте автомобиль так, чтобы рулевое колесо находилось в центральном положении.

      2. E181012C12

        *a

        Центральная ось автомобиля

        *b

        Полоса для регулировки положения камеры заднего вида

        *c

        Задняя часть автомобиля

        *d

        Передняя сторона

        Закрепите полосу для регулировки оптической оси задней телекамеры в сборе позади автомобиля (настройка положения камеры заднего вида).

        Tip:

        Полоса для регулировки используется только в случае регулировки оптической оси задней телекамеры в сборе.

        Размер

        Зона

        Технические характеристики

        A

        771 мм (2,529 фута)

        B

        1995 - 2005 мм (6,544 - 6,576 фута)

        Tip:
        • Положите на землю кусок ленты, которая будет использоваться в качестве полосы для регулировки. Ширина и длина ленты должны составлять соответственно 20–30 мм (0,787–1,180 дюйма) и 1995–2005 мм (6,544–6,576 фута).

        • Перед парковкой автомобиля подвигайте его взад-вперед, чтобы убедиться, что колеса установлены строго прямо и рулевое колесо установлено по центру.

        • Убедитесь, что дверь багажного отделения полностью закрыта.

    2. Войдите в режим диагностики.

      Note:

      При запущенном двигателе следует выполнить следующее. Включите стояночный тормоз, нажмите педаль тормоза, проверьте, что рычаг переключения передач находится в положении P и удостоверьтесь, что автомобиль не движется.

      1. E366768

        Выберите "Function Check/Setting" (Проверка/настройка функций) на экране "Service Menu" (Меню обслуживания).

      2. E366769

        Выберите "Camera Setting" (Настройка камеры) на экране "Function Check/Setting I" (Проверка/настройка функций I).

      3. E378699

        В окне "Mode Setting" (настройка режима) выберите пункт "Back Camera Setting" (настройка камеры заднего вида).

        Tip:

        Чтобы выбрать не доступный для выбора элемент, нажмите на его изображение и удерживайте не менее 2 с.

      4. E366772

        Выберите "Next" (Далее) на экране "Signal Check" (Проверка сигналов).

        Tip:
        • Если для каких-либо параметров на экране "Signal Check" отображается "CHK" (красный), при выборе "Next" система не перейдет к экрану "Back Camera Position Setting D (*)" (настройка положения камеры заднего вида D (*)).

        • Если для каких-либо параметров на экране "Signal Check" отображается "CHK" (красный), выполните проверки с помощью экрана "Signal Check".

          Нажмите здесьЩелкните по следующей ссылке

    3. E366770C01

      *a

      Полоса для регулировки положения камеры заднего вида

      Настройка положения камеры заднего вида

      Tip:
      • Когда дверь багажного отделения открыта, сообщение "можно не калибровку камерой, когда дверь открыта. Обязательно закройте дверь »будет выведено такое сообщение, и настройка положения камеры будет невозможна.

      • Если сообщение "You can not calibrate the camera when the door is open. Необходимо закрыть дверь. "отображается даже при закрытой двери багажного отделения, выполните проверки в соответствии с таблицей признаков неисправностей (при регулировке положения оптической оси камеры сообщение" можно не калибровку камерой, когда дверь открыта. Необходимо закрыть дверь. "отображается, даже когда дверь багажного отделения была закрыта).

        Нажмите здесьЩелкните по следующей ссылке

      1. Отрегулируйте положения по вертикали и горизонтали.

        • Переместите круг (А) влево, вправо, вверх и вниз, выбрав кнопки (C), (D), (E) и (F), чтобы левый конец заданной полосы настройки положения камеры заднего вида располагался в центре круга (А) (центр внутреннего красного круга).

      2. Отрегулируйте угол крена.

        • Повернитие полосу (B) выбрав кнопку (G) или (H), чтобы полоса (B) стала параллельной относительно заданной полосы настройки положения камеры заднего вида.

      3. Выберите "Next" (Дальше) в окне "Back Camera Position Setting" (D (*).

    4. E366771E01

      Режим проверки заднего вида

      1. Убедитесь, что (A) и полоса регулировки перекрываются.

        • Если линии не совмещаются, выполните операции "Steering Center Memorize" (сохранение нейтрального положения рулевого колеса) и "Max Steering Angle Memorize" (сохранение максимального угла поворота рулевого колеса).

        • Если (A) и полоса регулировки не совмещены, несмотря на то, что колеса расположены строго прямо, произведите настройку положения камеры заднего вида.

      2. Нажатие "OK" приводит к возврату в экран "Mode Setting" и завершению регулировки.

        Tip:
        • Обновление не завершится, пока не будет нажата кнопка "OK".

        • После выбора "OK" звучит звуковой сигнал, подтверждающий сохранение значений параметров настройки.

        • Значения параметров настройки не сохраняются, пока не прозвучит звуковой сигнал.

    5. Закончите режим диагностики.

  4. НАСТРОЙКА УГЛА ПОВОРОТА РУЛЕВОГО КОЛЕСА (ПРОЦЕДУРА 3)

    Tip:
    • Если направляющие линии, ограничивающие маневр автомобиля по ширине, не совмещены с линиями прогнозируемой траектории движения, когда рулевое колесо отцентровано, или же прогнозируемая траектория движения не перемещается до полного поворота рулевого колеса влево или вправо, настройте угол поворота рулевого колеса.

    • Обязательно проверьте DTC перед выполнением этой процедуры.

      Нажмите здесьЩелкните по следующей ссылке

    • Экраны на рисунках могут отличаться от экранов, отображаемых в конкретном автомобиле, из-за различия настроек и дополнительного оборудования. В связи с этим некоторые детализированные области не могут быть отображены в точности так, как вы их видите на своем дисплее.

    1. Установите рулевое колесо в центральное положение и остановите автомобиль.

    2. Войдите в режим диагностики.

      Note:

      При запущенном двигателе следует выполнить следующее. Включите стояночный тормоз, нажмите педаль тормоза, проверьте, что рычаг переключения передач находится в положении P и удостоверьтесь, что автомобиль не движется.

      1. E366768

        Выберите "Function Check/Setting" (Проверка/настройка функций) на экране "Service Menu" (Меню обслуживания).

      2. E366769

        Выберите "Camera Setting" (Настройка камеры) на экране "Function Check/Setting I" (Проверка/настройка функций I).

      3. E378699

        В окне "Mode Setting" (настройка режима) выберите пункт "Steering Angle Setting" (настройка угла поворота рулевого колеса).

        Tip:

        Чтобы выбрать недоступный для выбора элемент, нажмите его и удерживайте не менее 2 с.

      4. E366772

        Выберите "Next" (далее) на экране "Signal Check" (проверка сигналов), чтобы открыть экран "Steering Angle Setting" (настройка угла поворота рулевого колеса).

        Tip:
        • Если для каких-либо параметров на экране "Signal Check" отображается "CHK" (красный), при выборе "Next" система не перейдет к экрану "Steering Angle Setting" (настройка угла поворота рулевого колеса).

        • Если для каких-либо параметров на экране "Signal Check" отображается "CHK", выполните проверки с помощью экрана "Signal Check".

          Нажмите здесьЩелкните по следующей ссылке

    3. E366773

      Установка угла поворота рулевого колеса

      1. Убедитесь, что рулевое колесо отцентровано (приблизительно +/-5 градусов или менее), и затем выберите "Steering Center Memorize" (Сохранить центральное положение рулевого колеса).

        Tip:

        В случае снятия и установки задней телекамеры настройка угла поворота рулевого колеса не требуется.

      2. После запоминания центрального положения рулевого колеса поверните рулевое колесо до упора вправо, а затем влево и выберите "Max Steering Angle Memorize" (сохранение максимального угла поворота рулевого колеса).

        Tip:

        Также можно начать процедуру с поворота рулевого колеса с правую сторону.

      3. Выберите "Max Steering Angle Memorize" (сохранение максимального угла поворота рулевого колеса), чтобы сохранить настройку угла поворота рулевого колеса и перейти на экран "Mode Setting".

        Tip:
        • При выборе "Max Steering Angle Memorize" (сохранение максимального угла поворота рулевого колеса) подается звуковой сигнал, подтверждающий сохранение параметров настройки угла поворота рулевого колеса.

        • Настройка не сохранится, если не выбрать "Max Steering Angle Memorize".

        • После выбора "Back" появляется экран "Signal Check" (проверка сигналов), и установленные параметры не сохраняются.

        • Если угол поворота рулевого колеса не был отрегулирован, при выборе "Max Steering Angle Memorize" настройка сохранена не будет.

        • Даже если коды DTC не зарегистрированы, выбор "Max Steering Angle Memorize" может не привести к сохранению настройки, если неисправен датчик положения рулевого колеса.

        • Если выбор "Max Steering Memorize" не приводит к сохранению настройки после регулировки угла поворота рулевого колеса, замените датчик угла поворота рулевого колеса.

          Нажмите здесьЩелкните по следующей ссылкеЩелкните по следующей ссылке

    4. Закончите режим диагностики.

    5. Проверьте настройку угла поворота рулевого колеса.

      Tip:

      Если угол поворота рулевого колеса был отрегулирован, после выхода из режима диагностики проверьте настройку угла поворота рулевого колеса на экране системы помощи при парковке.

      1. Убедитесь, что на экране системы помощи при парковке прогнозируемая траектория движения перемещается, пока рулевое колесо не будет повернуто до упора влево или вправо.

        Tip:

        Если прогнозируемая траектория движения прекращает движение до того, как рулевое колесо будет повернуто в крайнее левое или правое положение, параметры настройки угла поворота рулевого колеса не сохранены должным образом. В этом случае выполните операции "Steering Center Memorize" (сохранение нейтрального положения рулевого колеса) и "Max Steering Angle Memorize" (сохранение максимального угла поворота рулевого колеса) еще раз.