AIR CONDITIONING SYSTEM, Diagnostic DTC:B1497/97

DTC Code DTC Name
B1497/97 BUS IC Communication Malfunction

DESCRIPTION

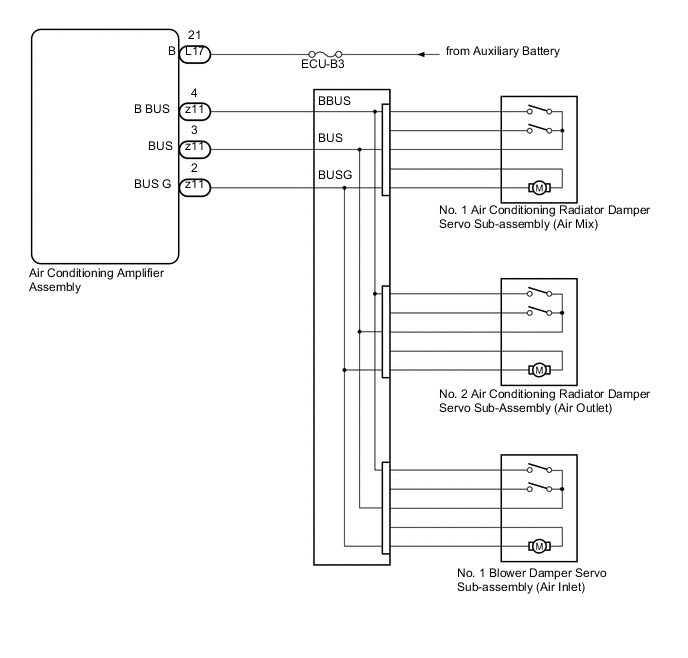
The air conditioning harness assembly connects the air conditioning amplifier assembly and the servos. The air conditioning amplifier assembly supplies power and sends operation instructions to each servo through the air conditioning harness assembly. Each servo sends damper position information to the air conditioning amplifier assembly.

DTC No. DTC Detection Condition Trouble Area
B1497/97 Communication line error or open
  • Air conditioning harness assembly

  • No. 1 air conditioning radiator damper servo sub-assembly

  • No. 2 air conditioning radiator damper servo sub-assembly

  • No. 1 blower damper servo sub-assembly

  • Air conditioning amplifier assembly

WIRING DIAGRAM

A005C2LE11

CAUTION / NOTICE / HINT

Note

Inspect the fuses for circuits related to this system before performing the following inspection procedure.

PROCEDURE


  1. PERFORM ACTIVE TEST USING GTS


    1. Connect the GTS to the DLC3.

    2. Turn the power switch on (IG).

    3. Turn the GTS on.

    4. Enter the following menus: Body Electrical / Air Conditioner / Active test.

    5. Check the operation by referring to the table below.

      Air Conditioner
      Tester Display Test Part Control Range Diagnostic Note
      Air Mix Servo Targ Pulse(D) No. 1 air conditioning radiator damper servo sub-assembly (air mix) pulse Min.: 0, Max.: 255 Operates between 6 to 93 pulses
      Air Outlet Servo Pulse (D) No. 1 blower damper servo sub-assembly (air outlet) pulse Min.: 0, Max.: 255 Operates between 5 to 47 pulses
      Air Inlet Damper Targ Pulse No. 2 air conditioning radiator damper servo sub-assembly (air inlet) target pulse Min.: 0, Max.: 255

        for LHD:

      • Operates between 7 to 19 pulses


        for RHD:

      • Operates between 7 to 25 pulses

      OK
      Arm of the damper servo motor selected in the Active Test moves smoothly.
    6. According to the test result, proceed to the next step.

      Result
      Result Proceed to
      One of the damper servo motors is malfunctioning A
      All of the damper servo motors are malfunctioning B

    B
    A
  2. SYSTEM CHECK


    1. According to the test result, proceed to the next step.

      Result
      Result Proceed to
      Only the No. 1 air conditioning radiator damper servo sub-assembly (air mix) is malfunctioning A
      Only the No. 2 air conditioning radiator damper servo sub-assembly (air inlet) is malfunctioning B
      Only the No. 1 blower damper servo sub-assembly (air outlet) is malfunctioning C

    B
    C
    A
  3. REPLACE NO. 1 AIR CONDITIONING RADIATOR DAMPER SERVO SUB-ASSEMBLY (AIR MIX)


    1. Replace the No. 1 air conditioning radiator damper servo sub-assembly (air mix) Click here.

      Tech Tips

      Since the servo motor cannot be inspected while it is removed from the vehicle, replace the servo motor with a new or known good one and check that the condition returns to normal.

    2. Check for the DTC.

      Result
      Result Proceed to
      DTC B1497 is not output A
      DTC B1497 is output B

    A
    B
  4. REPLACE NO. 2 AIR CONDITIONING RADIATOR DAMPER SERVO SUB-ASSEMBLY (AIR INLET)


    1. Replace the No. 2 air conditioning radiator damper servo sub-assembly (air inlet) Click here.

      Tech Tips

      Since the servo motor cannot be inspected while it is removed from the vehicle, replace the servo motor with a new or known good one and check that the condition returns to normal.

    2. Check for the DTC.

      Result
      Result Proceed to
      DTC B1497 is not output A
      DTC B1497 is output B

    A
    B
  5. REPLACE NO. 1 BLOWER DAMPER SERVO SUB-ASSEMBLY (AIR OUTLET)


    1. Replace the No. 1 blower damper servo sub-assembly (air outlet) Click here.

      Tech Tips

      Since the servo motor cannot be inspected while it is removed from the vehicle, replace the servo motor with a new or known good one and check that the condition returns to normal.

    2. Check for the DTC.

      Result
      Result Proceed to
      DTC B1497 is not output A
      DTC B1497 is output B

    A
    B
  6. REPLACE AIR CONDITIONING HARNESS ASSEMBLY


    1. Replace the air conditioning harness assembly Click here.

      Tech Tips

      Since the air conditioning harness assembly cannot be inspected while it is removed from the vehicle, replace the air conditioning harness assembly with a new or known good one and check that the condition returns to normal.

    2. Check for the DTC.

      Result
      Result Proceed to
      DTC B1497 is not output A
      DTC B1497 is output B

    A
    B
  7. CHECK HARNESS AND CONNECTOR (POWER SOURCE)


    1. Disconnect the L17 air conditioning amplifier assembly connector.

    2. Measure the voltage according to the value(s) in the table below.

      Standard Voltage
      Tester Connection Condition Specified Condition
      L17-21 (B) - Body ground Power switch off 11 to 14 V

    OK
    NG