REAR AIRBAG SENSOR INSTALLATION

CAUTION / NOTICE / HINT

Tip:
  • Use the same procedure for the RH and LH sides.

  • The procedure listed below is for the LH side.

PROCEDURE

  1. INSTALL REAR AIRBAG SENSOR LH

    1. Check that the power switch is off.

    2. Check that the cable is disconnected from the auxiliary battery negative (-) terminal.

      CAUTION:

      Wait at least 90 seconds after disconnecting the cable from the auxiliary battery negative (-) terminal to disable the SRS system.

    3. Insert the pin (stopper) into the body hole to install the rear airbag sensor to the vehicle with the nut.

      9.0 N*m

      92 kgf*cm

      80 in.*lbf

      Note:
      • If the rear airbag sensor has been dropped, or there are any cracks, dents or other defects in the case or connector, replace it with a new one.

      • When installing the rear airbag sensor, be careful that the SRS wiring does not interfere with or is not pinched between other parts.

      • Make sure that the pin (stopper) is securely inserted into the body hole.

      • Tighten the nut while holding the rear airbag sensor because the rear airbag sensor pin (stopper) is easily damaged.

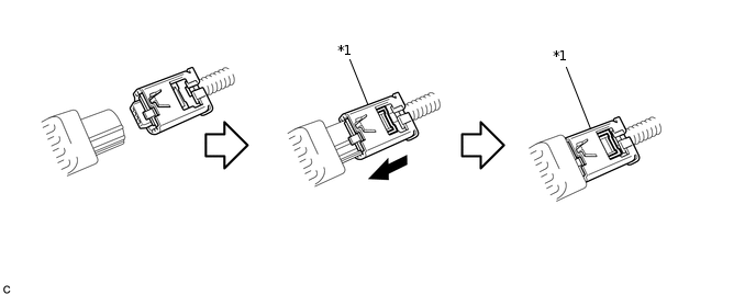
    4. Connect the connector to the rear airbag sensor LH.

      Note:

      When connecting any airbag connector, take care not to damage the airbag wire harness.

      1. While holding the outer housing, be sure to engage the connectors until they are locked and check that the outer housing is in its original position (when locking, make sure that a click sound can be heard).

        C198070C08

        *1

        Outer Housing

        -

        -

    5. Check that there is no looseness in the installation parts of the rear airbag sensor LH.

  2. INSTALL DECK TRIM SIDE PANEL ASSEMBLY LH

  3. INSTALL DECK TRIM SERVICE HOLE COVER

  4. INSTALL REAR DOOR OPENING TRIM WEATHERSTRIP LH

  5. INSTALL REAR DOOR SCUFF PLATE LH

  6. INSTALL REAR NO. 1 FLOOR MAT SUPPORT SIDE PLATE (for Compact Spare Tire)

  7. INSTALL REAR NO. 1 FLOOR MAT SUPPORT SIDE PLATE (for Full Size Spare Tire)

  8. INSTALL REAR FLOOR FINISH PLATE (for Compact Spare Tire)

  9. INSTALL REAR DECK TRIM COVER (for Full Size Spare Tire)

  10. INSTALL REAR NO. 3 FLOOR BOARD

  11. INSTALL DECK FLOOR BOX LH

  12. INSTALL TONNEAU COVER ASSEMBLY (w/ Tonneau Cover)

  13. INSTALL PACKAGE TRAY TRIM POCKET SUB-ASSEMBLY (w/ Partition Net)

  14. CONNECT CABLE TO AUXILIARY BATTERY NEGATIVE TERMINAL

    Note:

    When disconnecting the cable, some systems need to be initialized after the cable is reconnected.

    Click hereClick hereClick here

  15. INSTALL BATTERY SERVICE COVER

  16. INSTALL DECK BOARD ASSEMBLY

  17. PERFORM DIAGNOSTIC SYSTEM CHECK

  18. CHECK SRS WARNING LIGHT