CRUISE CONTROL SYSTEM

A004GUGE02
Text in Illustration
*A Models with M/T *B Models with A/T
*1 Front Speed Sensor RH *2

Throttle Body with Motor Assembly


  • Throttle Control Motor

  • Throttle Position Sensor

*3 Neutral Position Switch Assembly *4 Rear Speed Sensor RH
*5 Rear Speed Sensor LH *6 Front Speed Sensor LH
*7 Park/Neutral Position Switch Assembly *8

Brake Actuator Assembly


  • Skid Control ECU

A004GOZE02
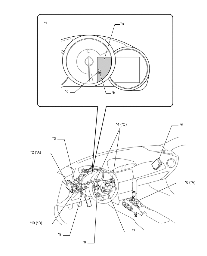
Text in Illustration (Models for LHD:)
*A Models with A/T *B Models with M/T
*C Models with Shift Paddle Switch - -
*1 Combination Meter Assembly *2 Transmission Control ECU Assembly
*3 Accelerator Pedal Sensor Assembly *4 Transmission Shift Switch Assembly
*5 ECM *6

Floor Shift Shift Lever Assembly


  • Transmission Control Switch

*7 Cruise Control Main Switch Assembly *8 DLC3
*9 Stop Light Switch Assembly *10 Clutch Switch Assembly
*a Multi-information Display *b Cruise SET Indicator Light
*c Cruise Main Indicator Light - -
A004GNTE02
Text in Illustration (Models for RHD:)
*A Models with Segment LCD Type Multi-information Display *B Models with TFT LCD Type Multi-information Display
*C Models with A/T *D Models with M/T
*E Models with Shift Paddle Switch - -
*1 Combination Meter Assembly *2 Transmission Control ECU Assembly
*3 Clutch Switch Assembly *4 Stop Light Switch Assembly
*5 Transmission Shift Switch Assembly *6 Cruise Control Main Switch Assembly
*7 Accelerator Pedal Sensor Assembly *8

Floor Shift Shift Lever Assembly


  • Transmission Control Switch

*9 DLC3 *10 ECM
*a Cruise Main Indicator Light *b Cruise SET Indicator Light
*c Multi-information Display - -