SFI SYSTEM(w/ Canister Pump Module), Diagnostic DTC:P0335

DTC Code DTC Name
P0335 Crankshaft Position Sensor "A" Circuit

DESCRIPTION

The crankshaft position sensor system consists of a crank angle sensor plate (crankshaft) and a pickup coil. The crank angle sensor plate has 34 teeth at 10° intervals (2 teeth are missing for detecting top dead center), and is installed on the crankshaft.

The crankshaft position sensor generates 34 signals per crankshaft revolution. Based on these signals, the ECM calculates the crankshaft position and engine speed. Using these calculations, the fuel injection and ignition timing are controlled.

DTC No.

Detection Item

DTC Detection Condition

Trouble Area

MIL

Memory

P0335

Crankshaft Position Sensor "A" Circuit

Either the following conditions is met (1 trip detection logic):

  • No crankshaft position sensor signal to ECM while engine running.

  • Missing crankshaft position sensor signal despite camshaft position sensor signal inputs normal after engine cranked.

  • Open or short in crankshaft position sensor circuit

  • Crankshaft position sensor

  • Crankshaft (crank angle sensor plate)

  • ECM

Comes on

DTC stored

  • A254144E04

    Reference: Inspection using an oscilloscope

    Tip:
    • The correct waveform is as shown.

    • NE stands for the crankshaft position sensor signal.

    • Grounding failure of the shielded wire may cause a noisy waveform.

    ECM Terminal Name

    Between NE+ and NE-

    Tester Range

    5 V/DIV., 20 ms./DIV.

    Condition

    Idling with warm engine

MONITOR DESCRIPTION

If there is no signal from the crankshaft position sensor despite the crankshaft rotating, the ECM interprets this as a malfunction of the sensor.

MONITOR STRATEGY

Required Sensors/Components (Main)

Crankshaft position sensor

Required Sensors/Components (Related)

Camshaft position sensor

Frequency of Operation

Continuous

CONFIRMATION DRIVING PATTERN

  1. Connect the GTS to the DLC3.

  2. Turn the power switch on (IG) and turn the GTS on.

  3. Clear the DTCs (even if no DTCs are stored, perform the clear DTC procedure).

  4. Turn the power switch off and wait for at least 30 seconds.

  5. Turn the power switch on (IG) and turn the GTS on.

  6. Put the engine in inspection mode (maintenance mode).

    Click here

  7. Start the engine.

  8. Idle the engine for 20 seconds or more [A].

  9. Enter the following menus: Powertrain / Engine and ECT / Trouble Codes [B].

  10. Read the pending DTCs.

    Tip:
    • If a pending DTC is output, the system is malfunctioning.

    • If a pending DTC is not output, perform the following procedure.

  11. Enter the following menus: Powertrain / Engine and ECT / Utility / All Readiness.

  12. Input the DTC: P0335.

  13. Check the DTC judgment result.

    GTS Display

    Description

    NORMAL

    • DTC judgment completed

    • System normal

    ABNORMAL

    • DTC judgment completed

    • System abnormal

    INCOMPLETE

    • DTC judgment not completed

    • Perform driving pattern after confirming DTC enabling conditions

    N/A

    • Unable to perform DTC judgment

    • Number of DTCs which do not fulfill DTC preconditions has reached ECU memory limit

    Tip:
    • If the judgment result shows NORMAL, the system is normal.

    • If the judgment result shows ABNORMAL, the system has a malfunction.

    • If the judgment result shows INCOMPLETE or N/A, perform steps [A] and [B] again.

WIRING DIAGRAM

A255252E25

CAUTION / NOTICE / HINT

Tip:
  • After performing the inspection procedure for the crankshaft position sensor, if DTC P0335 is output again, check the following items related to the camshaft position sensor.

    • Installation condition of the camshaft position sensor.

    • Installation condition of the camshaft.

    • Connection of the camshaft position sensor connector.

  • If no problem is found through this diagnostic troubleshooting procedure, troubleshoot the engine mechanical system.

  • The engine speed can be checked by using the GTS. To perform the check, follow the procedures below:

    1. Connect the GTS to the DLC3.

    2. Turn the power switch on (IG).

    3. Turn the GTS on.

    4. Put the engine in inspection mode (maintenance mode).

      Click here

    5. Start the engine.

    6. Enter the following menus: Powertrain / Engine and ECT / Data List / Primary / Engine Speed.

    • The engine speed may be indicated as zero despite the engine running normally. This is caused by a lack of NE signals from the crankshaft position sensor. Alternatively, the engine speed may be indicated as lower than the actual engine speed if the crankshaft position sensor output voltage is insufficient.

  • Read freeze frame data using the GTS. The ECM records vehicle and driving condition information as freeze frame data the moment a DTC is stored. When troubleshooting, freeze frame data can help determine if the vehicle was moving or stationary, if the engine was warmed up or not, if the air fuel ratio was lean or rich, and other data from the time the malfunction occurred.

PROCEDURE

  1. READ VALUE USING GTS (ENGINE SPEED)

    1. Connect the GTS to the DLC3.

    2. Turn the power switch on (IG).

    3. Turn the GTS on.

    4. Put the engine in inspection mode (maintenance mode).

      Powertrain > Hybrid Control > Utility

      Tester Display

      Inspection Mode

    5. Enter the following menus: Powertrain / Engine and ECT / Data List / Primary / Engine Speed.

      Powertrain > Engine and ECT > Data List

      Tester Display

      Engine Speed

    6. Start the engine.

    7. Read the values displayed on the GTS while the engine is running.

      Standard

      Correct values are displayed.

      Tip:
      • To check the engine speed change, display the graph on the GTS.

      • If the engine does not start, check the engine speed while cranking.

      • If the engine speed indicated on the GTS remains zero (0), there may be an open or short in the crankshaft position sensor circuit.

    Result

    Proceed to

    OK

    NG

    OK

    CHECK FOR INTERMITTENT PROBLEMS

    NG
  2. INSPECT CRANKSHAFT POSITION SENSOR

    1. Inspect the crankshaft position sensor.

      Click here

    Result

    Proceed to

    OK

    NG

    NG

    REPLACE CRANKSHAFT POSITION SENSOR

    OK
  3. CHECK HARNESS AND CONNECTOR (CRANKSHAFT POSITION SENSOR - ECM)

    1. Disconnect the crankshaft position sensor connector.

    2. Disconnect the ECM connector.

    3. Measure the resistance according to the value(s) in the table below.

      Standard Resistance

      Tester Connection

      Condition

      Specified Condition

      B28-1 (NE) - B75-76 (NE+)

      Always

      Below 1 Ω

      B28-2 (NE-) - B75-109 (NE-)

      Always

      Below 1 Ω

      B28-1 (NE) or B75-76 (NE+) - Body ground and other terminals

      Always

      10 kΩ or higher

      B28-2 (NE-) or B75-109 (NE-) - Body ground and other terminals

      Always

      10 kΩ or higher

    Result

    Proceed to

    OK

    NG

    NG

    REPAIR OR REPLACE HARNESS OR CONNECTOR

    OK
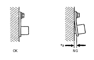
  4. CHECK SENSOR INSTALLATION (CRANKSHAFT POSITION SENSOR)

    B319222C02

    *a

    Clearance

    1. Check the crankshaft position sensor installation condition.

      OK

      Crankshaft position sensor is installed correctly.

    Result

    Proceed to

    OK

    NG

    NG

    SECURELY REINSTALL CRANKSHAFT POSITION SENSOR

    OK
  5. INSPECT CRANKSHAFT (TEETH OF CRANK ANGLE SENSOR PLATE)

    1. Inspect the teeth of the crank angle sensor plate.

      OK

      Crank angle sensor plate does not have any cracks or deformation.

    Result

    Proceed to

    OK

    NG

    OK

    REPLACE ECM

    NG

    REPLACE CRANKSHAFT