СИСТЕМА ОСЕЙ ОБЩИЕ СВЕДЕНИЯ

  1. ОПИСАНИЕ

    1. Передний мост

      1. Используются компактные и высокопрочные двухрядные радиально-упорные шариковые подшипники. Для повышения прочности подшипники и ступица колеса объединены в один узел, что обеспечивает превосходную курсовую устойчивость и устойчивость при торможении.

      2. Во внутреннее кольцо подшипника встроен ротор датчика.

      3. Ступица переднего колеса в сборе надежно крепится накерненной 12-гранной гайкой вала передней полуоси. После снятия эта контргайка не подлежит повторному использованию.

        X123040C01

        *1

        Двухрядный радиально-упорный подшипник

        *2

        Ротор датчика

        *3

        Гайка вала передней полуоси (12-гранная)

        *4

        Ступица переднего колеса в сборе

        Note:
        • Не допускайте приближения к поверхности ротора датчика намагниченных предметов.

        • Не допускайте попадания на поверхность ротора датчика частиц железа, железистого песка, пыли, мусора и масла.

    2. Задний мост

      1. Используются компактные и высокопрочные двухрядные радиально-упорные шариковые подшипники. Для повышения прочности подшипники и ступица колеса объединены в один узел, что обеспечивает превосходную курсовую устойчивость и устойчивость при торможении.

      2. Во внутреннее кольцо подшипника встроен ротор датчика.

      3. На моделях с постоянным полным приводом ступица и подшипник заднего колеса в сборе надежно крепятся накерненной 12-гранной гайкой вала задней полуоси. После снятия эта контргайка не подлежит повторному использованию.

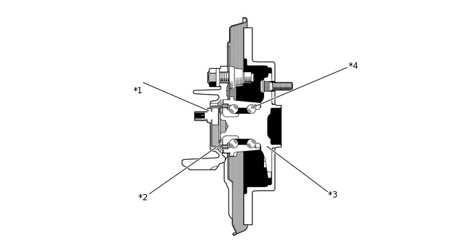
        Figure 1. Для моделей с приводом на одну ось
        X123041C01

        *1

        Задний датчик частоты вращения

        *2

        Ротор датчика

        *3

        Ступица и подшипник заднего колеса в сборе

        *4

        Двухрядный радиально-упорный подшипник

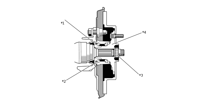
        Figure 2. Для моделей с постоянным полным приводом
        X123042C01

        *1

        Ротор датчика

        *2

        Двухрядный радиально-упорный подшипник

        *3

        Гайка вала задней полуоси (12-гранная)

        *4

        Ступица и подшипник заднего колеса в сборе

        Note:
        • Не допускайте приближения к поверхности ротора датчика намагниченных предметов.

        • Не допускайте попадания на поверхность ротора датчика частиц железа, железистого песка, пыли, мусора и масла.