HYBRID BATTERY SYSTEM, Diagnostic DTC:P0A99-123

DTC Code DTC Name
P0A99-123 Hybrid Battery Pack Cooling Fan 2 Control Circuit Low

DESCRIPTION

Refer to the description for DTC P0A84-123.

Click here

DTC No.

Detection Item

DTC Detection Condition

Trouble Area

MIL

Warning Indicate

P0A99-123

Hybrid Battery Pack Cooling Fan 2 Control Circuit Low

Both of the following conditions are met:

(1 trip detection logic)

  • The speed calculated based on the battery cooling blower assembly LH output frequency (FP1) is not within the target control speed range.

  • The battery cooling blower assembly LH speed is excessively low when a certain level of speed is requested (possibility of an open or short to ground in connected circuits, or motor locking).

  • Hybrid vehicle control ECU

  • Battery voltage sensor

  • Battery cooling blower assembly LH

  • BATT FAN fuse

  • Wire harness or connector

Does not come on

Master Warning Light:

Comes on

Table 1. Related Data List

DTC No.

Data List

P0A99-123

  • Cooling Fan 1

  • Cooling Fan Mode2

  • Cooling Fan Frequency2

  • Data List

  • Temp of Batt TB1 to 6

  • +B

Tip:

"Cooling Fan Frequency2" is detected when the battery cooling blower assembly LH is operating and its value changes in proportion to the battery cooling blower assembly LH speed.

WIRING DIAGRAM

Refer to the wiring diagram for DTC P0A84-123.

Click here

CAUTION / NOTICE / HINT

CAUTION:
  • Before inspecting the high-voltage system, take safety precautions such as wearing insulated gloves and removing the service plug grip to prevent electrical shocks. After removing the service plug grip, put it in your pocket to prevent other technicians from accidentally reconnecting it while you are working on the high-voltage system.

  • After removing the service plug grip, wait for at least 10 minutes before touching any of the high-voltage connectors or terminals. After waiting for 10 minutes, check the voltage at the terminals in the inspection point in the inverter with converter assembly. The voltage should be 0 V before beginning work.

    Click here

    Tip:

    Waiting for at least 10 minutes is required to discharge the high-voltage capacitor inside the inverter with converter assembly.

Note:

After turning the power switch off, waiting time may be required before disconnecting the cable from the negative (-) auxiliary battery terminal. Therefore, make sure to read the disconnecting the cable from the negative (-) auxiliary battery terminal notices before proceeding with work.

Click hereClick hereClick hereClick here

Tip:
  • As the battery cooling blower assembly LH speed is excessively low, there is a possibility of an open or short to ground in connected circuits, or motor locking.

  • After the repair, clear the DTCs and perform the following procedure to check that DTCs are not output.

    1. Connect the GTS to the DLC3.

    2. Turn the power switch on (IG).

    3. Enter the following menus: Powertrain / Hybrid Control / Active Test / Driving the Battery Cooling Fan.

    4. Select fan mode 6 and operate the battery cooling blower assembly LH.

  • Operation of the battery cooling blower assembly LH can be confirmed by checking if air is sucked into the air intake port of the intake duct.

PROCEDURE

  1. CHECK DTC OUTPUT (HYBRID CONTROL)

    Click hereClick here

    Result

    Result

    Proceed to

    P0AFC-123 is not output.

    A

    P0AFC-123 is also output.

    B

    B

    GO TO DTC CHART (P0AFC-123)

    A
  2. PERFORM ACTIVE TEST USING GTS (Driving the Battery Cooling Fan)

    1. Connect the GTS to the DLC3.

    2. Turn the power switch on (IG).

    3. Enter the following menus: Powertrain / Hybrid Control / Clear DTCs.

    4. Clear DTCs and freeze frame data.

      Powertrain > Hybrid Control > Clear DTCs

      Note:

      When DTCs are cleared, freeze frame data and INF codes are also cleared.

    5. Enter the following menus: Powertrain / Hybrid Control / Active Test / Driving the Battery Cooling Fan.

      Powertrain > Hybrid Control > Active Test

      Tester Display

      Measurement Item

      Control Range

      Restrict Condition

      Driving the Battery Cooling Fan

      Battery cooling blower assembly operation and blower volume can be checked.

      The battery cooling blower assembly can be turned off or operated in fan mode 1 through 6.

      -

      Powertrain > Hybrid Control > Active Test

      Tester Display

      Driving the Battery Cooling Fan

    6. Select air volume mode 6 in the "Driving the Battery Cooling Fan" Active Test to operate the battery cooling blower assembly LH.

      Note:

      If the Active Test cannot be performed, skip it and proceed to the next step to check the voltage. In accordance with fail-safe system operation, the hybrid vehicle control ECU sends a command to operate the battery cooling blower assembly LH.

    7. Check that the battery cooling blower assembly LH operates and air is sucked into the inlet duct.

      Tip:

      The battery cooling blower assembly LH may not stop even when turning the cooling fan off in the "Driving the Battery Cooling Fan" Active Test. This is due to HV system control and is not a malfunction.

    8. Turn the power switch off.

    9. Disconnect the GTS from the DLC3.

    Result

    Proceed to

    OK

    NG

    NG

    CHECK FUSE (BATT FAN)Click here

    OK
  3. CHECK HARNESS AND CONNECTOR (BATTERY VOLTAGE SENSOR - BATTERY COOLING BLOWER ASSEMBLY LH)

    CAUTION:

    Be sure to wear insulated gloves.

    1. Check that the service plug grip is not installed.

      Note:

      After removing the service plug grip, do not turn the power switch on (READY), unless instructed by the repair manual because this may cause a malfunction.

    2. Remove the No. 2 hybrid vehicle battery shield reinforcement.

      Click here

    3. Disconnect the battery cooling blower assembly LH connector.

      Click here

      Note:

      Before disconnecting the connector, check that it is not loose or disconnected.

    4. Disconnect the battery voltage sensor connector.

      Note:
      • Before disconnecting the connector, check that it is not loose or disconnected.

      • Check that each connector between the battery voltage sensor and battery cooling blower assembly LH is not loose or disconnected.

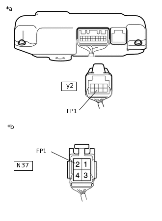
    5. A282765C32

      *a

      Rear view of wire harness connector

      (to Battery Voltage Sensor)

      *b

      Rear view of wire harness connector

      (to Battery Cooling Blower Assembly LH)

      Measure the resistance according to the value(s) in the table below.

      Standard Resistance

      Tester Connection

      Condition

      Specified Condition

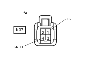
      y2-7 (FP1) - N37-2 (FP1)

      Power switch off

      Below 1 Ω

      N37-2 (FP1) - Body ground and other terminals

      Power switch off

      10 kΩ or higher

    6. Connect the cable to the negative (-) auxiliary battery terminal.

    7. Turn the power switch on (IG).

    8. Measure the voltage according to the value(s) in the table below.

      Standard Voltage

      Tester Connection

      Condition

      Specified Condition

      N37-2 (FP1) - Body ground

      Power switch on (IG)

      Below 1 V

      Note:

      If the power switch is turned on (IG) with the connectors disconnected, other DTCs will be stored. Be sure to clear the DTCs after the inspection.

    9. Turn the power switch off.

    10. Disconnect the cable from the negative (-) auxiliary battery terminal.

    11. Reconnect the battery voltage sensor connector.

    12. Reconnect the battery cooling blower assembly LH connector.

    13. Install the No. 2 hybrid vehicle battery shield reinforcement.

    Result

    Proceed to

    OK

    NG

    NG

    REPAIR OR REPLACE HARNESS OR CONNECTOR

    OK
  4. READ VALUE USING GTS (COOLING FAN FREQUENCY)

    CAUTION:

    Be sure to wear insulated gloves.

    1. Check that the service plug grip is not installed.

      Note:

      After removing the service plug grip, do not turn the power switch on (READY), unless instructed by the repair manual because this may cause a malfunction.

    2. Remove the No. 2 tool box sub-assembly.

      Click here

    3. Connect the cable to the negative (-) auxiliary battery terminal.

    4. Connect the GTS to the DLC3.

    5. Turn the power switch on (IG).

    6. Enter the following menus: Powertrain / Hybrid Control / Trouble Codes.

    7. Clear the DTCs and freeze frame data.

      Powertrain > Hybrid Control > Clear DTCs

      Note:

      When DTCs are cleared, freeze frame data and INF codes are also cleared.

    8. Enter the following menus: Powertrain / Hybrid Control / Active Test / Driving the Battery Cooling Fan.

      Powertrain > Hybrid Control > Active Test

      Tester Display

      Measurement Item

      Control Range

      Restrict Condition

      Driving the Battery Cooling Fan

      Battery cooling blower assembly operation and blower volume

      OFF, 1, 2, 3, 4, 5, 6

      -

      Powertrain > Hybrid Control > Active Test

      Tester Display

      Driving the Battery Cooling Fan

    9. Enter the following menus: Powertrain / Hybrid Control / Data List / Cooling Fan Frequency2.

      Powertrain > Hybrid Control > Data List

      Tester Display

      Cooling Fan Frequency2

    10. Select each air volume mode (1 to 6) in the "Driving the Battery Cooling Fan" Active Test to operate the battery cooling blower assembly LH.

      Note:

      If the Active Test cannot be performed, skip it and proceed to the next step to check the frequency value. In accordance with fail-safe system operation, the hybrid vehicle control ECU assembly sends a command to operate the battery cooling fan assembly LH.

    11. C297243C14

      *a

      Component with harness connected

      (Battery Cooling Blower Assembly LH)

      *b

      Rear view of wire harness connector

      (to Battery Cooling Blower Assembly LH)

      While the cooling fan is operating, compare the value in the Data List (Cooling Fan Frequency2) with the frequency value that was actually measured at the battery cooling blower assembly LH connector.

      Specified Condition

      Tester Connection

      Condition

      N37-2 (FP1) - N37-4 (GND1)

      Battery cooling blower assembly LH is operating.

      Note:

      Turning the power switch on (IG) with the service plug grip removed causes other DTCs to be stored. Clear the DTCs after performing this inspection.

      Tip:

      Compare the values in each air volume mode (1 to 6). If the Active Test cannot be performed, compare the values only in the current air volume mode.

    12. Turn the power switch off.

    13. Disconnect the GTS from the DLC3.

    14. Disconnect the cable from the negative (-) auxiliary battery terminal.

    15. Install the No. 2 tool box sub-assembly.

    Result

    Result

    Proceed to

    The value in the Data List (Cooling Fan Frequency2) and the actual measured value at the battery cooling blower assembly LH connector are 0 Hz.

    A

    Other than above

    B

    B

    CHECK BATTERY VOLTAGE SENSOR (FREQUENCY)Click here

    A
  5. CHECK BATTERY VOLTAGE SENSOR

    1. Check that the service plug grip is not installed.

      Note:

      After removing the service plug grip, do not turn the power switch on (READY), unless instructed by the repair manual because this may cause a malfunction.

    2. Remove the No. 2 tool box sub-assembly.

      Click here

    3. Disconnect the battery cooling blower assembly LH connector.

      Note:

      Before disconnecting the connector, check that it is not loose or disconnected.

    4. Connect the cable to the negative (-) auxiliary battery terminal.

    5. Turn the power switch on (IG).

    6. A221313C75

      *a

      Rear view of wire harness connector

      (to Battery Cooling Blower Assembly LH)

      Measure the voltage according to the value(s) in the table below.

      Standard Voltage

      Tester Connection

      Condition

      Specified Condition

      N37-2 (FP1) - N37-4 (GND1)

      Power switch on (IG)

      4.5 to 5.5 V

      Note:
      • Turning the power switch on (IG) with the service plug grip removed causes other DTCs to be stored. Clear the DTCs after performing this inspection.

      • If the power switch is turned on (IG) with the connectors disconnected, other DTCs will be stored. Be sure to clear the DTCs after the inspection.

    7. Turn the power switch off.

    8. Disconnect the cable from the negative (-) auxiliary battery terminal.

    9. Reconnect the battery cooling blower assembly LH connector.

    10. Install the No. 1 tool box sub-assembly.

    Result

    Proceed to

    OK

    NG

    OK

    REPLACE BATTERY COOLING BLOWER ASSEMBLY LH

    NG

    REPLACE BATTERY VOLTAGE SENSOR

  6. CHECK BATTERY VOLTAGE SENSOR (FREQUENCY)

    CAUTION:

    Be sure to wear insulated gloves.

    1. Check that the service plug grip is not installed.

      Note:

      After removing the service plug grip, do not turn the power switch on (READY), unless instructed by the repair manual because this may cause a malfunction.

    2. Remove the No. 2 tool box sub-assembly.

      Click here

    3. Connect the cable to the negative (-) auxiliary battery terminal.

    4. Connect the GTS to the DLC3.

    5. Turn the power switch on (IG).

    6. Enter the following menus: Powertrain / Hybrid Control / Clear DTCs.

    7. Clear the DTCs and freeze frame data.

      Powertrain > Hybrid Control > Clear DTCs

      Note:

      When DTCs are cleared, freeze frame data and INF codes are also cleared.

    8. Enter the following menus: Powertrain / Hybrid Control / Active Test / Driving the Battery Cooling Fan.

      Powertrain > Hybrid Control > Active Test

      Tester Display

      Measurement Item

      Control Range

      Restrict Condition

      Driving the Battery Cooling Fan

      Battery cooling blower assembly operation and blower volume can be checked.

      The battery cooling blower assembly can be turned off or operated in fan mode 1 through 6.

      -

      Powertrain > Hybrid Control > Active Test

      Tester Display

      Driving the Battery Cooling Fan

    9. Enter the following menus: Powertrain / Hybrid Control / Data List / Cooling Fan Frequency2.

      Powertrain > Hybrid Control > Data List

      Tester Display

      Cooling Fan Frequency2

    10. Select each air volume mode (1 to 6) in the "Driving the Battery Cooling Fan" Active Test to operate the battery cooling blower assembly LH.

      Note:

      If the Active Test cannot be performed, skip it and proceed to the next step to check the frequency value. In accordance with fail-safe system operation, the hybrid vehicle control ECU sends a command to operate the battery cooling fan assembly LH.

    11. C297243C15

      *a

      Component with harness connected

      (Battery Cooling Blower Assembly LH)

      *b

      Rear view of wire harness connector

      (to Battery Cooling Blower Assembly LH)

      While the cooling fan is operating, compare the value in the Data List (Cooling Fan Frequency2) with the frequency value that was actually measured at the battery cooling blower assembly LH connector.

      Specified Condition

      Tester Connection

      Condition

      Specified Condition

      N37-2 (FP1) - N37-4 (GND1)

      Battery cooling blower assembly LH is operating.

      Difference between the value in the Data List (Cooling Fan Frequency2) and the actual measurement value is 10% or less.

      Note:

      Turning the power switch on (IG) with the service plug grip removed causes other DTCs to be stored. Clear the DTCs after performing this inspection.

      Tip:

      Compare the values in each air volume mode (1 to 6). If the Active Test cannot be performed, compare the values only in the current air volume mode.

    12. Turn the power switch off.

    13. Disconnect the GTS from the DLC3.

    14. Disconnect the cable from the negative (-) auxiliary battery terminal.

    15. Install the No. 2 tool box sub-assembly.

    Result

    Proceed to

    OK

    NG

    OK

    REPLACE BATTERY COOLING BLOWER ASSEMBLY LH

    NG

    REPLACE BATTERY VOLTAGE SENSOR

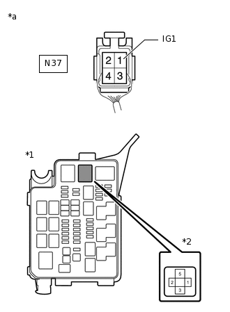
  7. CHECK FUSE (BATT FAN)

    1. B434402C02

      *1

      No. 2 Engine Room Relay Block

      *2

      BATT FAN Fuse

      Remove the BATT FAN fuse from the No. 2 engine room relay block.

    2. Measure the resistance of the BATT FAN fuse.

      Standard Resistance

      Tester Connection

      Condition

      Specified Condition

      BATT FAN fuse

      Power switch off

      Below 1 Ω

    3. Install the BATT FAN fuse to the No. 2 engine room relay block.

    Result

    Proceed to

    OK

    NG

    NG

    CHECK HARNESS AND CONNECTOR (BATT FAN FUSE - BATTERY COOLING BLOWER ASSEMBLY LH)Click here

    OK
  8. CHECK HARNESS AND CONNECTOR (IGCT RELAY - BATTERY COOLING BLOWER ASSEMBLY LH) (VOLTAGE)

    1. Check that the service plug grip is not installed.

      Note:

      After removing the service plug grip, do not turn the power switch on (READY), unless instructed by the repair manual because this may cause a malfunction.

    2. Remove the No. 2 tool box sub-assembly.

      Click here

    3. Connect the cable to the negative (-) auxiliary battery terminal.

    4. Connect the GTS to the DLC3.

    5. Turn the power switch on (IG).

    6. Enter the following menus: Powertrain / Hybrid Control / Clear DTCs.

    7. Clear the DTCs and freeze frame data.

      Powertrain > Hybrid Control > Clear DTCs

      Note:

      When DTCs are cleared, freeze frame data and INF codes are also cleared.

    8. C297243C26

      *a

      Component with harness connected

      (Battery Cooling Blower Assembly LH)

      *b

      Rear view of wire harness connector

      (to Battery Cooling Blower Assembly LH)

      Measure the voltage according to the value(s) in the table below.

      Standard Voltage

      Tester Connection

      Condition

      Specified Condition

      N37-1 (IG1) - N37-4 (GND1)

      Power switch on (IG)

      11 to 14 V

      Note:

      When taking a measurement with a tester, do not apply excessive force to the tester probe to avoid damaging the holder.

      Tip:

      Perform this inspection with the battery cooling blower assembly LH connector connected.

    9. Turn the power switch off.

    10. Disconnect the GTS from the DLC3.

    11. Disconnect the cable from the negative (-) auxiliary battery terminal.

    12. Install the No. 2 tool box sub-assembly.

    Result

    Proceed to

    OK

    NG

    NG

    CHECK HARNESS AND CONNECTOR (BATTERY COOLING BLOWER ASSEMBLY LH - BODY GROUND)Click here

    OK
  9. CHECK HARNESS AND CONNECTOR (HYBRID VEHICLE CONTROL ECU - BATTERY COOLING BLOWER ASSEMBLY LH)

    1. Check that the service plug grip is not installed.

      Note:

      After removing the service plug grip, do not turn the power switch on (READY), unless instructed by the repair manual because this may cause a malfunction.

    2. Remove the No. 2 tool box sub-assembly.

      Click here

    3. Disconnect the battery cooling blower assembly LH connector.

      Note:

      Before disconnecting the connector, check that it is not loose or disconnected.

    4. Disconnect the hybrid vehicle control ECU connector.

      Note:
      • Before disconnecting the connector, check that it is not loose or disconnected.

      • Check that each connector between the hybrid vehicle control ECU and battery cooling blower assembly LH is not loose or disconnected.

    5. C306746C38

      *a

      Rear view of wire harness connector

      (to Hybrid Vehicle Control ECU)

      *b

      Rear view of wire harness connector

      (to Battery Cooling Blower Assembly LH)

      Measure the resistance according to the value(s) in the table below.

      Standard Resistance

      Tester Connection

      Condition

      Specified Condition

      G194-18 (SI1) - N37-3 (SI1)

      Power switch off

      Below 1 Ω

      N37-3 (SI1) - Body ground and other terminals

      Power switch off

      10 kΩ or higher

    6. Connect the cable to the negative (-) auxiliary battery terminal.

    7. Turn the power switch on (IG).

    8. Measure the voltage according to the value(s) in the table below.

      Standard Voltage

      Tester Connection

      Condition

      Specified Condition

      N37-3 (SI1) - Body ground

      Power switch on (IG)

      Below 1 V

      Note:

      If the power switch is turned on (IG) with the connectors disconnected, other DTCs will be stored. Be sure to clear the DTCs after the inspection.

    9. Turn the power switch off.

    10. Disconnect the cable from the negative (-) auxiliary battery terminal.

    11. Reconnect the battery cooling blower assembly LH connector.

    12. Install the No. 2 tool box sub-assembly.

    13. Reconnect the hybrid vehicle control ECU connector.

    Result

    Proceed to

    OK

    NG

    NG

    REPAIR OR REPLACE HARNESS OR CONNECTOR

    OK
  10. CHECK HYBRID VEHICLE CONTROL ECU

    1. Remove the hybrid vehicle control ECU.

      Click here

    2. A409192C29

      *a

      Component without harness connected

      (Hybrid Vehicle Control ECU)

      Measure the resistance according to the value(s) in the table below.

      Standard Resistance

      Tester Connection

      Switch Condition

      Specified Condition

      G194-18 (SI1) - G193-5 (E01)

      Power switch off

      10 kΩ or higher

    3. Install the hybrid vehicle control ECU.

    Result

    Proceed to

    OK

    NG

    NG

    REPLACE HYBRID VEHICLE CONTROL ECU

    OK
  11. CHECK HYBRID VEHICLE CONTROL ECU (SI1 VOLTAGE)

    1. Turn the power switch on (IG).

    2. C384172C37

      *a

      Component with harness connected

      (Hybrid Vehicle Control ECU)

      Measure the voltage according to the value(s) in the table below.

      Standard Voltage

      Tester Connection

      Switch Condition

      Specified Condition

      G194-18 (SI1) - G193-5 (E01)

      Power switch on (IG)

      4.5 to 5.5 V

    3. Turn the power switch off.

    Result

    Proceed to

    OK

    NG

    NG

    REPLACE BATTERY COOLING BLOWER ASSEMBLY LH

    OK
  12. CHECK BATTERY COOLING BLOWER ASSEMBLY LH

    1. Check that the service plug grip is not installed.

      Note:

      After removing the service plug grip, do not turn the power switch on (READY), unless instructed by the repair manual because this may cause a malfunction.

    2. Remove the No. 2 tool box sub-assembly.

      Click here

    3. Connect the cable to the negative (-) auxiliary battery terminal.

    4. Connect the GTS to the DLC3.

    5. Turn the power switch on (IG).

    6. Enter the following menus: Powertrain / Hybrid Control / Trouble Codes.

    7. Clear the DTCs and freeze frame data.

      Powertrain > Hybrid Control > Clear DTCs

      Note:

      When DTCs are cleared, freeze frame data and INF codes are also cleared.

    8. Enter the following menus: Powertrain / Hybrid Control / Active Test / Driving the Battery Cooling Fan.

      Powertrain > Hybrid Control > Active Test

      Tester Display

      Measurement Item

      Control Range

      Restrict Condition

      Driving the Battery Cooling Fan

      Battery cooling blower assembly operation and blower volume

      OFF, 1, 2, 3, 4, 5, 6

      -

      Powertrain > Hybrid Control > Active Test

      Tester Display

      Driving the Battery Cooling Fan

    9. Select each air volume mode (1 to 6) in the "Driving the Battery Cooling Fan" Active Test to operate the battery cooling blower assembly LH.

      Note:

      If the Active Test cannot be performed, skip it and proceed to the next step to check the waveform. In accordance with fail-safe system operation, the hybrid vehicle control ECU assembly sends a command to operate the battery cooling blower assembly LH.

    10. C297243C17

      *a

      Component with harness connected

      (Battery Cooling Blower Assembly LH)

      *b

      Rear view of wire harness connector

      (to Battery Cooling Blower Assembly LH)

      Connect an oscilloscope to the battery cooling blower assembly LH connector and check the waveform.

      Item

      Content

      Tester Connection

      N37-3 (SI1) - N37-4 (GND1)

      Equipment Setting

      10 V/DIV.,1 ms/DIV.

      Condition

      Power switch on (IG) during Active Test

      Note:

      Turning the power switch on (IG) with the service plug grip removed causes other DTCs to be stored. Clear the DTCs after performing this inspection.

      Tip:
      • Perform this inspection with the battery cooling blower assembly LH connector connected.

      • The frequency of the waveform will vary with the operating speed of the battery cooling blower assembly LH.

    11. Turn the power switch off.

    12. Disconnect the cable from the negative (-) auxiliary battery terminal.

    13. A284431C01

      *a

      Waveform 1

      Install the No. 2 tool box sub-assembly.

    Result

    Result

    Proceed to

    Normal (The pulse output of waveform 1)

    A

    No pulse generation

    B

    A

    REPLACE BATTERY COOLING BLOWER ASSEMBLY LH

    B

    REPLACE HYBRID VEHICLE CONTROL ECU

  13. CHECK HARNESS AND CONNECTOR (BATTERY COOLING BLOWER ASSEMBLY LH - BODY GROUND)

    1. Check that the service plug grip is not installed.

      Note:

      After removing the service plug grip, do not turn the power switch on (READY), unless instructed by the repair manual because this may cause a malfunction.

    2. Remove the No. 2 tool box sub-assembly.

      Click here

    3. C297243C25

      *a

      Component with harness connected

      (Battery Cooling Blower Assembly LH)

      *b

      Rear view of wire harness connector

      (to Battery Cooling Blower Assembly LH)

      Measure the resistance according to the value(s) in the table below.

      Standard Resistance

      Tester Connection

      Condition

      Specified Condition

      N37-4 (GND1) - Body ground

      Power switch off

      Below 1 Ω

      Note:

      When taking a measurement with a tester, do not apply excessive force to the tester probe to avoid damaging the holder.

    4. Install the No. 2 tool box sub-assembly.

    Result

    Proceed to

    OK

    NG

    NG

    REPAIR OR REPLACE HARNESS OR CONNECTOR

    OK
  14. CHECK HARNESS AND CONNECTOR (HYBRID VEHICLE CONTROL ECU - BODY GROUND)

    1. Disconnect the hybrid vehicle control ECU connector.

      Note:

      Before disconnecting the connector, check that it is not loose or disconnected.

    2. A212482C61

      *a

      Rear view of wire harness connector

      (to Hybrid Vehicle Control ECU)

      Measure the resistance according to the value(s) in the table below.

      Standard Resistance

      Tester Connection

      Condition

      Specified Condition

      G193-5 (E01) - Body ground

      Power switch off

      Below 1 Ω

    3. Reconnect the hybrid vehicle control ECU connector.

    Result

    Proceed to

    OK

    NG

    NG

    REPAIR OR REPLACE HARNESS OR CONNECTOR

    OK
  15. CHECK HARNESS AND CONNECTOR (HYBRID VEHICLE CONTROL ECU - BODY GROUND)

    1. Disconnect the hybrid vehicle control ECU connector.

      Note:

      Before disconnecting the connector, check that it is not loose or disconnected.

    2. A212483C62

      *a

      Rear view of wire harness connector

      (to Hybrid Vehicle Control ECU)

      Measure the resistance according to the value(s) in the table below.

      Standard Resistance

      Tester Connection

      Condition

      Specified Condition

      G194-5 (E02) - Body ground

      Power switch off

      Below 1 Ω

    3. Reconnect the hybrid vehicle control ECU connector.

    Result

    Proceed to

    OK

    NG

    NG

    REPAIR OR REPLACE HARNESS OR CONNECTOR

    OK
  16. CHECK HARNESS AND CONNECTOR (IGCT RELAY - BATTERY COOLING BLOWER ASSEMBLY LH)

    1. Check that the service plug grip is not installed.

      Note:

      After removing the service plug grip, do not turn the power switch on (READY), unless instructed by the repair manual because this may cause a malfunction.

    2. Remove the IGCT relay from the No. 2 engine room relay block.

    3. Remove the No. 2 tool box sub-assembly.

      Click here

    4. Disconnect the battery cooling blower assembly LH connector.

      Note:
      • Before disconnecting the connector, check that it is not loose or disconnected.

      • Check that each connector between the IGCT relay and battery cooling blower assembly LH is not loose or disconnected.

    5. B434403C04

      *a

      Rear view of wire harness connector

      (to Battery Cooling Blower Assembly LH)

      *1

      No. 2 Engine Room Relay Block

      *2

      IGCT Relay Holder

      Measure the resistance according to the value(s) in the table below.

      Standard Resistance

      Tester Connection

      Condition

      Specified Condition

      IGCT relay terminal 5 - N37-1 (IG1)

      Power switch off

      Below 1 Ω

      Note:

      When taking a measurement with a tester, do not apply excessive force to the tester probe to avoid damaging the holder.

    6. Reconnect the battery cooling blower assembly LH connector.

    7. Install the No. 2 tool box sub-assembly.

    8. Install the IGCT relay to the No. 2 engine room relay block.

    Result

    Proceed to

    OK

    NG

    OK

    REPLACE HYBRID VEHICLE CONTROL ECU

    NG

    REPAIR OR REPLACE HARNESS OR CONNECTOR

  17. CHECK HARNESS AND CONNECTOR (BATT FAN FUSE - BATTERY COOLING BLOWER ASSEMBLY LH)

    1. Check that the service plug grip is not installed.

      Note:

      After removing the service plug grip, do not turn the power switch on (READY), unless instructed by the repair manual because this may cause a malfunction.

    2. Remove the BATT FAN fuse from the No. 2 engine room relay block.

    3. Remove the No. 2 tool box sub-assembly.

      Click here

    4. Disconnect the battery cooling blower assembly LH connector.

      Note:
      • Before disconnecting the connector, check that it is not loose or disconnected.

      • Check that each connector between the BATT FAN fuse and battery cooling blower assembly LH is not loose or disconnected.

    5. B434404C04

      *a

      Rear view of wire harness connector

      (to Battery Cooling Blower Assembly LH)

      *1

      No. 2 Engine Room Relay Block

      *2

      BATT FAN Fuse Holder

      Measure the resistance according to the value(s) in the table below.

      Standard Resistance

      Tester Connection

      Condition

      Specified Condition

      N37-1 (IG1) - Terminals other than 2 (BATT FAN fuse) and body ground

      Power switch off

      10 kΩ or higher

      Note:

      When taking a measurement with a tester, do not apply excessive force to the tester probe to avoid damaging the holder.

    6. Reconnect the battery cooling blower assembly LH connector.

    7. Install the No. 2 tool box sub-assembly.

    8. Install the BATT FAN fuse to the No. 2 engine room relay block.

    Result

    Proceed to

    OK

    NG

    NG

    REPAIR OR REPLACE HARNESS OR CONNECTORClick here

    OK
  18. CHECK BATTERY COOLING BLOWER ASSEMBLY LH

    1. Check that the service plug grip is not installed.

      Note:

      After removing the service plug grip, do not turn the power switch on (READY), unless instructed by the repair manual because this may cause a malfunction.

    2. Remove the No. 2 tool box sub-assembly.

      Click here

    3. Disconnect the battery cooling blower assembly LH connector.

      Note:

      Before disconnecting the connector, check that it is not loose or disconnected.

    4. A221313C76

      *a

      Component without harness connected

      (Battery Cooling Blower Assembly LH)

      Measure the resistance according to the value(s) in the table below.

      Standard Resistance

      Tester Connection

      Condition

      Specified Condition

      N37-1 (IG1) - N37-4 (GND1) and Body ground

      Power switch off

      10 kΩ or higher

      Note:

      When taking a measurement with a tester, do not apply excessive force to the tester probe to avoid damaging the holder.

    5. Reconnect the battery cooling blower assembly LH connector.

    6. Install the No. 2 tool box sub-assembly.

    Result

    Proceed to

    OK

    NG

    OK

    REPLACE FUSE (BATT FAN)

    NG
  19. REPLACE BATTERY COOLING BLOWER ASSEMBLY LH

    Click here

    Result

    Proceed to

    NEXT

    NEXT

    REPLACE FUSE (BATT FAN)

  20. REPAIR OR REPLACE HARNESS OR CONNECTOR

    Result

    Proceed to

    NEXT

    NEXT

    REPLACE FUSE (BATT FAN)