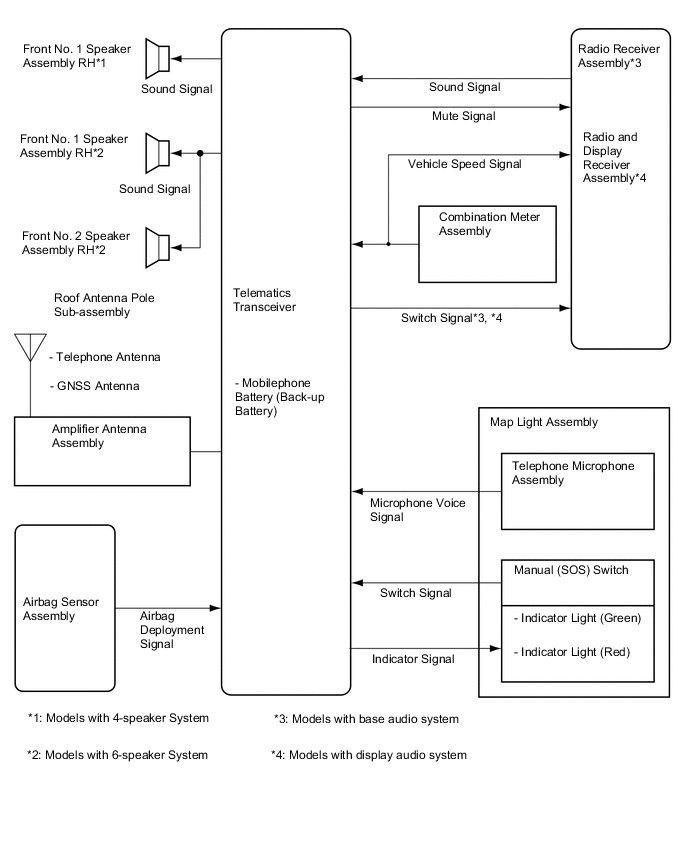
TELEMATICS SYSTEM

A01WBWME01