PANORAMIC VIEW MONITOR SYSTEM CALIBRATION

  1. ADJUST PANORAMIC VIEW MONITOR SYSTEM

    1. This panoramic view monitor system can be set from the diagnostic screen of the radio and display receiver assembly.

    2. If the following operations are performed, it is necessary to perform adjustments and checks on the diagnostic screen.

      Part Name

      Operation

      Adjustment Item

      Proceed to

      Spiral with sensor cable sub-assembly

      • Removal and installation of the spiral with sensor cable sub-assembly

      • Removal and installation of the connector of the spiral with sensor cable sub-assembly

      • Replacement

      Steering angle neutral point (Initialize panoramic view monitor system)

      Procedure 9

      Parking assist ECU

      Replacement

      Parking assist ECU initialization

      Procedure 2

      Procedure 7

      Procedure 8

      Adjust steering angle

      Procedure 9

      Suspension, tires, etc.

      The vehicle height changes because of suspension or tire replacement

      Adjust steering angle

      Procedure 9

      Rear television camera assembly

      • Replacement

      • Installation angle of the rear television camera changes because of the removal and installation of the rear television camera, etc.

      Rear television camera view adjustment

      Procedure 2

      Procedure 4

      Procedure 8

      Front television camera assembly

      • Replacement

      • Installation angle of the front television camera changes because of the removal and installation of the front television camera, etc.

      Front television camera view adjustment

      Procedure 2

      Procedure 3

      Procedure 8

      Side television camera assembly LH

      Outer rear view mirror assembly LH

      • Replacement

      • Installation angle of the side television camera changes because of the removal and installation of the side television camera, etc.

      Side television camera view adjustment

      Procedure 3

      Procedure 5

      Procedure 8

      Side television camera assembly RH

      Outer rear view mirror assembly RH

      • Replacement

      • Installation angle of the side television camera changes because of the removal and installation of the side television camera, etc.

      Side television camera view adjustment

      Procedure 3

      Procedure 6

      Procedure 8

      • Front television camera assembly or radiator grille assembly

      • Rear television camera assembly

      • Side television camera assembly LH or outer rear view mirror assembly LH

      • Side television camera assembly RH or outer rear view mirror assembly RH

      Replacement or removal and installation of 2 or more parts

      Television camera view adjustment

      Procedure 2

      Procedure 7

      Procedure 8

      Tip:

      The adjustment values stored while performing panoramic view monitor system calibration are stored in the parking assist ECU.

  2. Procedure 1: PRE-WORK CHECKS

    1. Preliminary checks

      Note:
      • Provide shadow to prevent backlight from hitting the camera.

      • Use string that does not stretch.

      • Secure the check markers with adhesive tape. When placing the markers, make them 100 mm (3.94 in.) wide.

      1. Perform the work at a wide, level location (4000 to 7100 mm [13.12 to 23.29 ft.]).

      2. Park the vehicle on a flat surface with the steering wheel centered.

        Note:

        Before stopping the vehicle, move the vehicle backward and forward to ensure that both the steering wheel and the tires point straight ahead.

      3. Adjust the tire pressure to the specified value(s).

      4. Remove all luggage from the vehicle before starting work.

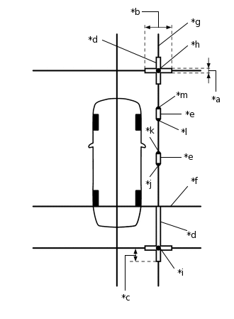
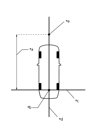
    2. Marker locations

      1. Secure the string to the locations required to make the checks and set markers as shown in the illustration.

        • E287135C01

          *a

          Cross Check Marker

          *b

          Check Marker

          *c

          String 1

          *d

          String 2

          *e

          String 3

          Front camera adjustment only

        • E287136C01

          *a

          Cross Check Marker

          *b

          Check Marker

          *c

          String 1

          *d

          String 2

          *e

          String 4

          Rear camera adjustment only

        • E287137C01

          *a

          Cross Check Marker

          *b

          Check Marker

          *c

          String 1

          *d

          String 2

          *e

          String 3

          *f

          String 4

          *g

          String 5

          Left camera adjustment only

        • E287138C01

          *a

          Cross Check Marker

          *b

          Check Marker

          *c

          String 1

          *d

          String 2

          *e

          String 3

          *f

          String 4

          *g

          String 6

          Right camera adjustment only

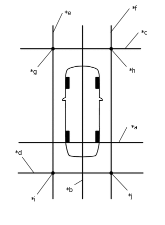
        • Adjustment of 4 cameras

          E287104C01

          *a

          Cross Check Marker

          *b

          Check Marker

          *c

          String 1

          *d

          String 2

          *e

          String 3

          *f

          String 4

          *g

          String 5

          *h

          String 6

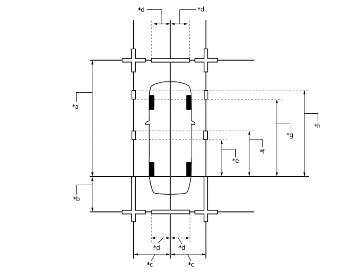
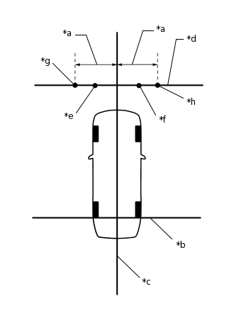
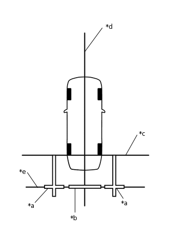
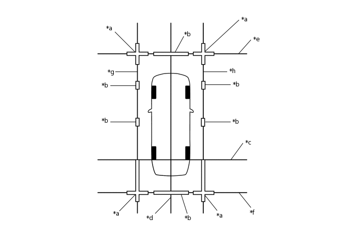
    3. Marker positions

      1. Set the check markers at the positions shown in the illustration.

        E287105C01

        *a

        4900 mm (16.1 ft.)

        *b

        1300 mm (4.26 ft.)

        *c

        1500 mm (4.92 ft.)

        *d

        693 mm (2.27 ft.)

        *e

        1700 mm (5.58 ft.)

        *f

        1900 mm (6.23 ft.)

        *g

        3000 mm (9.84 ft.)

        *h

        3200 mm (10.50 ft.)

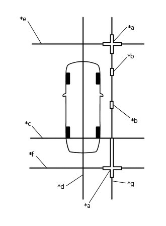
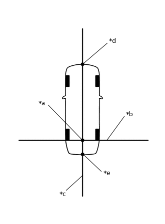
  3. PROCEDURE 2: SET DATUM POINTS

    1. Extend the datum line (string 1).

      1. E370179C01

        *1

        Rear Bumper Cover

        *2

        Rear Bumper Lower Cover

        *3

        Center Quarter Outside Moulding LH

        *a

        Mark A

        *b

        Weight

        *c

        Top position of thread

        Hang a weight with a pointed tip at the location where the joints (contact surface) of the rear bumper cover, rear bumper lower cover and center quarter outside moulding LH meet and accurately mark the center position on the road surface. (Mark A)

        Note:

        Make sure that the weight hangs straight down from the string.

      2. Repeat the procedure to mark the right side. (Mark B)

      3. E287139C01

        *a

        String 1

        *b

        Mark A

        *c

        Mark B

        Secure string 1 so that it passes through marks A and B on the left and right sides.

        Note:

        When securing the string, check that there is no slack and the string is not twisted.

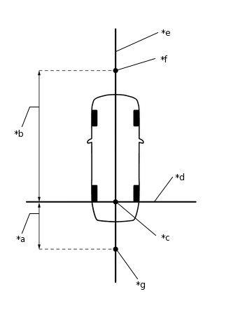
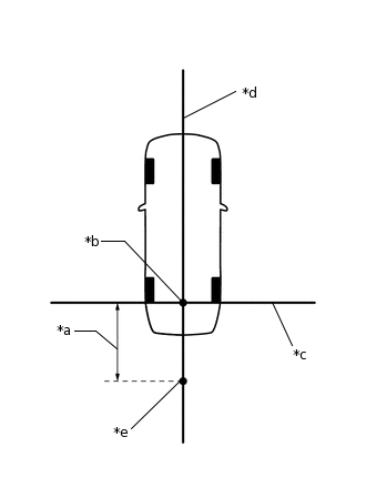
    2. Extend the vehicle center line (string 2).

      1. Hang a weight with a pointed tip such that is passes through the center of the front television camera assembly and accurately mark the center position on the road surface. (Mark C)

        E335947C01

        *1

        Front Television Camera Assembly

        -

        -

        *a

        Center Point

        *b

        Weight

        *c

        String

        *d

        Mark C

      2. Hang a weight with a pointed tip from the center of the rear emblem and accurately mark the center position on the road surface. (Mark D)

        E335948C01

        *a

        Center

        *b

        Weight

        *c

        String

        *d

        Mark D

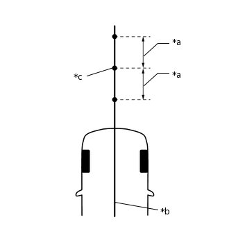
      3. E287140C01

        *a

        Datum Point

        *b

        String 1

        *c

        String 2

        *d

        Mark C

        *e

        Mark D

        Secure string 2 so that it passes through marks C and D at the front and rear of the vehicle.

        Note:

        When securing string 2, check that there is no slack and the string is not twisted.

        Tip:

        Set the point where strings 1 and 2 intersect as the datum point.

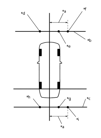
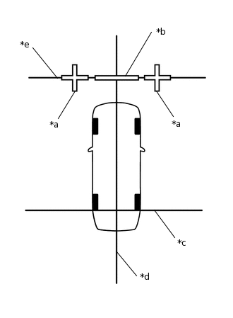
  4. PROCEDURE 3: SET MARKERS (when checking front)

    1. E287141C01

      *a

      4900 mm (16.1 ft.)

      *b

      Datum Point

      *c

      String 1

      *d

      String 2

      *e

      Mark E

      In front of the vehicle, extend string 3 perpendicular to the vehicle center line (string 2), and place a marker.

      1. Mark the position on string 2 in front of the vehicle, 4900 mm (16.1 ft.) from the datum point. (Mark E)

      2. E275619C01

        *a

        400 mm (1.31 ft.)

        *b

        String 2

        *c

        Mark E

        Fix the ends of 2 strings (800 mm [2.62 ft.] long) at 2 positions 400 mm (1.31 ft.) from mark E as shown in the illustration.

      3. Move the free ends of the 2 strings and mark the point where the ends meet. (Marks F and G)

        E271119C06

        *a

        800 mm (2.62 ft.) String

        *b

        String 2

        *c

        Mark E

        *d

        Mark F

        *e

        Mark G

        -

        -

      4. E287142C01

        *a

        1500 mm (4.92 ft.)

        *b

        String 1

        *c

        String 2

        *d

        String 3

        *e

        Mark F

        *f

        Mark G

        *g

        Mark H

        *h

        Mark I

        Secure string 3 so that it passes through marks F and G as shown in the illustration.

        Note:

        When securing the string, check that there is no slack and the string is not twisted.

      5. Mark positions on string 3, 1500 mm (4.92 ft.) to the left and right of the vehicle center line (string 2). (Marks H and I).

      6. E287109C01

        *a

        800 mm (2.62 ft.)

        *b

        100 mm (0.33 ft.)

        *c

        Cross Check Marker

        *d

        Check Marker

        *e

        Mark F

        *f

        Mark G

        *g

        Mark H

        *h

        Mark I

        Place and secure the cross check markers, centered on marks H and I.

        Note:
        • Align the cross check markers perpendicular to the string.

        • Make each arm of the cross check markers 800 mm (2.62 ft.) long and 100 mm (0.33 ft.) wide.

      7. Place the check marker between marks F and G.

      8. Perform camera view adjustment (calibration) (procedure 8).

  5. PROCEDURE 4: SET MARKERS (When checking rear)

    1. To the rear of the vehicle, extend string 4 perpendicular to the vehicle center line (string 2), and place a check marker.

      1. E287143C01

        *a

        1300 mm (4.26 ft.)

        *b

        Datum Point

        *c

        String 1

        *d

        String 2

        *e

        Mark J

        Mark a position on string 2 to the rear of the vehicle, 1300 mm (4.26 ft.) from the datum point. (Mark J)

      2. E287110C01

        *a

        400 mm (1.31 ft.)

        *b

        String 1

        *c

        String 2

        *d

        Mark J

        Fix the ends of 2 strings (800 mm [2.62 ft.]) at 2 positions 400 mm (1.31 ft.) from mark J as shown in the illustration.

      3. Move the free ends of the 2 strings and mark the point where the ends meet. (Marks K and L)

        E287111C01

        *a

        800 mm String

        *b

        String 1

        *c

        String 2

        *d

        Mark J

        *e

        Mark K

        *f

        Mark L

      4. E287144C01

        *a

        1500 mm (4.92 ft.)

        *b

        String 1

        *c

        String 2

        *d

        String 4

        *e

        Mark K

        *f

        Mark L

        *g

        Mark M

        *h

        Mark N

        Secure string 4 so that it passes through marks K and L as shown in the illustration.

        Note:

        When securing the string, check that there is no slack and the string is not twisted.

      5. Mark positions on string 4, 1500 mm (4.92 ft.) to the left and right of the vehicle center line (string 2). (Marks M and N)

      6. E287106C01

        *a

        800 mm (2.62 ft.)

        *b

        100 mm (0.33 ft.)

        *c

        400 mm (1.31 ft.)

        *d

        Cross Check Marker

        *e

        Check Marker

        *f

        String 1

        *g

        Mark K

        *h

        Mark L

        *i

        Mark M

        *j

        Mark N

        Place and secure the cross check markers, centered on marks M and N.

        Note:
        • Align the cross check markers perpendicular to the string.

        • Make each arm of the cross check markers 800 mm (2.62 ft.) long and 100 mm (1.31 ft.) wide.

        • Extend the rear cross check markers to string 1.

      7. Place the check marker between marks K and L.

      8. Perform camera view adjustment (calibration) (procedure 8).

  6. PROCEDURE 5: SET MARKERS (When checking left side)

    1. To the left side of the vehicle, extend string 5 perpendicular to the vehicle center line (string 2), and place a check marker.

      1. E287145C01

        *a

        1300 mm (4.26 ft.)

        *b

        4900 mm (16.1 ft.)

        *c

        Datum Point

        *d

        String 1

        *e

        String 2

        *f

        Mark E

        *g

        Mark J

        Mark the position on string 2 in front of the vehicle, 4900 mm (16.1 ft.) from the datum point. (Mark E)

      2. Mark the position on string 2 to the rear of the vehicle, 1300 mm (4.26 ft.) from the datum point. (Mark J)

      3. E275619C01

        *a

        400 mm (1.31 ft.)

        *b

        String 2

        *c

        Mark E

        Fix the ends of 2 strings (800 mm [2.62 ft.] long) at 2 positions 400 mm (1.31 ft.) from mark E as shown in the illustration.

      4. Move the free ends of the 2 strings and mark the point where the ends meet. (Marks F and G)

        E271119C06

        *a

        800 mm (2.62 ft.) String

        *b

        String 2

        *c

        Mark E

        *d

        Mark F

        *e

        Mark G

        -

        -

      5. E287110C01

        *a

        400 mm (1.31 ft.)

        *b

        String 1

        *c

        String 2

        *d

        Mark J

        Fix the ends of 2 strings (800 mm [2.62 ft.]) at 2 positions 400 mm (1.31 ft.) from mark J as shown in the illustration.

      6. Move the free ends of the 2 strings and mark the point where the ends meet. (Marks K and L)

        E287111C01

        *a

        800 mm (2.62 ft.) String

        *b

        String 1

        *c

        String 2

        *d

        Mark J

        *e

        Mark K

        *f

        Mark L

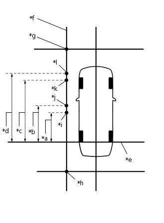
      7. E287146C01

        *a

        1500 mm (4.92 ft.)

        *b

        String 3

        *c

        String 4

        *d

        Mark F

        *e

        Mark G

        *f

        Mark H

        *g

        Mark K

        *h

        Mark L

        *i

        Mark M

        Secure strings 3 and 4 so that they pass through marks F and G, marks K and L as shown in the illustration.

        Note:

        When securing the string, check that there is no slack and the string is not twisted.

      8. Mark strings 3 and 4, 1500 mm (4.92 ft.) to the left of the vehicle center line (string 2). (Marks H and M)

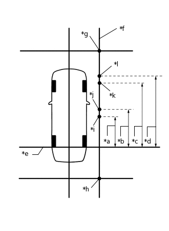
      9. E287147C01

        *a

        1700 mm (5.58 ft.)

        *b

        1900 mm (6.23 ft.)

        *c

        3000 mm (9.84 ft.)

        *d

        3200 mm (10.50 ft.)

        *e

        String 1

        *f

        String 5

        *g

        Mark H

        *h

        Mark M

        *i

        Mark O

        *j

        Mark P

        *k

        Mark Q

        *l

        Mark R

        Secure string 5 so that it passes through marks H and M as shown in the illustration.

        Note:

        When securing the string, check that there is no slack and the string is not twisted.

      10. Make marks on string 5 that are 1700 mm (5.58 ft.), 1900 mm (6.23 ft.), 3000 mm (9.84 ft.), and 3200 mm (10.50 ft.) from the datum line (string 1) as shown in the illustration. (Marks O, P, Q and R)

      11. E287107C01

        *a

        100 mm (0.33 ft.)

        *b

        800 mm (2.62 ft.)

        *c

        400 mm (1.31 ft.)

        *d

        Cross Check Marker

        *e

        Check Marker

        *f

        String 1

        *g

        String 5

        *h

        Mark H

        *i

        Mark M

        *j

        Mark O

        *k

        Mark P

        *l

        Mark Q

        *m

        Mark R

        Place and secure the cross check markers, centered on marks H and M.

        Note:
        • Align the cross check markers perpendicular to the string.

        • Make each arm of the cross check markers 800 mm (2.62 ft.) long and 100 mm (1.31 ft.) wide.

        • Extend the rear cross check markers to string 1.

      12. Place check markers between marks O and P, and marks Q and R.

      13. Perform camera view adjustment (calibration) (procedure 8).

  7. PROCEDURE 6: SET MARKERS (When checking right side)

    1. At the right side of the vehicle, extend string 6 parallel to the vehicle and place a marker.

      1. E287145C01

        *a

        1300 mm (4.26 ft.)

        *b

        4900 mm (16.1 ft.)

        *c

        Datum Point

        *d

        String 1

        *e

        String 2

        *f

        Mark E

        *g

        Mark J

        Mark the position on string 2 in front of the vehicle, 4900 mm (16.1 ft.) from the datum point. (Mark E)

      2. Mark the position on string 2 to the rear of the vehicle, 1300 mm (4.26 ft.) from the datum point. (Mark J)

      3. E275619C01

        *a

        400 mm (1.31 ft.)

        *b

        String 2

        *c

        Mark E

        Fix the ends of 2 strings (800 mm [2.62 ft.] long) at 2 positions 400 mm (1.31 ft.) from mark E as shown in the illustration.

      4. Move the free ends of the 2 strings and mark the point where the ends meet. (Marks F and G)

        E271119C06

        *a

        800 mm (2.62 ft.) String

        *b

        String 2

        *c

        Mark E

        *d

        Mark F

        *e

        Mark G

        -

        -

      5. E287110C01

        *a

        400 mm (1.31 ft.)

        *b

        String 1

        *c

        String 2

        *d

        Mark J

        Fix the ends of 2 strings (800 mm [2.62 ft.]) at 2 positions 400 mm (1.31 ft.) from mark J as shown in the illustration.

      6. Move the free ends of the 2 strings and mark the point where the ends meet. (Marks K and L)

        E287111C01

        *a

        800 mm (2.62 ft.) String

        *b

        String 1

        *c

        String 2

        *d

        Mark J

        *e

        Mark K

        *f

        Mark L

      7. E287712C01

        *a

        1500 mm (4.92 ft.)

        *b

        String 3

        *c

        String 4

        *d

        Mark F

        *e

        Mark G

        *f

        Mark H

        *g

        Mark K

        *h

        Mark L

        *i

        Mark N

        Secure strings 3 and 4 so that they pass through marks F and G and marks K and L as shown in the illustration.

        Note:

        When securing the string, check that there is no slack and the string is not twisted.

      8. Mark strings 3 and 4, 1500 mm (4.92 ft.) to the left of the vehicle center line (string 2). (Marks I and N)

      9. E287713C01

        *a

        1700 mm (5.58 ft.)

        *b

        1900 mm (6.23 ft.)

        *c

        3000 mm (9.84 ft.)

        *d

        3200 mm (10.50 ft.)

        *e

        String 1

        *f

        String 6

        *g

        Mark I

        *h

        Mark N

        *i

        Mark S

        *j

        Mark T

        *k

        Mark U

        *l

        Mark V

        Secure string 6 so that it passes through marks I and N as shown in the illustration.

        Note:

        When securing the string, check that there is no slack and the string is not twisted.

      10. Make marks on string 6 that are 1700 mm (5.58 ft.), 1900 mm (6.23 ft.), 3000 mm (9.84 ft.), and 3200 mm (10.50 ft.) from the datum line (string 1) as shown in the illustration. (Marks S, T, U and V)

      11. E287108C01

        *a

        100 mm (0.33 ft.)

        *b

        800 mm (2.62 ft.)

        *c

        400 mm (1.31 ft.)

        *d

        Cross Check Marker

        *e

        Check Marker

        *f

        String 1

        *g

        String 6

        *h

        Mark I

        *i

        Mark N

        *j

        Mark S

        *k

        Mark T

        *l

        Mark U

        *m

        Mark V

        Place and secure the cross check markers, centered on marks I and N.

        Note:
        • Align the cross check markers perpendicular to the string.

        • Make each arm of the cross check markers 800 mm (2.62 ft.) long and 100 mm (0.33 ft.) wide.

        • Extend the rear cross check markers to string 1.

      12. Place check markers between marks S and T, and marks U and V.

      13. Perform camera view adjustment (calibration) (procedure 8).

  8. PROCEDURE 7: SET MARKERS (When checking all cameras)

    1. Set markers in every direction from the vehicle.

      1. E287145C01

        *a

        1300 mm (4.26 ft.)

        *b

        4900 mm (16.1 ft.)

        *c

        Datum Point

        *d

        String 1

        *e

        String 2

        *f

        Mark E

        *g

        Mark J

        Mark the position on string 2 in front of the vehicle, 4900 mm (16.1 ft.) from the datum point. (Mark E)

      2. Mark the position on string 2 to the rear of the vehicle, 1300 mm (4.26 ft.) from the datum point. (Mark J)

      3. E275619C01

        *a

        400 mm (1.31 ft.)

        *b

        String 2

        *c

        Mark E

        Fix the ends of 2 strings (800 mm [2.62 ft.] long) at 2 positions 400 mm (1.31 ft.) from mark E as shown in the illustration.

      4. Move the free ends of the 2 strings and mark the point where the ends meet. (Marks F and G)

        E271119C06

        *a

        800 mm (2.62 ft.) String

        *b

        String 2

        *c

        Mark E

        *d

        Mark F

        *e

        Mark G

        -

        -

      5. E287110C01

        *a

        400 mm (1.31 ft.)

        *b

        String 1

        *c

        String 2

        *d

        Mark J

        Fix the ends of 2 strings (800 mm [2.62 ft.]) at 2 positions 400 mm (1.31 ft.) from mark J as shown in the illustration.

      6. Move the free ends of the 2 strings and mark the point where the ends meet. (Marks K and L)

        E287111C01

        *a

        800 mm (2.62 ft.) String

        *b

        String 1

        *c

        String 2

        *d

        Mark J

        *e

        Mark K

        *f

        Mark L

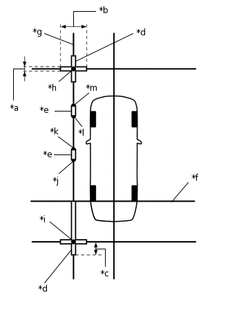
      7. E287148C01

        *a

        1500 mm (4.92 ft.)

        *b

        String 2

        *c

        String 3

        *d

        String 4

        *e

        Mark F

        *f

        Mark G

        *g

        Mark H

        *h

        Mark I

        *i

        Mark K

        *j

        Mark L

        *k

        Mark M

        *l

        Mark N

        Secure strings 3 and 4 so that they pass through marks F, G, K and L as shown in the illustration.

        Note:

        When securing the string, check that there is no slack and the string is not twisted.

      8. Mark string 3, 1500 mm (4.92 ft.) to the left of the vehicle center line (string 2). (Marks H and I)

      9. Mark string 4, 1500 mm (4.92 ft.) to the left of the vehicle center line (string 2). (Marks M and N)

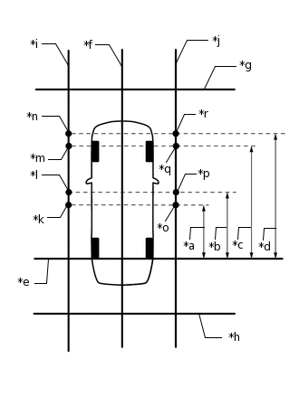
      10. E287132C02

        *a

        String 1

        *b

        String 2

        *c

        String 3

        *d

        String 4

        *e

        String 5

        *f

        String 6

        *g

        Mark H

        *h

        Mark I

        *i

        Mark M

        *j

        Mark N

        Secure strings 5 and 6 so that they pass through marks H, M, I and N as shown in the illustration.

        Note:

        When securing the string, check that there is no slack and the string is not twisted.

      11. E288356C02

        *a

        1700 mm (5.58 ft.)

        *b

        1900 mm (6.23 ft.)

        *c

        3000 mm (9.84 ft.)

        *d

        3200 mm (10.50 ft.)

        *e

        String 1

        *f

        String 2

        *g

        String 3

        *h

        String 4

        *i

        String 5

        *j

        String 6

        *k

        Mark O

        *l

        Mark P

        *m

        Mark Q

        *n

        Mark R

        *o

        Mark S

        *p

        Mark T

        *q

        Mark U

        *r

        Mark V

        Make marks on string 5 that are 1700 mm (5.58 ft.), 1900 mm (6.23 ft.), 3000 mm (9.84 ft.), and 3200 mm (10.50 ft.) from the datum line (string 1) as shown in the illustration. (Marks O, P, Q and R)

      12. Make marks on string 6 that are 1700 mm (5.58 ft.), 1900 mm (6.23 ft.), 3000 mm (9.84 ft.), and 3200 mm (10.50 ft.) from the datum line (string 1) as shown in the illustration. (Marks S, T, U and V)

      13. Place and secure the cross check markers, centered on marks H, I, M and N.

        Note:
        • Align the cross check markers perpendicular to the string.

        • Make each arm of the cross check markers 800 mm (2.62 ft.) long and 100 mm (0.33 ft.) wide.

        • Extend the rear cross check markers to string 1.

        E287112C01

        *a

        100 mm (0.33 ft.)

        *b

        800 mm (2.62 ft.)

        *c

        Cross Check Marker

        *d

        Check Marker

        *e

        String 1

        *f

        Mark F

        *g

        Mark G

        *h

        Mark H

        *i

        Mark I

        *j

        Mark K

        *k

        Mark L

        *l

        Mark M

        *m

        Mark N

        *n

        Mark O

        *o

        Mark P

        *p

        Mark Q

        *q

        Mark R

        *r

        Mark S

        *s

        Mark T

        *t

        Mark U

        *u

        Mark V

        -

        -

      14. Place check markers between marks F and G, marks K and L, marks O and P, marks Q and R, marks S and T, and marks U and V.

      15. Perform camera view adjustment (calibration) (procedure 8).

  9. PROCEDURE 8: CAMERA VIEW ADJUSTMENT (CALIBRATION)

    1. Enter diagnostic mode.

      Note:

      The check must be performed with the power switch on (READY). Therefore, apply the parking brake, depress the brake pedal and move the shift lever to P to ensure that the vehicle does not begin moving unexpectedly.

    2. E271944

      Select "Function Check/Setting" from the "Service Menu" screen.

    3. E314875

      Select "Camera Setting" on the "Function Check/Setting I" screen to display the Mode Setting screen.

    4. E296733

      Select "View Adjustment" on the Mode Setting screen to display the adjustment screen.

      Tip:

      To select a grayed out item, select and hold the item for 2 seconds or more.

    5. E340700

      After checking the screen, press the "NEXT" button on the "Signal Check" screen.

      Tip:
      • When "CHK" (red) is displayed, perform the inspections.

      • If performing the adjustment after proceeding to the next screen, confirm that all items display "OK" (blue) before selecting "Next".

    6. Perform the view adjustment.

      E335949C01

      *a

      Red Line

      *b

      Cross Check Marker

      *c

      Adjustment Button

      *d

      Camera Select Button

      *e

      Height Control Button

      -

      -

      Note:

      If replacing a camera, select the repaired camera and press "New Camera".

      1. Check that the cross check markers displayed on the adjustment screen appear connected.

        E271143
        Note:
        • Before checking the adjustment screen, ensure that the check markers have been placed correctly.

        • If a cross check marker appears displaced on the adjustment screen, use the camera select buttons to select the corresponding camera, and then use the adjustment buttons or vehicle height adjustment buttons to adjust the screen.

          E335950E01
        Tip:

        If adjustment is needed, select "All View Reset" button and reset all adjustment values.

      2. Confirm the check marker is in the adjustment screen.

        E271144
        Note:
        • Before checking the adjustment screen, ensure that the check markers have been placed correctly.

        • If a check marker appears displaced on the adjustment screen, use the camera select buttons to select the corresponding camera, and then use the adjustment buttons or vehicle height adjustment buttons to adjust the screen.

          E335950E01
          Tip:

          If performing adjustment again, select "All View Reset" to initialize the adjustment status.

    7. E299606

      When all adjustments are completed, press "OK".

    8. If data writing ends normally, "The view data writing was completed." is displayed.

    9. Press "OK".

    10. Finish diagnostic mode.

  10. PROCEDURE 9: STEERING ANGLE SETTING

    1. Preparation for adjustment

      1. Park the vehicle with the steering wheel centered.

        Tip:

        Before parking the vehicle, be sure to move the vehicle forward and in reverse to check that the tires are facing straight ahead with the steering wheel centered.

      2. Adjust the tire pressure to the specified value(s).

    2. Start the diagnostic mode.

      Note:

      The following must be carried out with the power switch on (READY). Apply the parking brake, depress the brake pedal, check that the shift lever is in P, and ensure that the vehicle is not moving.

    3. E271944

      Select "Function Check/Setting" on the "Service Menu" screen.

    4. E314875

      Select "Camera Setting" on the "Function Check/Setting I" screen.

    5. E296733

      Select "Steering Angle Setting" on the Mode Setting screen to display the Signal Check screen.

      Tip:

      To select a grayed out item, select and hold the item for 2 seconds or more.

    6. E340700

      Select "Next" on the Signal Check screen to display the Steering Angle Setting screen.

      Note:
      • If "CHK" (red) is displayed for an item on the Signal Check screen, selecting "Next" will not change to the Steering Angle Setting screen.

      • Check the Signal Check screen when "CHK" (red) is displayed for an item on the Signal Check screen.

    7. Adjust the steering angle

      1. E299607

        Check that the steering wheel is centered (approximately +/- 5 degrees or less) and then select "STEERING CENTER MEMORIZE".

      2. Turn the steering wheel fully to the left and fully to the right, and then press "MAX STEERING ANGLE MEMORIZE". (Turning right and then left is OK)

      3. When "MAX STEERING ANGLE MEMORIZE" is selected, the system beeps, the steering angle setting values (steering neutral point and maximum steering angle) are stored, and the Mode Setting screen is displayed again.

        Tip:
        • A beep will sound to confirm that the adjustment values have been stored.

        • If all signals are input normally, the Mode Setting screen is displayed automatically after the maximum steering angle is stored.

        • If steering angle setting is incomplete, "OK" cannot be selected.

        • Even if no DTC is detected, a steering angle sensor malfunction may disable the use of "MAX STEERING ANGLE MEMORIZE".

        • If selecting "MAX STEERING ANGLE MEMORIZE" does not cause the adjustment value to be stored after adjusting the steering angle, replace the steering angle sensor.

    8. Finish diagnostic mode.

    9. Confirm steering angle adjustment.

      Tip:

      If the steering angle has been adjusted, confirm the steering angle adjustment on the panoramic view monitor screen after finishing diagnosis mode.

    10. Check on the parking assist monitor screen that the estimated course line moves until the steering wheel is fully turned to either the left or right.

      Tip:

      If the estimated course line stops moving before the steering wheel is fully turned to either the left or right, the steering angle adjustment values have not been stored correctly. In this case, perform "STEERING CENTER MEMORIZE" and "MAX STEERING ANGLE MEMORIZE" again.