ФАРА В СБОРЕ (для моделей с указателями поворота с лампами накаливания) ПРОВЕРКА

ПОРЯДОК ВЫПОЛНЕНИЯ

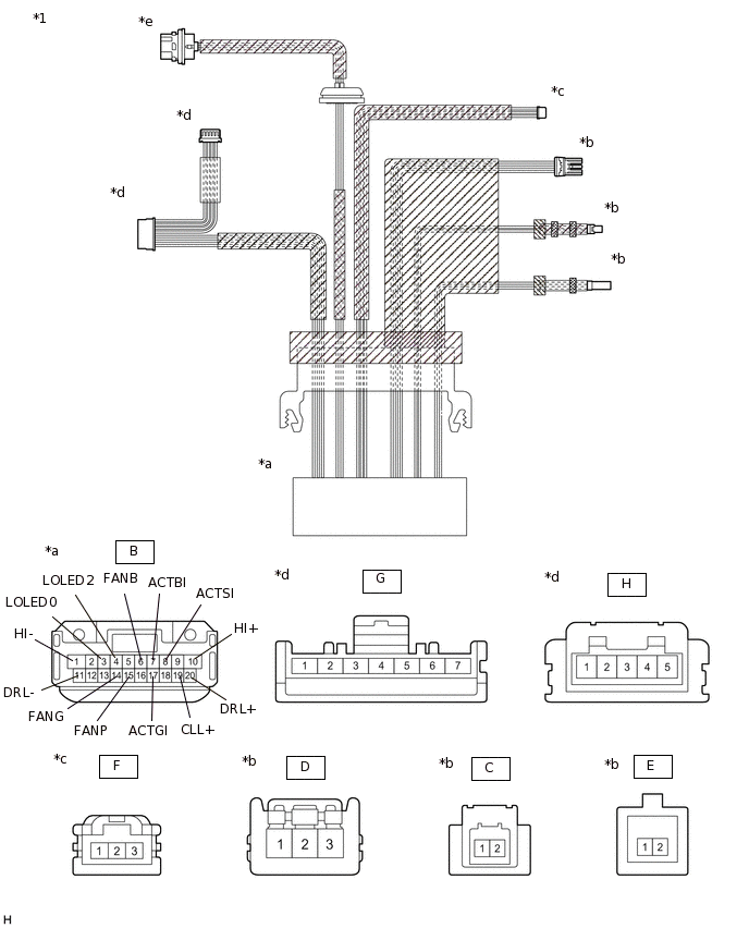
  1. ПРОВЕРЬТЕ ЛЕВУЮ ФАРУ В СБОРЕ (для моделей с автоматической системой управления уровнем фар)

    E380640C01

    *1

    Блок левой фары в сборе (шнур фары)

    -

    -

    *a

    Устройство с отсоединенным жгутом проводов

    (к ЭБУ левой фары в сборе)

    *b

    Устройство с неподсоединенным жгутом проводов

    (к светодиодному блоку левой фары в сборе)

    *c

    Устройство с неподсоединенным жгутом проводов

    (к левому электродвигателю системы управления уровнем фар)

    *d

    Устройство с неподсоединенным жгутом проводов

    (к светодиодному блоку левого габаритного фонаря фары № 1)

    *e

    Компонент без установленного указателя поворота

    (к указателю поворота)

    -

    -

    1. Измерьте сопротивление в соответствии со значениями, приведенными в таблице ниже.

      1. Проверьте цепь электродвигателя системы управления уровнем фар.

        Номинальное сопротивление

        Подключение диагностического прибора

        Условие

        Заданные условия

        B-7 (ACTBI) - F-1

        Всегда

        Менее 1 Ом

        B-8 (ACTSI) - F-2

        Всегда

        Менее 1 Ом

        B-17 (ACTGI) - F-3

        Всегда

        Менее 1 Ом

        Если результат проверки не отвечает требованиям, замените левую фару в сборе (шнур фары).

      2. Осмотрите цепь фар ближнего/дальнего света.

        Номинальное сопротивление

        Подключение диагностического прибора

        Условие

        Заданные условия

        B-4 (LOLED2) - C-2

        Всегда

        Менее 1 Ом

        B-3 (LOLED0) - C-1

        Всегда

        Менее 1 Ом

        Если результат проверки не отвечает требованиям, замените левую фару в сборе (шнур фары).

      3. Проверьте цепь затенения ближнего / дальнего света.

        Номинальное сопротивление

        Подключение диагностического прибора

        Условие

        Заданные условия

        B-10 (HI+) - E-1

        Всегда

        Менее 1 Ом

        B-1 (HI-) - E-2

        Всегда

        Менее 1 Ом

        Если результат проверки не отвечает требованиям, замените левую фару в сборе (шнур фары).

      4. Проверьте цепь вентилятора фары.

        Номинальное сопротивление

        Подключение диагностического прибора

        Условие

        Заданные условия

        B-6 (FANB) - D-3

        Всегда

        Менее 1 Ом

        B-15 (FANP) - D-2

        Всегда

        Менее 1 Ом

        B-14 (FANG) - D-1

        Всегда

        Менее 1 Ом

        Если результат проверки не отвечает требованиям, замените левую фару в сборе (шнур фары).

      5. Проверьте входную цепь габаритного фонаря / подфарника, включаемого при движении в светлое время суток.

        Номинальное сопротивление

        Подключение диагностического прибора

        Условие

        Заданные условия

        B-20 (DRL+) - G-1

        Всегда

        Менее 1 Ом

        B-11 (DRL-) - G-3

        Всегда

        Менее 1 Ом

        B-19 (CLL+) - G-2

        Всегда

        Менее 1 Ом

        Если результат проверки не отвечает требованиям, замените левую фару в сборе (шнур фары).

      6. Проверьте выходную цепь габаритного фонаря / подфарника, включаемого при движении в светлое время суток.

        Номинальное сопротивление

        Подключение диагностического прибора

        Условие

        Заданные условия

        G-4 - H-5

        Всегда

        Менее 1 Ом

        G-5 - H-4

        Всегда

        Менее 1 Ом

        G-6 - H-3

        Всегда

        Менее 1 Ом

        G-7 - H-1

        Всегда

        Менее 1 Ом

        Если результат проверки не отвечает требованиям, замените левую фару в сборе (шнур фары).

  2. ПРОВЕРЬТЕ СВЕТОДИОДНЫЙ БЛОК ЛЕВОЙ ФАРЫ В СБОРЕ (для моделей с автоматической системой управления уровнем фар)

    E380641C01

    *a

    Устройство с неподсоединенным жгутом проводов

    (Светодиодный блок левой фары в сборе)

    1. Подайте напряжение аккумуляторной батареи на светодиодный блок левой фары в сборе и убедитесь, что затенение ближнего / дальнего света работает.

      СООТВ

      Условие

      Заданные условия

      Положительный (+) вывод аккумуляторной батареи → контакт 1

      Отрицательный (-) вывод аккумуляторной батареи → контакт 2

      Нормальная работа

      Если результат проверки не отвечает требованиям, замените светодиодный блок левой фары в сборе.

  3. ПРОВЕРЬТЕ СВЕТОДИОДНЫЙ БЛОК ЛЕВОГО ГАБАРИТНОГО ФОНАРЯ ФАРЫ № 1 (для моделей с автоматической системой управления уровнем фар)

    E380642C01

    *a

    Устройство с неподсоединенным жгутом проводов

    (Светодиодный блок левого габаритного фонаря фары № 1)

    1. Подайте напряжение аккумуляторной батареи на светодиодный блок левого габаритного фонаря фары № 1 и убедитесь, что светодиод горит.

      СООТВ

      Условие

      Заданные условия

      Положительный (+) вывод аккумуляторной батареи → контакт 1

      Отрицательный (-) вывод аккумуляторной батареи → контакт 3

      Габаритный фонарь / подфарник, включаемый при движении в светлое время суток горит

      Если результат не соответствует требованиям, замените светодиодный блок левого габаритного фонаря фары № 1.

  4. ПРОВЕРЬТЕ ПРАВУЮ ФАРУ В СБОРЕ (для моделей с автоматической системой управления уровнем фар)

    E380640C01

    *1

    Блок правой фары в сборе (шнур фары)

    -

    -

    *a

    Устройство с отсоединенным жгутом проводов

    (к ЭБУ правой фары в сборе)

    *b

    Устройство с неподсоединенным жгутом проводов

    (к светодиодному блоку правой фары в сборе)

    *c

    Устройство с неподсоединенным жгутом проводов

    (к правому электродвигателю системы управления уровнем фар)

    *d

    Устройство с неподсоединенным жгутом проводов

    (к светодиодному блоку правого габаритного фонаря фары № 1)

    *e

    Компонент без установленного указателя поворота

    (к указателю поворота)

    -

    -

    1. Измерьте сопротивление в соответствии со значениями, приведенными в таблице ниже.

      1. Проверьте цепь электродвигателя системы управления уровнем фар.

        Номинальное сопротивление

        Подключение диагностического прибора

        Условие

        Заданные условия

        B-7 (ACTBI) - F-1

        Всегда

        Менее 1 Ом

        B-8 (ACTSI) - F-2

        Всегда

        Менее 1 Ом

        B-17 (ACTGI) - F-3

        Всегда

        Менее 1 Ом

        Если результат проверки не отвечает требованиям, замените правую фару в сборе (шнур фары).

      2. Осмотрите цепь фар ближнего/дальнего света.

        Номинальное сопротивление

        Подключение диагностического прибора

        Условие

        Заданные условия

        B-4 (LOLED2) - C-2

        Всегда

        Менее 1 Ом

        B-3 (LOLED0) - C-1

        Всегда

        Менее 1 Ом

        Если результат проверки не отвечает требованиям, замените правую фару в сборе (шнур фары).

      3. Проверьте цепь затенения ближнего / дальнего света.

        Номинальное сопротивление

        Подключение диагностического прибора

        Условие

        Заданные условия

        B-10 (HI+) - E-1

        Всегда

        Менее 1 Ом

        B-1 (HI-) - E-2

        Всегда

        Менее 1 Ом

        Если результат проверки не отвечает требованиям, замените правую фару в сборе (шнур фары).

      4. Проверьте цепь вентилятора фары.

        Номинальное сопротивление

        Подключение диагностического прибора

        Условие

        Заданные условия

        B-6 (FANB) - D-3

        Всегда

        Менее 1 Ом

        B-15 (FANP) - D-2

        Всегда

        Менее 1 Ом

        B-14 (FANG) - D-1

        Всегда

        Менее 1 Ом

        Если результат проверки не отвечает требованиям, замените правую фару в сборе (шнур фары).

      5. Проверьте входную цепь габаритного фонаря / подфарника, включаемого при движении в светлое время суток.

        Номинальное сопротивление

        Подключение диагностического прибора

        Условие

        Заданные условия

        B-20 (DRL+) - G-1

        Всегда

        Менее 1 Ом

        B-11 (DRL-) - G-3

        Всегда

        Менее 1 Ом

        B-19 (CLL+) - G-2

        Всегда

        Менее 1 Ом

        Если результат проверки не отвечает требованиям, замените правую фару в сборе (шнур фары).

      6. Проверьте выходную цепь габаритного фонаря / подфарника, включаемого при движении в светлое время суток.

        Номинальное сопротивление

        Подключение диагностического прибора

        Условие

        Заданные условия

        G-4 - H-5

        Всегда

        Менее 1 Ом

        G-5 - H-4

        Всегда

        Менее 1 Ом

        G-6 - H-3

        Всегда

        Менее 1 Ом

        G-7 - H-1

        Всегда

        Менее 1 Ом

        Если результат проверки не отвечает требованиям, замените правую фару в сборе (шнур фары).

  5. ПРОВЕРЬТЕ СВЕТОДИОДНЫЙ БЛОК ПРАВОГО ГАБАРИТНОГО ФОНАРЯ ФАРЫ (для моделей с автоматической системой управления уровнем фар)

    E380641C01

    *a

    Устройство с неподсоединенным жгутом проводов

    (Светодиодный блок правой фары в сборе)

    1. Подайте напряжение аккумуляторной батареи на светодиодный блок правой фары в сборе и убедитесь, что затенение ближнего / дальнего света работает.

      СООТВ

      Условие

      Заданные условия

      Положительный (+) вывод аккумуляторной батареи → контакт 1

      Отрицательный (-) вывод аккумуляторной батареи → контакт 2

      Нормальная работа

      Если результат проверки не отвечает требованиям, замените светодиодный блок правой фары в сборе.

  6. ПРОВЕРЬТЕ СВЕТОДИОДНЫЙ БЛОК ПРАВОГО ГАБАРИТНОГО ФОНАРЯ ФАРЫ № 1 (для моделей с автоматической системой управления уровнем фар)

    E380642C01

    *a

    Устройство с неподсоединенным жгутом проводов

    (Светодиодный блок правого габаритного фонаря фары № 1)

    1. Подайте напряжение аккумуляторной батареи на светодиодный блок правого габаритного фонаря фары № 1 и убедитесь, что светодиод горит.

      СООТВ

      Условие

      Заданные условия

      Положительный (+) вывод аккумуляторной батареи → контакт 1

      Отрицательный (-) вывод аккумуляторной батареи → контакт 3

      Габаритный фонарь / подфарник, включаемый при движении в светлое время суток горит

      Если результат не соответствует требованиям, замените светодиодный блок правого габаритного фонаря фары №1.

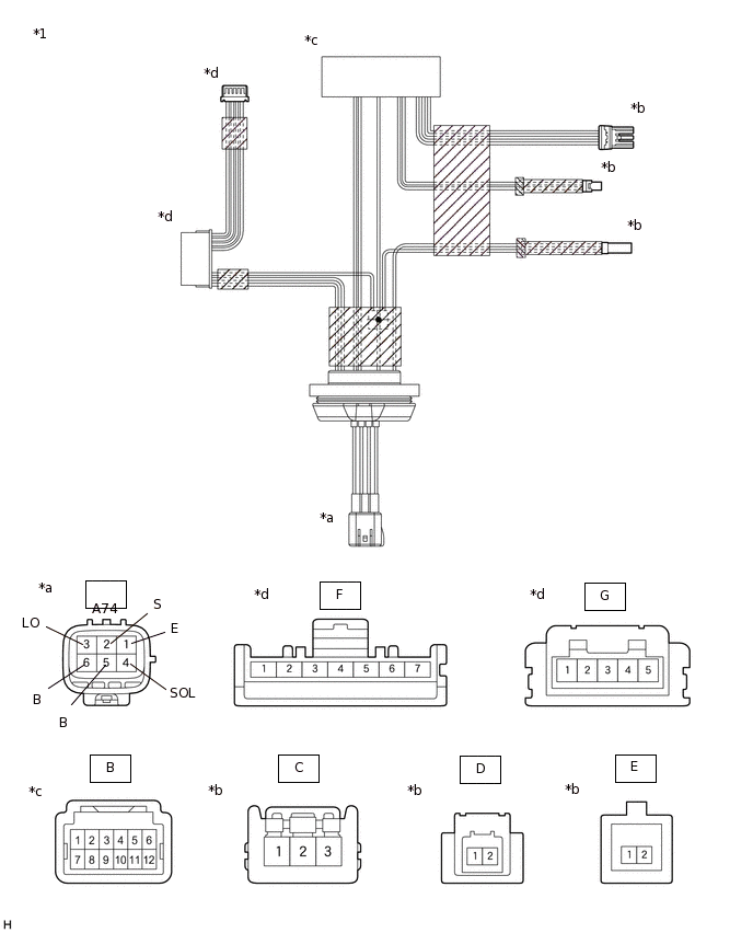
  7. ПРОВЕРЬТЕ ЛЕВУЮ ФАРУ В СБОРЕ (для моделей без автоматической системы управления уровнем фар)

    E388100C02

    *1

    Блок левой фары в сборе (шнур фары)

    -

    -

    *a

    Устройство с неподсоединенным жгутом проводов

    (к жгуту проводов)

    *b

    Устройство с неподсоединенным жгутом проводов

    (к светодиодному блоку левой фары в сборе)

    *c

    Устройство с неподсоединенным жгутом проводов

    (к ЭБУ управления освещением)

    *d

    Устройство с неподсоединенным жгутом проводов

    (к светодиодному блоку левого габаритного фонаря фары № 1)

    1. Измерьте сопротивление в соответствии со значениями, приведенными в таблице ниже.

      1. Осмотрите цепь фар ближнего/дальнего света.

        Номинальное сопротивление

        Подключение диагностического прибора

        Условие

        Заданные условия

        A74-1 (E) - B-6

        Всегда

        Менее 1 Ом

        A74-2 (S) - B-12

        Всегда

        Менее 1 Ом

        A74-3 (LO) - B-7

        Всегда

        Менее 1 Ом

        B-4 - D-1

        Всегда

        Менее 1 Ом

        B-10 - D-2

        Всегда

        Менее 1 Ом

        Если результат проверки не отвечает требованиям, замените левую фару в сборе (шнур фары).

      2. Проверьте цепь затенения ближнего / дальнего света.

        Номинальное сопротивление

        Подключение диагностического прибора

        Условие

        Заданные условия

        A74-1 (E) - E-2

        Всегда

        Менее 1 Ом

        A74-4 (SOL) - E-1

        Всегда

        Менее 1 Ом

        Если результат проверки не отвечает требованиям, замените левую фару в сборе (шнур фары).

      3. Проверьте цепь вентилятора фары.

        Номинальное сопротивление

        Подключение диагностического прибора

        Условие

        Номинальное значение

        B-2 - C-3

        Всегда

        Менее 1 Ом

        B-9 - C-2

        Всегда

        Менее 1 Ом

        B-11 - C-1

        Всегда

        Менее 1 Ом

        Если результат проверки не отвечает требованиям, замените левую фару в сборе (шнур фары).

      4. Проверьте входную цепь габаритного фонаря / подфарника, включаемого при движении в светлое время суток.

        Номинальное сопротивление

        Подключение диагностического прибора

        Условие

        Заданные условия

        A74-1 (E) - F-3

        Всегда

        Менее 1 Ом

        A74-5 (B) - F-2

        Всегда

        Менее 1 Ом

        A74-6 (B) - F-1

        Всегда

        Менее 1 Ом

        Если результат проверки не отвечает требованиям, замените левую фару в сборе (шнур фары).

      5. Проверьте выходную цепь габаритного фонаря / подфарника, включаемого при движении в светлое время суток.

        Номинальное сопротивление

        Подключение диагностического прибора

        Условие

        Заданные условия

        F-4 - G-5

        Всегда

        Менее 1 Ом

        F-5 - G-4

        Всегда

        Менее 1 Ом

        F-6 - G-3

        Всегда

        Менее 1 Ом

        F-7 - G-1

        Всегда

        Менее 1 Ом

        Если результат проверки не отвечает требованиям, замените левую фару в сборе (шнур фары).

  8. ПРОВЕРЬТЕ СВЕТОДИОДНЫЙ БЛОК ЛЕВОЙ ФАРЫ В СБОРЕ (для моделей без автоматической системы управления уровнем фар)

    1. E380641C01

      *a

      Устройство с неподсоединенным жгутом проводов

      (Светодиодный блок левой фары в сборе)

      Подайте напряжение аккумуляторной батареи на светодиодный блок левой фары в сборе и убедитесь, что затенение ближнего / дальнего света работает.

      СООТВ

      Условие

      Заданные условия

      Положительный (+) вывод аккумуляторной батареи → контакт 1

      Отрицательный (-) вывод аккумуляторной батареи → контакт 2

      Нормальная работа

      Если результат проверки не отвечает требованиям, замените светодиодный блок левой фары в сборе.

  9. ПРОВЕРЬТЕ СВЕТОДИОДНЫЙ БЛОК ЛЕВОГО ГАБАРИТНОГО ФОНАРЯ ФАРЫ № 1 (для моделей без автоматической системы управления уровнем фар)

    E380642C01

    *a

    Устройство с неподсоединенным жгутом проводов

    (Светодиодный блок левого габаритного фонаря фары № 1)

    1. Подайте напряжение аккумуляторной батареи на светодиодный блок левого габаритного фонаря фары № 1 и убедитесь, что светодиод горит.

      СООТВ

      Условие

      Заданные условия

      Положительный (+) вывод аккумуляторной батареи → контакт 1

      Отрицательный (-) вывод аккумуляторной батареи → контакт 3

      Габаритный фонарь / подфарник, включаемый при движении в светлое время суток горит

      Если результат не соответствует требованиям, замените светодиодный блок левого габаритного фонаря фары № 1.

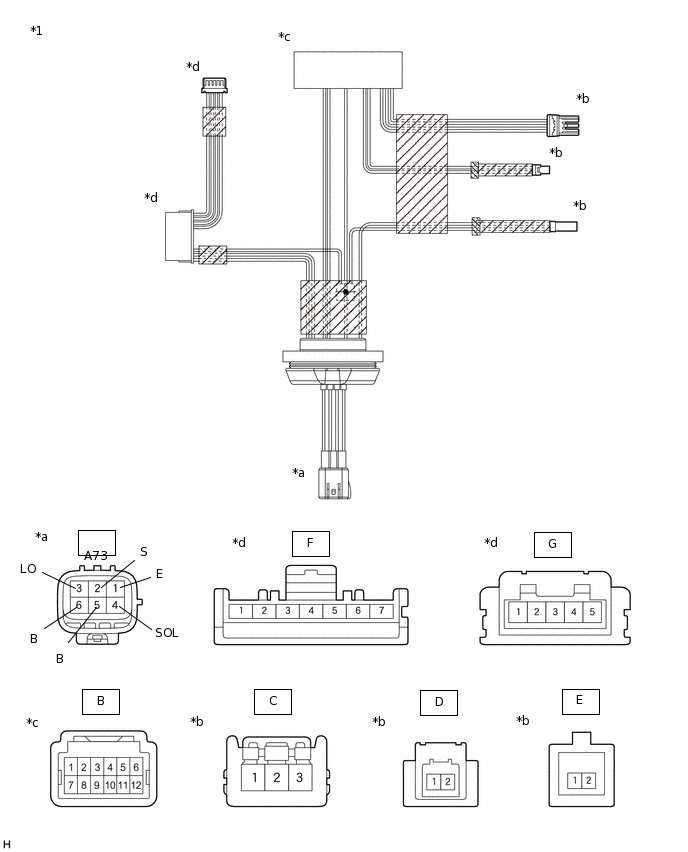
  10. ПРОВЕРЬТЕ ПРАВУЮ ФАРУ В СБОРЕ (для моделей без автоматической системы управления уровнем фар)

    E388100C01

    *1

    Блок правой фары в сборе (шнур фары)

    -

    -

    *a

    Устройство с неподсоединенным жгутом проводов

    (к жгуту проводов)

    *b

    Устройство с неподсоединенным жгутом проводов

    (к светодиодному блоку правой фары в сборе)

    *c

    Устройство с неподсоединенным жгутом проводов

    (к ЭБУ управления освещением)

    *d

    Устройство с неподсоединенным жгутом проводов

    (к светодиодному блоку правого габаритного фонаря фары № 1)

    1. Измерьте сопротивление в соответствии со значениями, приведенными в таблице ниже.

      1. Осмотрите цепь фар ближнего/дальнего света.

        Номинальное сопротивление

        Подключение диагностического прибора

        Условие

        Заданные условия

        A73-1 (E) - B-6

        Всегда

        Менее 1 Ом

        A73-2 (S) - B-12

        Всегда

        Менее 1 Ом

        A73-3 (LO) - B-7

        Всегда

        Менее 1 Ом

        B-4 - D-1

        Всегда

        Менее 1 Ом

        B-10 - D-2

        Всегда

        Менее 1 Ом

        Если результат проверки не отвечает требованиям, замените правую фару в сборе (шнур фары).

      2. Проверьте цепь затенения ближнего / дальнего света.

        Номинальное сопротивление

        Подключение диагностического прибора

        Условие

        Заданные условия

        A73-1 (E) - E-2

        Всегда

        Менее 1 Ом

        A73-4 (SOL) - E-1

        Всегда

        Менее 1 Ом

        Если результат проверки не отвечает требованиям, замените правую фару в сборе (шнур фары).

      3. Проверьте цепь вентилятора фары.

        Номинальное сопротивление

        Подключение диагностического прибора

        Условие

        Номинальное значение

        B-2 - C-3

        Всегда

        Менее 1 Ом

        B-9 - C-2

        Всегда

        Менее 1 Ом

        B-11 - C-1

        Всегда

        Менее 1 Ом

        Если результат проверки не отвечает требованиям, замените правую фару в сборе (шнур фары).

      4. Проверьте входную цепь габаритного фонаря / подфарника, включаемого при движении в светлое время суток.

        Номинальное сопротивление

        Подключение диагностического прибора

        Условие

        Заданные условия

        A73-1 (E) - F-3

        Всегда

        Менее 1 Ом

        A73-5 (B) - F-2

        Всегда

        Менее 1 Ом

        A73-6 (B) - F-1

        Всегда

        Менее 1 Ом

        Если результат проверки не отвечает требованиям, замените правую фару в сборе (шнур фары).

      5. Проверьте выходную цепь габаритного фонаря / подфарника, включаемого при движении в светлое время суток.

        Номинальное сопротивление

        Подключение диагностического прибора

        Условие

        Заданные условия

        F-4 - G-5

        Всегда

        Менее 1 Ом

        F-5 - G-4

        Всегда

        Менее 1 Ом

        F-6 - G-3

        Всегда

        Менее 1 Ом

        F-7 - G-1

        Всегда

        Менее 1 Ом

        Если результат проверки не отвечает требованиям, замените правую фару в сборе (шнур фары).

  11. ПРОВЕРЬТЕ СВЕТОДИОДНЫЙ БЛОК ПРАВОЙ ФАРЫ В СБОРЕ (для моделей без автоматической системы управления уровнем фар)

    1. E380641C01

      *a

      Устройство с неподсоединенным жгутом проводов

      (Светодиодный блок правой фары в сборе)

      Подайте напряжение аккумуляторной батареи на светодиодный блок правой фары в сборе и убедитесь, что затенение ближнего / дальнего света работает.

      СООТВ

      Условие

      Заданные условия

      Положительный (+) вывод аккумуляторной батареи → контакт 1

      Отрицательный (-) вывод аккумуляторной батареи → контакт 2

      Нормальная работа

      Если результат проверки не отвечает требованиям, замените светодиодный блок правой фары в сборе.

  12. ПРОВЕРЬТЕ СВЕТОДИОДНЫЙ БЛОК ПРАВОГО ГАБАРИТНОГО ФОНАРЯ ФАРЫ № 1 (для моделей без автоматической системы управления уровнем фар)

    E380642C01

    *a

    Устройство с неподсоединенным жгутом проводов

    (Светодиодный блок правого габаритного фонаря фары № 1)

    1. Подайте напряжение аккумуляторной батареи на светодиодный блок правого габаритного фонаря фары № 1 и убедитесь, что светодиод горит.

      СООТВ

      Условие

      Заданные условия

      Положительный (+) вывод аккумуляторной батареи → контакт 1

      Отрицательный (-) вывод аккумуляторной батареи → контакт 3

      Габаритный фонарь / подфарник, включаемый при движении в светлое время суток горит

      Если результат не соответствует требованиям, замените светодиодный блок правого габаритного фонаря фары №1.