STEERING HEATER SWITCH INSPECTION

PROCEDURE

  1. INSPECT STEERING HEATER SWITCH

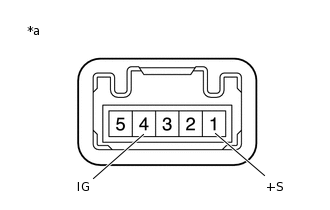
    1. C344783C01

      *a

      Component without harness connected

      (Steering Heater Switch)

      Measure the resistance according to the value(s) in the table below.

      Standard Resistance

      Tester Connection

      Condition

      Specified Condition

      4 (IG) - 1 (+S)

      Switch pushed

      Below 1 Ω

      4 (IG) - 1 (+S)

      Switch not pushed

      10 kΩ or higher

      If the result is not as specified, replace the steering heater switch.