ЖГУТ ЭЛЕКТРОПРОВОДКИ ТРАНСМИССИИ УЗЛЫ И ДЕТАЛИ
ИЛЛЮСТРАЦИЯ
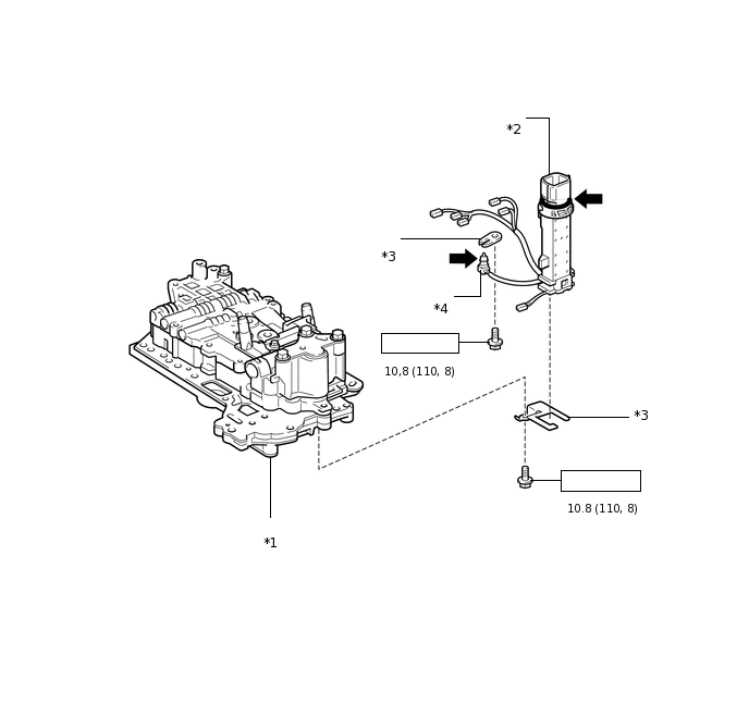
*1 |
КОРПУС КЛАПАНОВ ТРАНСМИССИИ В СБОРЕ |
*2 |
ЖГУТ ЭЛЕКТРОПРОВОДКИ ТРАНСМИССИИ |
*3 |
СТОПОРНАЯ ПЛАСТИНА |
*4 |
ДАТЧИК ТЕМПЕРАТУРЫ |
![]() |
Н*м (кгс*см, фунт-сила-фут) : Номинальный момент затяжки |
![]() |
Жидкость для автоматических трансмиссий WS от компании Тойота |

