EMISSION CONTROL SYSTEM


  1. CONSTRUCTION


    1. Except Models for Korea


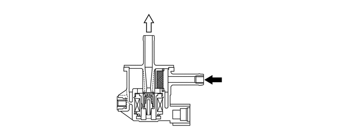
      1. The canister purge VSV controls purge flow volume in accordance with duty signals from the ECM. Purge flow volume is determined by the on/off intervals of the drive signal from the ECM (duty ratio).

        A01RY0M
        B00208D From Charcoal Canister Sub-assembly B00209S To Purge Port