СИСТЕМА УПРАВЛЕНИЯ ГИБРИДНОЙ СИСТЕМОЙ Цепь переключателя управления переключением

Код DTC Наименование DTC
Цепь переключателя управления переключением

ОПИСАНИЕ

Когда рычаг переключения передач находится в положении S, диапазоны передач можно свободно изменять с помощью переключателя управления переключением на переключателе передач трансмиссии в сборе.

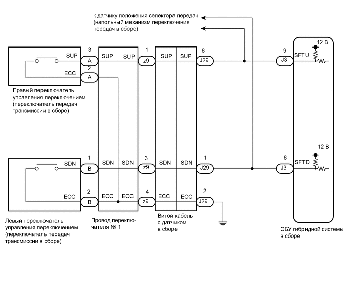
СХЕМА СОЕДИНЕНИЙ

A373464E02

ПОРЯДОК ВЫПОЛНЕНИЯ

  1. СНИМИТЕ ПОКАЗАНИЯ GTS (СОСТОЯНИЕ ДАТЧИКА ПОВЫШЕНИЯ ПЕРЕДАЧИ В РЕЖИМЕ SPORT, СОСТОЯНИЕ ДАТЧИКА ПОНИЖЕНИЯ ПЕРЕДАЧИ В РЕЖИМЕ SPORT)

    1. Подключите GTS к DLC3.

    2. Включите питание (IG).

    3. Войдите в следующие меню: Powertrain / Hybrid Control / Data List / Sport Up Shift Sens State, Sport Dwn Shift Sens State.

      Powertrain > Hybrid Control > Data List

      Информация на дисплее прибора

      Sport Up Shift Sens State

      Sport Dwn Shift Sens State

    4. Считайте значение, отображаемое на GTS.

      Powertrain > Hybrid Control > Data List

      Информация на дисплее прибора

      Измеряемая величина

      Диапазон

      Нормальное состояние

      Sport Up Shift Sens State

      Сигнал переключения на повышенную передачу в спортивном режиме

      ON (ВКЛ) или OFF (ВЫКЛ)

      ON (ВКЛ): Правый переключатель управления переключением (+) нажат

      OFF (ВЫКЛ): Правый переключатель управления переключением (+) не нажат

      Sport Dwn Shift Sens State

      Сигнал переключения на пониженную передачу в спортивном режиме

      ON (ВКЛ) или OFF (ВЫКЛ)

      ON (ВКЛ): Левый переключатель управления переключением (-) нажат

      OFF (ВЫКЛ): Левый переключатель управления переключением (-) не нажат

    Result

    Result

    Перейдите к

    Показания на дисплее GTS изменяются в соответствии с положением переключателя управления переключением (переключателя передач трансмиссии в сборе).

    А

    Показания на дисплее GTS не изменяются в соответствии с положением переключателя управления переключением (переключателя передач трансмиссии в сборе).

    B

    A

    ПРОВЕРЬТЕ, НЕТ ЛИ ЭПИЗОДИЧЕСКИХ НЕИСПРАВНОСТЕЙ

    Нажмите здесьClick here

    B
  2. ПРОВЕРЬТЕ ЖГУТ ПРОВОДОВ И РАЗЪЕМ (ВИТОЙ КАБЕЛЬ С ДАТЧИКОМ В СБОРЕ - ЭБУ ГИБРИДНОЙ СИСТЕМЫ)

    1. Отсоедините разъем J3 ЭБУ гибридной системы.

    2. Отсоедините разъем J21 датчика положения селектора передач (напольного механизма переключения передач в сборе).

    3. C264019C43

      *a

      Вид сзади разъема со стороны жгута проводов

      (к ЭБУ гибридной системы в сборе)

      Поочередно устанавливая переключатель управления переключением (переключатель передач трансмиссии в сборе) в каждое положение, измерьте сопротивление в соответствии со значениями, указанными в таблице ниже.

      Номинальное сопротивление

      Подключение диагностического прибора

      Условие

      Заданные условия

      J3-9 (SFTU) - масса

      Правый переключатель управления переключением (+) нажат

      Менее 2,5 Ом

      J3-8 (SFTD) - масса

      Левый переключатель управления переключением (-) нажат

      Менее 2,5 Ом

      J3-9 (SFTU) - масса

      Правый переключатель управления переключением (+) не нажат

      10 кОм или более

      J3-8 (SFTD) - масса

      Левый переключатель управления переключением (-) не нажат

      10 кОм или более

    4. Подсоедините разъем J21 датчика положения селектора передач (напольного механизма переключения передач в сборе).

    5. Подсоедините разъем J3 ЭБУ гибридной системы.

    Результат

    Перейти к

    OK

    НЕ СООТВ.

    OK

    ЗАМЕНИТЕ ЭБУ ГИБРИДНОЙ СИСТЕМЫ В СБОРЕ

    Нажмите здесьClick hereClick hereClick here

    NG
  3. ПРОВЕРЬТЕ ЖГУТ ПРОВОДОВ И РАЗЪЕМ (ВИТОЙ КАБЕЛЬ С ДАТЧИКОМ В СБОРЕ - МАССА)

    1. C251954C08

      *a

      Вид спереди разъема со стороны жгута проводов:

      (к витому кабелю с датчиком в сборе)

      Отсоедините разъем J29 витого кабеля с датчиком в сборе.

    2. Измерьте сопротивление в соответствии со значениями, приведенными в таблице.

      Номинальное сопротивление (обрыв)

      Подключение диагностического прибора

      Условие

      Заданные условия

      J29-2 (ECC) - масса

      Всегда

      Менее 1 Ом

    3. Подсоедините разъем J29 витого кабеля с датчиком в сборе.

    Результат

    Перейти к

    OK

    НЕ СООТВ.

    НЕ СООТВ.

    ОТРЕМОНТИРУЙТЕ ИЛИ ЗАМЕНИТЕ ЖГУТ ПРОВОДОВ ИЛИ РАЗЪЕМ

    СООТВ
  4. ПРОВЕРЬТЕ ЖГУТ ПРОВОДОВ И РАЗЪЕМ (ВИТОЙ КАБЕЛЬ С ДАТЧИКОМ В СБОРЕ - ЭБУ ГИБРИДНОЙ СИСТЕМЫ)

    1. Отсоедините разъем J3 ЭБУ гибридной системы.

    2. Отсоедините разъем J29 витого кабеля с датчиком в сборе.

    3. A373465C02

      *a

      Вид сзади разъема со стороны жгута проводов

      (к ЭБУ гибридной системы в сборе)

      *b

      Вид спереди разъема со стороны жгута проводов:

      (к витому кабелю с датчиком в сборе)

      Измерьте сопротивление в соответствии со значениями, приведенными в таблице ниже.

      Номинальное сопротивление

      Подключение диагностического прибора

      Условие

      Заданные условия

      J3-9 (SFTU) - J29-8 (SUP)

      Всегда

      Менее 1 Ом

      J3-8 (SFTD) - J29-1 (SDN)

      Всегда

      Менее 1 Ом

      J3-9 (SFTU) или J29-8 (SUP) - масса

      Всегда

      1 МОм или более

      J3-8 (SFTD) или J29-1 (SDN)- масса

      Всегда

      1 МОм или более

    4. Подсоедините разъем J29 витого кабеля с датчиком в сборе.

    5. Подсоедините разъем J3 ЭБУ гибридной системы.

    Результат

    Перейти к

    OK

    НЕ СООТВ.

    НЕ СООТВ.

    ОТРЕМОНТИРУЙТЕ ИЛИ ЗАМЕНИТЕ ЖГУТ ПРОВОДОВ ИЛИ РАЗЪЕМ

    СООТВ
  5. ПРОВЕРЬТЕ ВИТОЙ КАБЕЛЬ С ДАТЧИКОМ В СБОРЕ

    1. Снимите витой кабель с датчиком в сборе.

      Нажмите здесьClick hereClick here

    2. Установите витой кабель с датчиком в сборе в центральное положение.

      Нажмите здесьClick hereClick here

    3. Измерьте сопротивление между контактами витого кабеля с датчиком в сборе в соответствии со значениями, указанными в таблице ниже.

      C330281C08

      *A

      для моделей без системы подогрева рулевого колеса и предаварийной системы безопасности

      *B

      для моделей с системой подогрева рулевого колеса или с предаварийной системой безопасности

      *a

      Устройство с неподсоединенным жгутом проводов

      (Витой кабель с датчиком в сборе)

      -

      -

      Note:
      • Прежде чем поворачивать витой кабель с датчиком в сборе, обязательно нажмите на фиксатор, показанный на рисунке, чтобы освободить механизм блокировки.

      • Никогда не поворачивайте витой кабель с датчиком в сборе больше, чем требуется, иначе можно повредить его.

      1. После установки витого кабеля с датчиком в сборе в центральное положение поверните его на 2,5 оборота по часовой стрелке и измерьте сопротивление. Затем поверните витой кабель с датчиком в сборе на 2,5 оборота против часовой стрелки и измерьте сопротивление.

      2. Установите витой кабель с датчиком в сборе в центральное положение и поверните его на 2,5 оборота по часовой стрелке. Затем, повернув витой кабель с датчиком в сборе на 5 оборотов против часовой стрелки, измерьте сопротивление.

      Номинальное сопротивление

      Подключение диагностического прибора

      Условие

      Заданные условия

      J29-8(SUP) - z9-1 (SUP)

      Всегда

      Менее 3 Ом

      J29-2(ECC) - z9-4 (ECC)

      Всегда

      Менее 3 Ом

      J29-1(SDN) - z9-3 (SDN)

      Всегда

      Менее 3 Ом

      Note:

      Никогда не поворачивайте витой кабель с датчиком в сборе больше, чем требуется, иначе можно повредить его.

    4. Установите витой кабель с датчиком в сборе.

    Result

    Перейти к

    OK

    НЕ СООТВ.

    НЕ СООТВ.

    ЗАМЕНИТЕ ВИТОЙ КАБЕЛЬ С ДАТЧИКОМ В СБОРЕ

    Нажмите здесьClick hereClick here

    СООТВ
  6. ПРОВЕРЬТЕ ЛЕВЫЙ ПЕРЕКЛЮЧАТЕЛЬ УПРАВЛЕНИЯ ПЕРЕКЛЮЧЕНИЕМ (ПЕРЕКЛЮЧАТЕЛЬ ПЕРЕДАЧ ТРАНСМИССИИ В СБОРЕ)

    1. Снимите левый переключатель управления переключением (переключатель передач трансмиссии в сборе).

      Нажмите здесьClick hereClick here

    2. C284832C15

      *a

      Устройство с отсоединенным жгутом проводов

      (Левый переключатель управления переключением (переключатель передач трансмиссии в сборе))

      Поочередно устанавливая переключатель управления переключением (переключатель передач трансмиссии в сборе) в каждое положение, измерьте сопротивление в соответствии со значениями, указанными в таблице ниже.

      Номинальное сопротивление

      Подключение диагностического прибора

      Условие

      Заданные условия

      B-1 (SDN) - B-2 (ECC)

      Левый переключатель управления переключением (-) нажат

      Менее 2,5 Ом

      Левый переключатель управления переключением (-) не нажат

      10 кОм или более

    3. Установите левый переключатель управления переключением (переключатель передач трансмиссии в сборе).

    Result

    Перейти к

    OK

    НЕ СООТВ.

    НЕ СООТВ.

    ЗАМЕНИТЕ ЛЕВЫЙ ПЕРЕКЛЮЧАТЕЛЬ УПРАВЛЕНИЯ ПЕРЕКЛЮЧЕНИЕМ (ПЕРЕКЛЮЧАТЕЛЬ ПЕРЕДАЧ ТРАНСМИССИИ В СБОРЕ)

    Нажмите здесьClick hereClick here

    СООТВ
  7. ПРОВЕРЬТЕ ПРАВЫЙ ПЕРЕКЛЮЧАТЕЛЬ УПРАВЛЕНИЯ ПЕРЕКЛЮЧЕНИЕМ (ПЕРЕКЛЮЧАТЕЛЬ ПЕРЕДАЧ ТРАНСМИССИИ В СБОРЕ)

    1. Снимите правый переключатель управления переключением (переключатель передач трансмиссии в сборе).

      Нажмите здесьClick hereClick here

    2. C284833C12

      *a

      Устройство с неподсоединенным жгутом проводов

      (Правый переключатель управления переключением (переключатель передач трансмиссии в сборе))

      Поочередно устанавливая переключатель управления переключением (переключатель передач трансмиссии в сборе) в каждое положение, измерьте сопротивление в соответствии со значениями, указанными в таблице ниже.

      Номинальное сопротивление

      Подключение диагностического прибора

      Условие

      Заданные условия

      A-3 (SUP) - A-2 (ECC)

      Правый переключатель управления переключением (+) нажат

      Менее 2,5 Ом

      Правый переключатель управления переключением (+) не нажат

      10 кОм или более

    3. Установите правый переключатель управления переключением (переключатель передач трансмиссии в сборе).

    Result

    Перейти к

    OK

    НЕ СООТВ.

    НЕ СООТВ.

    ЗАМЕНИТЕ ПРАВЫЙ ПЕРЕКЛЮЧАТЕЛЬ УПРАВЛЕНИЯ ПЕРЕКЛЮЧЕНИЕМ (ПЕРЕКЛЮЧАТЕЛЬ ПЕРЕДАЧ ТРАНСМИССИИ В СБОРЕ)

    Нажмите здесьClick hereClick here

    СООТВ
  8. ПРОВЕРЬТЕ ЖГУТ ПРОВОДОВ ПЕРЕКЛЮЧАТЕЛЯ № 1

    1. Отсоедините разъем z9 жгута проводов переключателя № 1.

    2. C338575C05

      *a

      Вид спереди разъема со стороны жгута проводов:

      (Провод переключателя № 1 (к витому кабелю с датчиком в сборе))

      Поочередно устанавливая переключатель управления переключением (переключатель передач трансмиссии в сборе) в каждое положение, измерьте сопротивление в соответствии со значениями, указанными в таблице ниже.

      Номинальное сопротивление

      Подключение диагностического прибора

      Условие

      Заданные условия

      z9-3 (SDN) - z9-4 (ECC)

      Левый переключатель управления переключением (-) нажат

      Менее 2,5 Ом

      z9-1 (SUP) - z9-4 (ECC)

      Правый переключатель управления переключением (+) нажат

      Менее 2,5 Ом

      z9-3 (SDN) - z9-4 (ECC)

      Левый переключатель управления переключением (-) не нажат

      10 кОм или более

      z9-1 (SUP) - z9-4 (ECC)

      Правый переключатель управления переключением (+) не нажат

      10 кОм или более

    3. Подсоедините разъем z9 жгута проводов переключателя № 1.

    Результат

    Перейти к

    OK

    НЕ СООТВ.

    OK

    ПРОВЕРЬТЕ, НЕТ ЛИ ЭПИЗОДИЧЕСКИХ НЕИСПРАВНОСТЕЙ

    Нажмите здесьClick here

    NG

    ЗАМЕНИТЕ ПРОВОД ПЕРЕКЛЮЧАТЕЛЯ № 1

    Нажмите здесьClick hereClick here