ПЕРЕКЛЮЧАТЕЛЬ ПОЛНОГО ПРИВОДА ПРОВЕРКА

ПОРЯДОК ВЫПОЛНЕНИЯ

  1. СНИМИТЕ КОМБИНИРОВАННЫЙ ПЕРЕКЛЮЧАТЕЛЬ № 2 В СБОРЕ

    Нажмите здесьClick here

  2. ПРОВЕРЬТЕ КОМБИНИРОВАННЫЙ ПЕРЕКЛЮЧАТЕЛЬ № 2 В СБОРЕ

    1. C301689C02

      *a

      Устройство с неподсоединенным жгутом проводов

      (Комбинированный переключатель № 2 в сборе (переключатель режима блокировки постоянного полного привода))

      Измерьте сопротивление в соответствии со значениями, приведенными в таблице ниже.

      Номинальное сопротивление

      Подключение диагностического прибора

      Положение переключателя

      Заданные условия

      6 (B) - 18 (GND)

      ON (ВКЛ)

      Менее 1 Ом

      OFF (ВЫКЛ.)

      10 кОм или более

      Если результат не соответствует требованиям, замените комбинированный переключатель № 2 в сборе (переключатель режима блокировки постоянного полного привода).

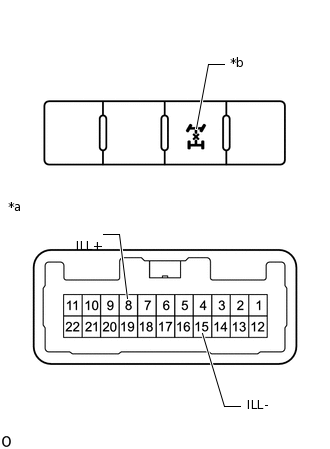
    2. C381460C02

      *a

      Устройство с неподсоединенным жгутом проводов

      (Комбинированный переключатель № 2 в сборе (переключатель режима блокировки постоянного полного привода))

      *b

      Подсветка комбинированного переключателя № 2 в сборе (переключателя режима блокировки постоянного полного привода)

      Подайте напряжение аккумуляторной батареи на контакты переключателя и проверьте состояние подсветки комбинированного переключателя № 2 в сборе (переключателя режима блокировки постоянного полного привода).

      Стандартн.

      Указанные условия

      Номинальное значение

      Положительный (+) вывод аккумуляторной батареи → 8 (ILL+)

      Отрицательный (-) вывод аккумуляторной батареи → 15 (ILL-)

      Светится

      Если результат не соответствует требованиям, замените комбинированный переключатель № 2 в сборе (переключатель режима блокировки постоянного полного привода).

  3. УСТАНОВИТЕ КОМБИНИРОВАННЫЙ ПЕРЕКЛЮЧАТЕЛЬ № 2 В СБОРЕ

    Нажмите здесьClick here