STOP LIGHT CONTROL RELAY ON-VEHICLE INSPECTION

PROCEDURE

  1. INSPECT STOP LIGHT CONTROL ECU ASSEMBLY

    1. E173014C16

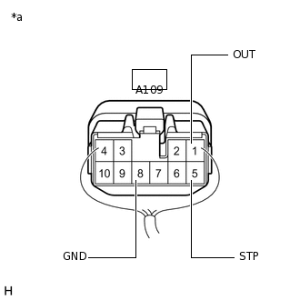
      *a

      Front view of wire harness connector

      (to Stop Light Control ECU Assembly)

      Disconnect the stop light control ECU assembly connector.

    2. Measure the voltage and resistance on the wire harness side connector according to the value (s) in the table below.

      Standard Voltage

      Tester Connection

      Condition

      Specified Condition

      A109-6 (+B) - A109-8 (GND)

      Always

      11 to 14 V

      A109-9 (ACC) - A109-8 (GND)

      Ignition switch on (IG)

      11 to 14 V

      Standard Resistance

      Tester Connection

      Condition

      Specified Condition

      A109-8 (GND) - Body ground

      Always

      Below 1 Ω

      If the result is not as specified, repair or replace the wire harness or connector.

    3. Reconnect the stop light control ECU assembly connector.

    4. E173013C18

      *a

      Component with harness connected

      (Stop Light Control ECU Assembly)

      Measure the voltage according to the value (s) in the table below.

      Standard Voltage

      Tester Connection

      Condition

      Specified Condition

      A109-1 (OUT) - A109-8 (GND)

      Brake pedal not depressed → pressed

      Below 0 to 1.5 V → 7.5 to 14 V

      A109-5 (STP) - A109-8 (GND)

      Brake pedal not depressed → pressed

      Below 0 to 1.5 V → 7.5 to 14 V

      If the result is not as specified, replace the stop light control ECU assembly.