NAVIGATION SYSTEM DTC CHECK / CLEAR

  1. CHECK DTC (CHECK USING GTS)

    1. Connect the GTS to the DLC3.

    2. Turn the power switch on (IG).

    3. Turn the GTS on.

    4. Enter the following menus: Body Electrical / Navigation System / Trouble Codes.

      Body Electrical > Navigation System > Trouble Codes

    5. Check for DTCs, and then write them down.

    6. Check the details of the DTC(s).

  2. CLEAR DTC (CLEAR USING GTS)

    1. Connect the GTS to the DLC3.

    2. Turn the power switch on (IG).

    3. Turn the GTS on.

    4. Enter the following menus: Body Electrical / Navigation System / Trouble Codes.

      Body Electrical > Navigation System > Clear DTCs

    5. Clear the DTCs.

  3. START DIAGNOSTIC MODE (for 6.1 Inch Display)

    Tip:
    • Illustrations may differ from the actual vehicle screen depending on the device settings and options. Therefore, some detailed areas may not be shown exactly the same as on the actual vehicle screen.

    • After the power switch is turned on (IG), check that the map is displayed before starting diagnostic mode. Otherwise, some items cannot be checked.

    • Start diagnostic mode using either of the 2 methods below.

    1. Method 1

      1. E337722C01

        *a

        "MEDIA" Switch

        *b

        "CAR" Switch

        Turn the power switch on (IG).

      2. While pressing and holding the "CAR" or "MEDIA" switch of the radio and display receiver assembly, operate the light control switch: Off → Tail → Off → Tail → Off → Tail → Off.

      3. Diagnostic mode starts and the "Service Menu" screen will be displayed. Service inspection starts automatically and the result will be displayed.

    2. Method 2

      Note:

      If the operation fails and diagnostic mode cannot be entered, turn the radio and display receiver assembly screen display on and off once, and then perform the procedures listed below from the first step again. (Only turning the radio and display receiver assembly power supply on and off will not work.)

      1. E337723C01

        *a

        ">" Switch

        *b

        "<" Switch

        Turn the power switch on (IG).

      2. Turn the radio and display receiver assembly screen display off.

      3. Turn the radio and display receiver assembly power supply off.

      4. Press the ">" switch 5 times, and then press the "<" switch 5 times within 15 seconds.

      5. Diagnostic mode starts and the "Service Menu" screen will be displayed. Service inspection starts automatically and the result will be displayed.

  4. START DIAGNOSTIC MODE (for 7 Inch Display)

    Tip:
    • Illustrations may differ from the actual vehicle screen depending on the device settings and options. Therefore, some detailed areas may not be shown exactly the same as on the actual vehicle screen.

    • After the power switch is turned on (IG), check that the map is displayed before starting diagnostic mode. Otherwise, some items cannot be checked.

    • Start diagnostic mode using either of the 2 methods below.

    1. Method 1

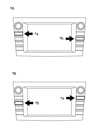
      1. E335186C01

        *A

        for LHD

        *B

        for RHD

        *a

        "MEDIA" Switch

        *b

        "CAR" Switch

        Turn the power switch on (IG).

      2. While pressing and holding the "CAR" or "MEDIA" switch of the radio and display receiver assembly, operate the light control switch: Off → Tail → Off → Tail → Off → Tail → Off.

      3. Diagnostic mode starts and the "Service Menu" screen will be displayed. Service inspection starts automatically and the result will be displayed.

    2. Method 2

      Note:

      If the operation fails and diagnostic mode cannot be entered, turn the radio and display receiver assembly screen display on and off once, and then perform the procedures listed below from the first step again. (Only turning the radio and display receiver assembly power supply on and off will not work.)

      1. E335187C01

        *A

        for LHD

        *B

        for RHD

        *a

        ">" Switch

        *b

        "<" Switch

        Turn the power switch on (IG).

      2. Turn the radio and display receiver assembly screen display off.

      3. Turn the radio and display receiver assembly power supply off.

      4. Press the ">" switch 5 times, and then press the "<" switch 5 times within 15 seconds.

      5. Diagnostic mode starts and the "Service Menu" screen will be displayed. Service inspection starts automatically and the result will be displayed.

  5. FAILURE DIAGNOSIS

    1. E286356

      The "Failure Diagnosis" screen will be displayed by pressing the "Failure Diagnosis" switch on the "Service Menu" screen.

  6. SYSTEM CHECK

    1. E335222

      The "System Check Mode" screen will be displayed by pressing the "System Check" switch on the "Failure Diagnosis" screen.

  7. CHECK DTC (CHECK USING SYSTEM CHECK MODE SCREEN)

    1. E335223E02

      System check mode screen description

      Table 1. Screen Description

      Display

      Content

      *a: Device Name List No. 1

      • Device Name List No. 1 displays some of the devices that make up the navigation system.

      • The names of the components from Device Name List No. 1 are shown in the following table.

      *b: Check Result

      Result codes for all devices are displayed.

      *c: Memory Clear

      • Present and history DTCs and registered connected device names are cleared.

      • Press the "Memory CLR" switch for 3 seconds.

      *d: Recheck

      • A system check will be performed again after the memory is cleared.

      • The "Recheck" switch will dim during a system check.

      *e: Device Name List No. 2

      • Device Name List No. 2 displays some of the devices that make up the navigation system.

      • The names of the components from Device Name List No. 2 are shown in the following table.

      Table 2. *a: Device Name List No. 1 Description

      Name

      Component

      Connection Method

      DA

      Radio and display receiver assembly

      -

      NAVI BOX

      Navigation ECU

      LVDS communication line

      DSP-AMP

      Stereo component amplifier assembly

      Communication line for AVC-LAN

      CAMERA-C

      Parking assist ECU

      Communication line for AVC-LAN

      Table 3. *b: Check Result Description

      Result

      Meaning

      Action

      OK

      The device does not respond with a DTC.

      -

      DETAIL

      The device responds with a DTC.

      Look up the DTC in "Unit Check Mode".

      NCON*

      The device was previously present, but does not respond in diagnostic mode.

      - Check power supply wire harness of the device.

      - Check the AVC-LAN of the device.

      NRES*

      The device responds in diagnostic mode, but gives no DTC information.

      - Check power supply wire harness of the device.

      - Check the AVC-LAN of the device.

      Tip:

      *: As these functions are not equipped on the vehicle, they are not displayed.

      Table 4. *e: Device Name List No. 2 Description

      Name

      Component

      Connection Method

      AUX/VTR

      No. 1 stereo jack adapter assembly

      Vehicle wire harness

    2. E276983N01

      Unit check mode screen description

      Table 5. Screen Description

      Display

      Content

      a: Device name

      Target device

      *b: History DTC

      Diagnostic memory results and stored DTCs are displayed.

      *c: Current DTC

      DTCs output in the service check are displayed.

      *d: DTC

      DTC (Diagnostic Trouble Code)

      *e: Timestamp

      The time and date of history DTCs are displayed. (The year is displayed in 2-digit format.)

      *f: Diagnosis clear switch

      Pushing this switch for 3 seconds clears the diagnostic memory data of the target device. (Both response to diagnostic system check result and the displayed data are cleared.)

      Tip:
      • This screen is updated once per second.

      • A maximum of 6 DTCs can be displayed for history and present DTCs.

    3. E335224

      Read the system check result.

      1. If the check result is "DETAIL", touch the displayed check result to view the results on the "Unit Check Mode" screen and record them.

        Note:

        A maximum of 6 DTCs can be displayed for history and present DTCs on the "Unit check mode" screen. Therefore, when 6 DTCs are displayed, troubleshoot those DTCs first and then check the "Unit check mode" screen again to see if any other DTCs are displayed.

        Tip:
        • When all results are "OK", this means that no DTCs are output.

        • When proceeding to view the results of another device, press the "Back" switch to return to the "System Check Mode" screen. Repeat the step above to view the results of other devices.

      2. Check the details of the DTC(s).

        Click hereClick hereClick here

  8. DTC CLEAR/RECHECK (CLEAR USING SYSTEM CHECK MODE SCREEN)

    1. E335225

      Clear DTCs

      1. Press the "Memory CLR" switch for 3 seconds.

      2. Confirm that the check results are cleared.

        Tip:
        • To clear the DTCs for a specific device, clear the DTCs using the "Unit Check Mode" screen.

        • When clearing the DTCs using the "Unit Check Mode" screen, press the "Code CLR" switch for 3 seconds.

    2. E335226

      Recheck

      1. Press the "Recheck" switch.

      2. E335221

        Confirm that all diagnostic codes are "OK" when the check results are displayed. If a code other than "OK" is displayed, troubleshoot again.

        Tip:

        When the DTCs are cleared using the "Unit Check Mode" screen, press the "Back" switch to return to the "System Check Mode" screen and perform this operation.

  9. FINISH DIAGNOSTIC MODE

    1. Turn the power switch off.