CAMSHAFT OIL CONTROL VALVE INSPECTION

PROCEDURE

  1. INSPECT CAMSHAFT TIMING OIL CONTROL VALVE ASSEMBLY

    1. Measure the resistance according to the value(s) in the table below.

      Standard Resistance

      Tester Connection

      Condition

      Specified Condition

      1 - 2

      20°C (68°F)

      6.9 to 7.9 Ω

      If the result is not as specified, replace the camshaft timing oil control valve assembly.

    2. Check the operation.

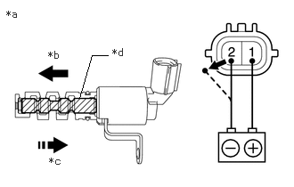
      1. A309601C01

        *a

        Component without harness connected

        (Camshaft Timing Oil Control Valve Assembly)

        *b

        When Applied

        *c

        When Cut Off

        *d

        Spool Valve

        Connect a battery positive (+) lead to terminal 1 and negative (-) lead to terminal 2, and check the movement of the spool valve.

        OK

        Condition

        Specified Condition

        Battery voltage applied

        Valve moves in left arrow direction shown in illustration

        Battery voltage cut off

        Valve moves in right arrow direction shown in illustration

        Note:

        Accumulation of foreign matter can cause minor pressure leaks. Minor pressure leaks will cause the camshaft to advance or retard, and this will cause a DTC to be stored.

        If the result is not as specified, replace the camshaft timing oil control valve assembly.