METER / GAUGE SYSTEM


  1. FUNCTION


    1. Buzzer Function


      1. The table below shows the warning and reminder functions of the buzzer in the combination meter assembly.

        1 Front Seat Belt Warning 2 EPS Warning
        3 Entry and Start System Warning*1 4 Key Reminder*2
        5 Engine Immobiliser Matching Completion Report*1 6 Speed Limiter Warning*3
        7 Shift Operation Reject Warning*4 8 Rev/Red Zone Warning*5
        9 Light Reminder - -

        Tech Tips

        *1: Models with entry and start system

        *2: Models without entry and start system

        *3: Models for G.C.C. countries

        *4: Models with A/T

        *5: Models with rev indicator/red zone indicator

    2. Multi-information Display Function

      Display Display Item Outline
      A004GVK Odometer Display Displays the odometer.
      A004GSL Trip Meter A Display Displays the trip meter A.
      A004GXZ Trip Meter B Display Displays the trip meter B.
      A004GOR

      M/T Shift and Shift-up Indicator Customize Display*1

      (While IG OFF)


      • Displays whether M/T shift and shift-up indicator display control is off or on.

      • When the ignition is off and the trip meter B is being displayed, pressing the ODO/TRIP switch quickly changes the display mode to M/T shift and shift-up indicator customize. Holding the ODO/TRIP switch down can toggle it between off and on.

      • Initial setup is off.

      A004GM9 Outside Temperature Display Displays the temperature outside.*2
      A004GTH Instant Fuel Consumption Display
      • Displays the value that has been calculated by the combination meter assembly, which is based on the distance driven and the fuel consumption volume.

      • The display updates constantly.

      A004GZS Average Fuel Consumption After Refueling Display
      • Displays the value that has been calculated by the combination meter assembly, which is based on the distance driven after reset and the fuel consumption.

      • Holding down the DISP switch will reset the fuel consumption meter.

      • The display updates every 10 seconds.

      A004GV7

      Rev Indicator/Red Zone Indicator Customize Display*3

      (While a Vehicle Stop)


      • Displays the starting engine revolution count for rev indicator light-up.

      • While rev indicator/red zone indicator customize is indicated, holding down the DISP switch changes it to setup mode. The starting engine revolution count for rev indicator light-up (2000 to 7400 revolutions) and rev/red zone buzzer on/off can be set.

      • When setting the rev indicator, the rev indicator will light up and the tachometer will display the set engine revolution count for 1 second with the ignition on.

      • The initial setup is the function off state.

      Tech Tips

      *1: Models with M/T shift and shift-up indicator customize display function for M/T

      *2: The indication of the outside temperature is influenced by vehicle speed, and the indication during a stop (low vehicle speed) is not updated, but is not abnormal.

      *3: Models with rev indicator/red zone indicator

  2. OPERATION


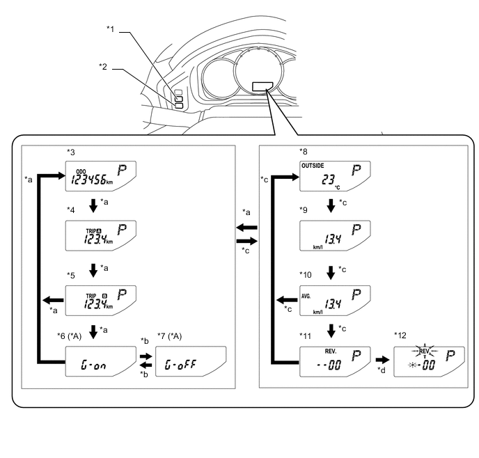
    1. Switching the Multi-information Display


      1. The multi-information display changes in the order shown below by pressing the ODO/TRIP switch or DISP switch.

        A004GNLE03
        Text in Illustration
        *A Models with M/T Shift and Shift-up Indicator Customize Display Function for M/T - -
        *1 ODO/TRIP Switch *2 DISP Switch
        *3 Odometer Display *4 Trip Meter A Display
        *5 Trip Meter B Display *6 M/T Shift and Shift-up Indicator Customize Display: G-On (While IG OFF)
        *7 M/T Shift and Shift-up Indicator Customize Display: G- Off (While IG OFF) *8 Outside Temperature Display
        *9 Instant Fuel Consumption Display *10 Average Fuel Consumption After Refueling Display
        *11 Rev Indicator/Red Zone Indicator Customize Display (Models with Rev Indicator/Red Zone Indicator) (While a Vehicle Stop) *12 Rev Indicator/Red Zone Indicator Customize Display Setup Mode (Models with Rev Indicator/Red Zone Indicator) (While a Vehicle Stop)
        *a ODO/TRIP switch short press *b ODO/TRIP switch long press
        *c DISP switch short press *d DISP switch long press
    2. Rev Indicator/Red Zone Indicator Customize Setup Mode Display


      1. The starting engine revolution count for rev indicator light-up (2000 to 7400 revolutions) and rev/red zone buzzer on/off can be set.

      2. When average fuel consumption is indicated while the vehicle is stopped, pressing the DISP switch quickly displays the rev indicator/red zone indicator customize mode. Holding down the DISP switch changes it to setup mode.

        A004GQLE02
        *A Rev Indicator Revolution Count Setup Mode *B Rev/Red Zone Buzzer On/Off Setup Mode
        *C Thousands-Digit Setup Screen *D Hundreds-Digit Setup Screen
        *E Revolution Count Confirmation Screen *F Buzzer On/Off Setup Screen
        *G Buzzer Setup Confirmation Screen - -
        *1 Rev Indicator/Red Zone Indicator Customize Display - -
        *a Initial display. Displays previous revolution setting if a previous setting value exists. *b "REV." and setable area blink during setup mode.
        *c Switch input invalid (1 second indication) - -
        A004GVA DISP switch short press A004GZF DISP switch long press
        Automatic transition [] Setting value