EXHAUST SYSTEM


  1. CONSTRUCTION


    1. Exhaust Manifold Sub-assemblies


      1. Noise has been reduced and heat resistance has been ensured by the adoption of an insulator on the stainless steel exhaust manifold, while catalyst warm-up following engine startup has been quickened to lower emissions.

      2. Loss of exhaust pressure has been reduced and power improved by the adoption of a 4-2-1 layout and optimization of the pipe diameter.

      3. A catalytic converter that integrates with the exhaust manifold has been adopted, thereby quickening the catalytic converter warm-up and improving emission performance immediately after engine startup.

      4. A design with compressed vertical dimensions has been adopted to lower the installation position of the engine.

      5. The intermediate pipe has been located above the front suspension crossmember to accommodate the low engine height.

      6. The shape of the exhaust manifold was optimized to increase exhaust efficiency of the M/T models for the Australia and New Zealand packages.

        B0082KZE02
        Text in Illustration
        *A For Models other than M/T Models for the Australia and New Zealand Packages *B Models with M/T for the Australia and New Zealand Packages
        *1 Intermediate Pipe *2 TWC
        *3 Insulator *4 Exhaust Manifold
    2. Exhaust Pipe


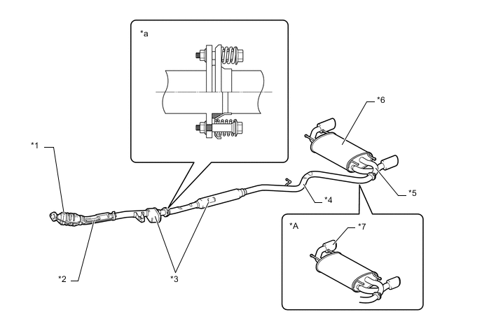
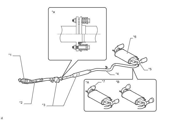
      1. The exhaust pipes are made of stainless steel for improved rust resistance.

      2. A compact sub-muffler has been installed to lower pressure loss and improve noise performance.

      3. A low-pressure-loss catalyst has been installed to lower pressure loss and improve exhaust gas performance.

        B0082IXE03
        Text in Illustration ( - 2017/10)
        *A Models for Korea *B Models for China
        *1 TWC *2 Front Exhaust Pipe Assembly
        *3 Sub Muffler *4 Center Exhaust Pipe Assembly
        *5 Tail Exhaust Pipe Assembly *6 Main Muffler
        *7 Tail Pipe Baffle - -
        *a Ball Joint Portion - -
        B0082J4E01
        Text in Illustration (2017/10 - )
        *A Models for Korea - -
        *1 TWC *2 Front Exhaust Pipe Assembly
        *3 Sub Muffler *4 Center Exhaust Pipe Assembly
        *5 Tail Exhaust Pipe Assembly *6 Main Muffler
        *7 Tail Pipe Baffle - -
        *a Ball Joint Portion - -