БЛОК ЦИЛИНДРОВ ПРОВЕРКА
ПОРЯДОК ВЫПОЛНЕНИЯ
ПРОВЕРЬТЕ КОРОБЛЕНИЕ БЛОКА ЦИЛИНДРОВ
-
С помощью прецизионной поверочной линейки и комплекта плоских щупов измерьте коробление поверхности, соприкасающейся с прокладкой головки блока цилиндров.
Максимально допустимая величина коробления
0,05 мм (0,00197 дюйма)
Если коробление превышает максимально допустимую величину, замените блок цилиндров.
-
ПРОВЕРЬТЕ ОТВЕРСТИЕ ПОД ЦИЛИНДР
-
*a
Направление тяги
*b
Осевое направление
*c
10 мм (0,394 дюйма)

Вперед
С помощью нутромера измерьте диаметр отверстия под цилиндр в точках А, В и С в осевом и радиальном направлениях.
Справочное значение (новые детали)
90,000 - 90,013 мм (3,543 - 3,544 дюйма)
Максимальный диаметр
90,13 мм (3,55 дюйма)
Если усредненное по 4 замерам значение диаметра превышает максимально допустимую величину, замените блок цилиндров.
-
ПРОВЕРЬТЕ ПОРШЕНЬ
Скребком для удаления остатков прокладок снимите нагар с верхней части поршня.
С помощью инструмента для очистки канавок или сломанного кольца очистите канавки поршневых колец.
Используя растворитель и щетку, тщательно очистите поршень.
Note:Не пользуйтесь проволочной щеткой.
-
*a
10,5 мм (0,413 дюйма)
С помощью микрометра измерьте диаметр поршня на расстоянии 10,5 мм (0,413 дюйма) от нижнего края поршня (см. рисунок).
Справочное значение (новые детали)
89,986 - 89,996 мм (3,5427 - 3,5431 дюйма)
ПРОВЕРЬТЕ МАСЛЯНЫЙ ЗАЗОР ПОРШНЯ
Отнимите от измеренного диаметра цилиндра измеренный диаметр поршня.
Справочное значение (новые детали)
0,004 - 0,042 мм (0,000157 - 0,00165 дюйма)
Максимальный допустимый масляный зазор
0,10 мм (0,00394 дюйма)
Если масляный зазор превышает максимально допустимую величину, замените все поршни. При необходимости замените блок цилиндров.
ПРОВЕРЬТЕ ЗАЗОР КАНАВКИ КОЛЬЦА
С помощью комплекта плоских щупов измерьте зазор между новым поршневым кольцом и стенкой канавки кольца.
Номинальный зазор канавки поршневого кольца
Параметр / Устройство
Номинальное значение
Компрессионное кольцо № 1
0,020-0,070 мм (0,000787-0,00276 дюйма)
Компрессионное кольцо № 2
0,020-0,060 мм (0,000787-0,00236 дюйма)
Маслосъемное кольцо
0,060 - 0,120 мм (0,00236 - 0,00472 дюйма)
Если зазор канавки не соответствует требованиям, замените поршень вместе с пальцем.
ПРОВЕРЬТЕ ЗАЗОР РАЗРЕЗА ПОРШНЕВОГО КОЛЬЦА
Вставьте поршневое кольцо в цилиндр.
С помощью поршня протолкните поршневое кольцо так, чтобы оно слегка выступало за нижний предел хода кольца, на расстоянии 120 мм (4,72 дюйма) от верхней части блока цилиндров.
С помощью комплекта плоских щупов измерьте зазор разреза.
Номинальный зазор разреза
Параметр / Устройство
Номинальное значение
Компрессионное кольцо № 1
0,22 - 0,27 мм (0,00866 - 0,0106 дюйма)
Компрессионное кольцо № 2
0,50 - 0,55 мм (0,0197 - 0,0217 дюйма)
Маслосъемное кольцо (Продольная направляющая)
0,10 - 0,35 мм (0,00394 - 0,0138 дюйма)
Максимальный зазор разреза
Наименование
Номинальное значение
Компрессионное кольцо № 1
0,87 мм (0,0343 дюйма)
Компрессионное кольцо № 2
1,15 мм (0,0453 дюйма)
Маслосъемное кольцо
0,95 мм (0,0374 дюйма)
Если величина зазора разреза превышает максимально допустимое значение, замените поршневое кольцо. Если величина зазора разреза превышает максимально допустимое значение даже после установки нового поршневого кольца, замените блок цилиндров.
ПРОВЕРЬТЕ МАСЛЯНЫЙ ЗАЗОР ПОРШНЕВОГО ПАЛЬЦА
Проверьте все отметки на поршне, поршневом пальце и шатуне.
*a
Метка передней стороны
*b
Положение метки внутреннего диаметра отверстия для поршневого пальца
*c
Метка внутреннего диаметра втулки малого конца шатуна
-
-
Tip:Передняя метка "2H" выполнена рельефными символами.
-
С помощью индикатора часового типа для отверстий измерьте внутренний диаметр отверстия под поршневой палец.
Номинальный внутренний диаметр отверстия под поршневой палец
Параметр / Устройство
Номинальное значение
Метка A
22,001 - 22,004 мм (0,86618 - 0,86630 дюйма)
Метка B
22,005 - 22,007 мм (0,86634 - 0,86642 дюйма)
Метка C
22,008 - 22,010 мм (0,86645 - 0,86653 дюйма)
-
*a
5 мм (0,197 дюйма)
*b
28 мм (1,10 дюйма)
Микрометром измерьте диаметр поршневого пальца.
Номинальный диаметр поршневого пальца
Наименование
Номинальное значение
Метка A
21,997 - 22,000 мм (0,86602 - 0,86614 дюйма)
Метка B
22,001 - 22,003 мм (0,86618 - 0,86626 дюйма)
Метка C
22,004-22,006 мм (0,86630-0,86638 дюйма)
Если диаметр не соответствует требованиям, замените поршневой палец.
С помощью индикатора часового типа для отверстий измерьте внутренний диаметр втулки малого конца шатуна.
Номинальный внутренний диаметр втулки малого конца шатуна
Параметр
Номинальное значение
Метка A
22,005 - 22,008 мм (0,86634 - 0,86645 дюйма)
Метка B
22,009 - 22,011 мм (0,86649 - 0,86657 дюйма)
Метка C
22,012-22,014 мм (0,86661-0,86669 дюйма)
Если диаметр не соответствует требованиям, замените шатун.
Вычтите из измеренного внутреннего диаметра отверстия под поршневой палец измеренный диаметр поршневого пальца.
Номинальный масляный зазор
0,001 - 0,007 мм (0,0000394 - 0,000276 дюйма)
Максимальный допустимый масляный зазор
0,013 мм (0,000512 дюйма)
Если масляный зазор превышает максимально допустимую величину, замените поршень и комплекте с поршневым пальцем.
Вычтите измеренное значение диаметра поршневого пальца из измеренного значения внутреннего диаметра втулки малого конца шатуна.
Номинальный масляный зазор
0,005 - 0,011 мм (0,000197 - 0,000433 дюйма)
Максимальный допустимый масляный зазор
0,017 мм (0,000669 дюйма)
Если масляный зазор превышает максимально допустимую величину, замените шатун. При необходимости замените шатун и поршневой палец в комплекте.
ПРОВЕРЬТЕ ШАТУН В СБОРЕ
-
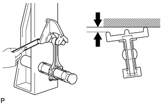
С помощью устройства для проверки кривизны шатуна и комплекта плоских щупов проверьте кривизну шатун.
Проверьте наличие изгибов.
Максимально допустимый изгиб
0,05 мм (0,00197 дюйма) на 100 мм (3,94 дюйма)
Если изгиб превышает максимально допустимую величину, замените шатун.
-
Убедитесь в отсутствии скручивания.
Максимально допустимое скручивание
0,15 мм (0,00591 дюйма) на 100 мм (3,94 дюйма)
Если скручивание превышает максимально допустимую величину, замените шатун.
-
ПРОВЕРЬТЕ КОЛЕНЧАТЫЙ ВАЛ
Проверьте радиальное биение.
Используя V-образные призмы и индикатор часового типа, измерьте радиальное биение.
Максимальное радиальное биение
0,03 мм (0,00118 дюйма)
Если радиальное биение превышает максимально допустимую величину, замените коленчатый вал.
-
Проверьте коренные шейки.
Микрометром измерьте диаметр каждой коренной шейки.
Номинальный диаметр коренной шейки
54,988 - 55,000 мм (2,1649 - 2,1654 дюйма)
Если диаметр не соответствует требованиям, проверьте масляный зазор коленчатого вала. При необходимости замените коленчатый вал.
Для каждой коренной шейки проверьте конусность и овальность, как показано на рисунке.
Максимально допустимая конусность и овальность
0,003 мм (0,000118 дюйма)
Если величины конусности и овальности превышают максимально допустимое значение, замените коленчатый вал.
-
Проверьте штифт коленчатого вала.
Микрометром измерьте диаметр каждого штифта коленчатого вала.
Номинальный диаметр шатунной шейки
51,492 - 51,500 мм (2,0272 - 2,0276 дюйма)
Если диаметр не соответствует требованиям, проверьте масляный зазор шатуна. При необходимости замените коленчатый вал.
Для каждого штифта коленчатого вала проверьте конусность и овальность, как показано на рисунке.
Максимально допустимая конусность и овальность
0,003 мм (0,000118 дюйма)
Если величины конусности и овальности превышают максимально допустимое значение, замените коленчатый вал.
ПРОВЕРЬТЕ МАСЛЯНЫЙ ЗАЗОР КОЛЕНЧАТОГО ВАЛА
Установите подшипники коленчатого вала.
Нажмите здесьClick here
Установите упорные шайбы коленчатого вала.
Нажмите здесьClick here
-
*a
Сминаемый пластмассовый калибр Plastigage
Очистите все коренные шейки и подшипники коленчатого вала.
Установите коленчатый вал в блок цилиндров.
На каждую шейку положите сминаемый пластичный калибр (Plastigage).
Установите крышки подшипников коленчатого вала.
Нажмите здесьClick here
Note:Не поворачивайте коленчатый вал.
Снимите крышки подшипников коленчатого вала.
Нажмите здесьClick hereClick here
-
*a
Сминаемый пластичный калибр Plastigage
Измерьте ширину сминаемого пластичного калибра Plastigage в самой широкой точке.
Номинальный масляный зазор
0,017 - 0,040 мм (0,000669 - 0,00158 дюйма)
Максимальный допустимый масляный зазор
0,05 мм (0,00197 дюйма)
Note:Полностью удалите сминаемый пластичный калибр Plastigage после измерений.
Если масляный зазор превышает максимально допустимую величину, замените подшипник коленчатого вала. При необходимости замените коленчатый вал.
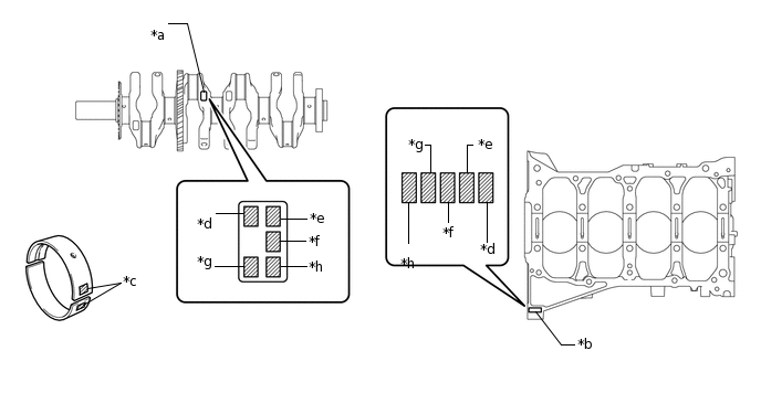
Tip:В случае замены подшипника новый подшипник должен иметь такой же номер, что был у прежнего. Если номер подшипника определить не удается, вычислите надлежащий номер, сложив номера, указанные на блоке цилиндров и коленчатом валу. Затем выберите подшипник с номером, равным рассчитанному значению. Существует 4 стандартных типоразмера подшипников, имеющих маркировку, соответственно, "1", "2", "3" и "4".
*a
Метка с номером коленчатого вала (В)
*b
Метка с номером блока цилиндров (А)
*c
Метки диаметра
*d
№ 1
*e
№ 2
*f
№ 3
*g
№ 4
*h
№ 5
ПРИМЕР
Блок цилиндров (A) "3" + коленчатый вал (B) "4" = итого "7"
Выберите подшипник с номером "3".
Таблица подшипников
(A) + (B)
Используемый подшипник
0 - 2
1
3 - 5
2
6 - 8
3
9 - 11
4
Номинальный внутренний диаметр шейки блока цилиндров (A)
Параметр
Номинальное сопротивление
Метка 0
59,000-59,002 мм (2,32283-2,32291 дюйма)
Метка 1
59,003-59,004 мм (2,32295-2,32299 дюйма)
Метка 2
59,005-59,006 мм (2,32303-2,32307 дюйма)
Метка 3
59,007-59,009 мм (2,32311-2,32318 дюйма)
Метка 4
59,010-59,011 мм (2,32322-2,32326 дюйма)
Метка 5
59,012-59,013 мм (2,32330-2,32334 дюйма)
Метка 6
59,014-59,016 мм (2,32338-2,32346 дюйма)
Номинальный диаметр коренной шейки коленчатого вала (B)
Наименование
Номинальное сопротивление
Метка 0
54,999-55,000 мм (2,16531-2,16535 дюйма)
Метка 1
54,997-54,998 мм (2,16523-2,16527 дюйма)
Метка 2
54,995-54,996 мм (2,16515-2,16519 дюйма)
Метка 3
54,993-54,994 мм (2,16507-2,16511 дюйма)
Метка 4
54,991-54,992 мм (2,16500-2,16504 дюйма)
Метка 5
54,988-54,990 мм (2,16488-2,16496 дюйма)
Номинальная толщина центральной стенки подшипника коленчатого вала (серебристого)
Параметр
Номинальное значение
Метка 1
1,991 - 1,994 мм (0,07839 - 0,07850 дюйма)
Метка 2
1,995 - 1,997 мм (0,07854 - 0,07862 дюйма)
Метка 3
1,998-2,000 мм (0,07866-0,07874 дюйма)
Метка 4
2,001 - 2,003 мм (0,07878 - 0,07886 дюйма)
Номинальная толщина центральной стенки подшипника коленчатого вала (черного)
Параметр
Номинальное значение
Метка 1
1,992 - 1,995 мм (0,07843 - 0,07854 дюйма)
Метка 2
1,996 - 1,998 мм (0,07858 - 0,07866 дюйма)
Метка 3
1,999 - 2,001 мм (0,07870 - 0,07878 дюйма)
Метка 4
2,002 - 2,004 мм (0,07882 - 0,07890 дюйма)
Выполните описанную выше проверку для каждой шейки.
ПРОВЕРЬТЕ БОЛТ КРЫШКИ ПОДШИПНИКА КОЛЕНЧАТОГО ВАЛА
-
*a
Точка измерения
С помощью штангенциркуля измерьте диаметр напряженной части болтов.
Точка замера
58,5 мм (2,30 дюйма)
Номинальный диаметр
9,77-9,96 мм (0,385-0,392 дюйма)
Минимально допустимый диаметр
9,1 мм (0,358 дюйма)
Если диаметр меньше минимально допустимого, замените болт крышки подшипника коленчатого вала.
-
ПРОВЕРЬТЕ БОЛТ ШАТУНА
-
*a
Часть, испытывающая напряжение
С помощью штангенциркуля измерьте диаметр напряженной части болта.
Номинальный диаметр
8,5 - 8,6 мм (0,335 - 0,339 дюйма)
Минимально допустимый диаметр
8,3 мм (0,327 дюйма)
Tip:Диаметр следует измерить в нескольких точках.
Если диаметр меньше минимально допустимого, замените болт шатуна.
-
ПРОВЕРЬТЕ МАСЛЯНУЮ ФОРСУНКУ № 1 В СБОРЕ
-
Введите в обратный клапан штифт, чтобы проверить, не залип ли он.
Если обнаружено залипание, замените масляную форсунку № 1.
Нажмите на обратный клапан штифтом и убедитесь, что он перемещается плавно.
Если клапан двигается не плавно, очистите или замените масляную форсунку № 1.
-
Подайте воздух в патрубок A. Убедитесь в отсутствии утечки воздуха через патрубок B.
Если происходит утечка воздуха, очистите или замените масляную форсунку № 1.
-
Нажмите на обратный клапан, одновременно подавая воздух в патрубок А. Убедитесь, что воздух проходит через патрубок В.
Если воздух не выходит через отверстие B, очистите или замените масляную форсунку № 1.
-
ПРОВЕРЬТЕ МАСЛЯНУЮ ФОРСУНКУ № 2 В СБОРЕ
-
Введите в обратный клапан штифт, чтобы проверить, не залип ли он.
Если обнаружено залипание, замените масляную форсунку № 2.
Нажмите на обратный клапан штифтом и убедитесь, что он перемещается плавно.
Если клапан двигается не плавно, очистите или замените масляную форсунку № 2.
-
Закрыв отверстие A, подайте сжатый воздух в отверстие B. Убедитесь, что воздух не выходит через отверстие C. Выполните проверку еще раз, закрыв отверстие B и подав воздух в отверстие A.
Если происходит утечка воздуха, очистите или замените масляную форсунку № 2.
-
Закрыв отверстие A, нажмите обратный клапан и подайте сжатый воздух в отверстие B. Убедитесь, что воздух выходит через отверстие C. Выполните проверку еще раз, закрыв отверстие B, нажав обратный клапан и подав воздух в отверстие A.
Если воздух не выходит через отверстие С, очистите или замените масляную форсунку № 2.
-