CYLINDER BLOCK REPLACEMENT

PROCEDURE


  1. REPLACE RING PIN

    Note

    It is not necessary to remove the ring pin unless it is being replaced.


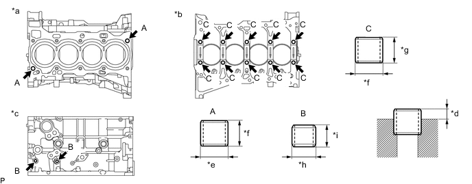
    1. Remove the 14 ring pins.

    2. Using a plastic-faced hammer, install 14 new ring pins.

      B0058U0C02
      *a Upper Side *b Lower Side
      *c LH Side *d Protrusion Height
      *e 15 mm (0.591 in.) *f 14 mm (0.551 in.)
      *g 12 mm (0.472 in.) *h 11 mm (0.433 in.)
      *i 8 mm (0.315 in.) - -
      Standard Protrusion Height
      Item Specified Condition
      A, C 5.0 to 7.0 mm (0.197 to 0.276 in.)
      B 3.0 to 5.0 mm (0.118 to 0.197 in.)
  2. REPLACE STRAIGHT PIN

    Note

    It is not necessary to remove the straight pin unless it is being replaced.


    1. Remove the 10 straight pins.

    2. Using a plastic-faced hammer, install 10 new straight pins.

      B005B2AC03
      *a Front Side *b Rear Side
      *c LH Side *d Lower Side
      *e RH Side *f Protrusion Height
      *g 22 mm (0.866 in.) *h 10 mm (0.394 in.)
      *i 14 mm (0.551 in.) *j 6 mm (0.236 in.)
      Standard Protrusion Height
      Item Specified Condition
      A 11.0 to 13.0 mm (0.433 to 0.512 in.)
      B, C 4.0 to 6.0 mm (0.157 to 0.236 in.)