AIR CONDITIONING SYSTEM, Diagnostic DTC:B1471/71

DTC Code DTC Name
B1471/71 A/C Inverter High Voltage Power Resource System Malfunction

DESCRIPTION

The A/C inverter assembly monitors the voltage of the auxiliary battery. It stops compressor control and stores this DTC when the monitored voltage is outside the specified range.

The output DTC is memorized as a history DTC. Compressor control may not resume unless the power switch is turned off.

DTC No. DTC Detection Condition Trouble Area
B1471/71
  • Open or short in A/C inverter high voltage power resource system

  • The boost inverter is broken or malfunctioning.


  • Electric vehicle fuse

  • No. 2 engine wire (harness or connector between compressor with motor assembly and inverter with converter assembly)

  • Compressor with motor assembly

  • Hybrid control system

  • CAN communication system

WIRING DIAGRAM

B005ZD8E04

CAUTION / NOTICE / HINT

CAUTION:


  • Wear insulated gloves and pull out the service plug grip before inspection as procedures may require disconnecting high-voltage connectors. Carry the removed service plug in your pocket to prevent other technicians from accidentally reconnecting it while you are servicing the vehicle.

  • Do not touch the high-voltage connectors or terminals for 10 minutes after the service plug grip is removed.

Note


  • After turning the power switch off, waiting time may be required before disconnecting the cable from the negative (-) auxiliary battery terminal. Therefore, make sure to read the disconnecting the cable from the negative (-) auxiliary battery terminal notices before proceeding with work Click here.

  • The hybrid control system and air conditioning system output DTCs separately. Inspect DTCs following the flow chart for the hybrid control system first if any DTCs from those systems are output simultaneously.

  • Inspect the fuses for circuits related to this system before performing the following inspection procedure.

PROCEDURE


  1. CHECK CAN COMMUNICATION SYSTEM


    1. Use the GTS to check if the CAN communication system is functioning normally.

      Result
      Result Proceed to
      CAN DTC is not output A
      CAN DTC is output (w/o Central Gateway ECU) B
      CAN DTC is output (w/ Central Gateway ECU) C

    B
    C
    A
  2. CHECK DIAGNOSTIC TROUBLE CODE (HYBRID CONTROL SYSTEM)


    1. Check if DTCs for the hybrid control system are output using the GTS.

      OK
      Hybrid control system DTCs are not output.

    NG
    OK
  3. INSPECT ELECTRIC VEHICLE FUSE

    CAUTION:

    Be sure to wear insulated gloves.


    1. Turn the power switch off.

    2. Remove the service plug grip Click here.

      CAUTION:

      Do not touch the high-voltage connectors or terminals for 10 minutes after the service plug grip is removed.

      Note

      After removing the service plug grip, turning the power switch on (READY) may cause a malfunction. Do not turn the power switch on (READY) with the service plug grip removed.

    3. Remove the inverter terminal cover Click here.

      Note

      Be sure to prevent foreign objects or water from entering the inverter with converter assembly.

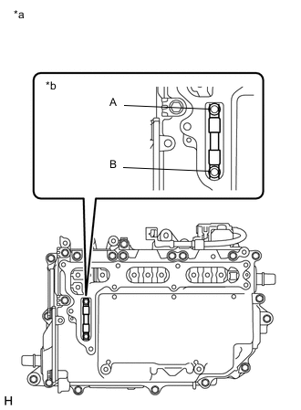
    4. B005YMME09
      Text in Illustration
      *a Inverter with Converter Assembly
      *b Electric Vehicle Fuse

      Check that bolts A and B are tightened securely.

    5. Measure the resistance according to the value(s) in the table below.

      Standard Resistance

      Tester Item

      (Tester Connection)

      Condition Specified Condition

      Electric vehicle fuse

      (A - B)

      Always Below 1 Ω

    NG
    OK
  4. INSPECT NO. 2 ENGINE WIRE

    CAUTION:

    Be sure to wear insulated gloves.


    1. Disconnect the No. 2 engine wire connector.

    2. Measure the resistance according to the value(s) in the table below.

      Standard Resistance
      Tester Connection Condition Specified Condition
      E1-1 (PE) - E3-2 (ACPE) Always Below 1 Ω
      E1-2 (PB) - E3-1 (ACPB) Always Below 1 Ω
      E1-1 (PE) - Body ground Always 10 kΩ or higher
      E1-2 (PB) - Body ground Always 10 kΩ or higher

    OK
    NG