БЛОК ДВИГАТЕЛЯ ПРОВЕРКА

ПОРЯДОК ВЫПОЛНЕНИЯ

  1. ПРОВЕРЬТЕ РЫЧАГ ПРИВОДА КЛАПАНА № 1 В СБОРЕ

    1. A160725

      Проверните ролик рукой и проверьте, чтобы он вращался плавно.

      Tip:

      Если ролик не вращается плавно, замените рычаг привода клапана № 1 в сборе.

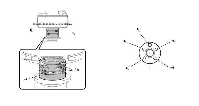
  2. ПРОВЕРЬТЕ МЕХАНИЗМ РЕГУЛИРОВКИ ЗАЗОРА В ПРИВОДЕ КЛАПАНА В СБОРЕ

    Note:
    • Не допускайте попадания грязи и посторонних частиц в механизм регулировки зазора в приводе клапанов.

    • Используйте только чистое моторное масло.

    1. Поместите механизм регулировки зазора в приводе клапана в емкость, наполненную моторным маслом.

      A293105C31

      *a

      Правильно

      *b

      Неправильно

      *c

      Конусность

      *d

      Камера низкого давления

      *e

      Камера высокого давления

      *f

      Плунжер

      *g

      Запорный шарик

      -

      -

    2. Вставьте наконечник специального инструмента в плунжер механизма регулировки зазора в приводе клапана и надавите на запорный шарик внутри плунжера.

      09276-75010

    3. Прижав SST к механизму регулировки зазора в приводе клапанов в сборе, переместите плунжер вверх и вниз 5-6 раз.

    4. Проверьте ход плунжера и выпустите воздух.

      OK

      Плунжер перемещается вверх и вниз.

      Note:

      Выпуская воздух под высоким давлением из камеры, убедитесь, чтобы наконечник SST прижимал запорный шарик, как показано на рисунке. Если запорный шарик не прижать, не будет стравливаться воздух.

    5. После выпуска воздуха извлеките SST. Затем попробуйте быстро и с усилием нажать на плунжер рукой.

      OK

      Плунжер перемещается с трудом.

      Tip:

      Если плунжер свободно перемещается, замените механизм регулировки зазора в приводе клапана в сборе.

  3. ПРОВЕРЬТЕ РАСПРЕДВАЛ

    1. A196939

      Проверьте распредвал на биение.

      1. Установите распредвал на V-образные призмы.

      2. Индикатором часового типа измерьте радиальное биение на центральной шейке.

        Максимально допустимое биение

        0,03 мм (0,00118 дюйма)

        Tip:
        • После замены распредвала проверьте масляный зазор распредвала.

        • Если радиальное биение превышает максимально допустимую величину, замените распредвал.

    2. A196940

      Проверьте кулачки распредвала.

      1. Микрометром измерьте высоту рабочей части кулачков.

        Номинальная высота рабочей части кулачка

        44,163 - 44,305 мм (1,73870 - 1,74429 дюйма)

        Минимально допустимая высота рабочей части кулачка

        44,013 мм (1,73279 дюйма)

        Tip:

        Если высота выступа кулачка меньше минимально допустимой величины, замените распредвал.

    3. A196941

      Проверьте шейки распредвала.

      1. Микрометром измерьте диаметр шейки.

        Номинальный диаметр шейки

        Параметр / Устройство

        Номинальное значение

        Для шейки №1

        34,449 - 34,465 мм (1,35626 - 1,35689 дюйма)

        Остальные шейки

        22,959 - 22,975 мм (0,90390 - 0,90453 дюйма)

        Tip:

        Если диаметр шейки не соответствует требованиям, проверьте масляный зазор распредвала.

        Нажмите здесьЩелкните по следующей ссылке

  4. ПРОВЕРЬТЕ РАСПРЕДВАЛ № 2

    1. A196939

      Проверьте распредвал № 2 на биение.

      1. Поместите распредвал № 2 на V-образные призмы.

      2. Индикатором часового типа измерьте радиальное биение на центральной шейке.

        Максимально допустимое биение

        0,03 мм (0,00118 дюйма)

        Tip:
        • После замены распредвала № 2 проверьте масляный зазор распредвала.

        • Если биение превышает максимально допустимую величину, замените распредвал № 2.

    2. A196940

      Проверьте кулачки распредвала.

      1. Микрометром измерьте высоту рабочей части кулачков.

        Если высота рабочей части кулачка меньше минимально допустимой, замените распредвал № 2.

        Номинальная высота рабочей части кулачка

        44,144 - 44,286 мм (1,73795 - 1,74354 дюйма)

        Минимально допустимая высота рабочей части кулачка

        43,996 мм (1,73212 дюйма)

    3. A196941

      Проверьте шейки распредвала № 2.

      1. Микрометром измерьте диаметр шейки.

        Номинальный диаметр шейки

        Параметр / Устройство

        Номинальное значение

        Для шейки №1

        34,449 - 34,465 мм (1,35626 - 1,35689 дюйма)

        Остальные шейки

        22,959 - 22,975 мм (0,90390 - 0,90453 дюйма)

        Tip:

        Если диаметр шейки не соответствует требованиям, проверьте масляный зазор распредвала.

        Нажмите здесьЩелкните по следующей ссылке

  5. ПРОВЕРЬТЕ МАСЛЯНЫЙ ЗАЗОР РАСПРЕДВАЛА

    Note:

    Не поворачивайте распредвалы.

    1. Очистите крышку подшипника распредвала № 1, крышку подшипника распредвала № 2, 3 крышки подшипников распредвала № 3, кожух распредвала в сборе и шейки распредвала.

    2. Установите распредвал и распредвал № 2 в кожух распредвала.

    3. A259165C08

      *a

      Сминаемый пластичный калибр Plastigage

      Поместите проволочки для измерения зазоров в осевом направлении на все шейки распределительного вала.

    4. Установить крышки подшипников распределительного вала и закрепить их болтами, затянув болты с номинальным моментом.

      Нажмите здесьЩелкните по следующей ссылке

    5. Установите кожух распредвала в сборе.

      Нажмите здесьЩелкните по следующей ссылке

    6. Снять крышки подшипников распределительного вала.

      Нажмите здесьЩелкните по следующей ссылкеЩелкните по следующей ссылке

    7. A259166C08

      *a

      Сминаемый пластмассовый калибр Plastigage

      *b

      Шейка № 1

      *c

      Для остальных шеек

      Измерьте ширину сминаемого пластичного калибра Plastigage в самой широкой точке.

      Номинальный масляный зазор

      Параметр / Устройство

      Номинальное сопротивление

      Для шейки распредвала впускных клапанов №1

      0,035 - 0,072 мм (0,00138 - 0,00283 дюйма)

      Шейка распредвала выпускных клапанов № 1

      0,049 - 0,086 мм (0,00193 - 0,00339 дюйма)

      Для остальных шеек

      0,025 - 0,062 мм (0,000984 - 0,00244 дюйма)

      Максимальный допустимый масляный зазор

      Наименование

      Номинальное сопротивление

      Шейка распредвала впускных клапанов № 1

      0,085 мм (0,00335 дюйма)

      Шейка распредвала выпускных клапанов № 1

      0,095 мм (0,00374 дюйма)

      Остальные шейки

      0,085 мм (0,00335 дюйма)

      Tip:

      Если масляный зазор превышает максимально допустимую величину, замените распредвал. При необходимости замените кожух распредвала в сборе.

  6. ПРОВЕРЬТЕ ЗУБЧАТОЕ КОЛЕСО РАСПРЕДВАЛА В СБОРЕ

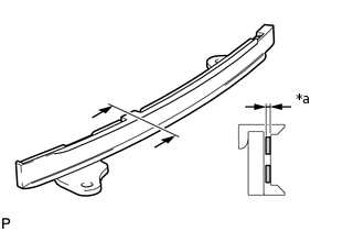
  7. ПРОВЕРЬТЕ ЦЕПЬ В СБОРЕ

    1. A386378C14

      *a

      Участок измерения

      Пружинным динамометром потяните за цепь в сборе с усилием 147 Н (15 кгс, 33,0 фунта-силы), как показано на рисунке.

    2. С помощью штангенциркуля измерьте длину 15 звеньев.

      Максимально допустимое удлинение цепи

      137,7 мм (5,42 дюйма)

      Note:

      Выполните измерения на 3 произвольно выбранных участках. Рассчитайте среднее значение для всех измерений.

      Tip:

      Если усредненное удлинение цепи превышает максимально допустимую величину, замените цепь в сборе.

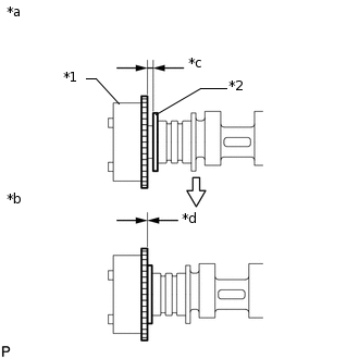
  8. ПРОВЕРЬТЕ ЗУБЧАТОЕ КОЛЕСО РАСПРЕДВАЛА ВЫПУСКНЫХ КЛАПАНОВ В СБОРЕ

    1. A350373C01

      *a

      Шестигранная часть

      С помощью SST сожмите шестигранную часть и закрепите SST с распредвалом № 2 в тисках, как показано на рисунке.

      09212-31010

      Note:
      • Соблюдайте осторожность, чтобы не повредить распредвал № 2.

      • Запрещается держать детали за любые нешестигранные части, поскольку это приведет к повреждению.

    2. A196902C36

      *a

      Отверстие под штифт

      *b

      Штифт

      Совместите штифт распредвала с отверстием под штифт в зубчатом колесе распредвала № 2 выпускных клапанов и вставьте штифт в отверстие.

    3. A196904C47

      *1

      Зубчатое колесо распредвала выпускных клапанов в сборе

      *2

      Фланец распредвала

      *a

      Неправильно

      *b

      Правильно

      *c

      Зазор

      *d

      Отсутствие зазора

      Убедитесь в отсутствии зазора между зубчатым колесом распредвала выпускных клапанов и фланцем распредвала.

    4. Надежно удерживая распредвал № 2, вверните рукой болт зубчатого колеса распредвала выпускных клапанов в сборе.

      85 Н*м

      867 кгс*см

      63 фунт-сила-фута

      Note:

      При вворачивании болта не используйте какие-либо инструменты. При вворачивании болта с помощью инструментов стопорный штифт может получить повреждения.

    5. Проверьте замок зубчатого колеса распредвала выпускных клапанов в сборе.

      1. Проверьте фиксацию зубчатого колеса распредвала выпускных клапанов в сборе.

        Note:

        Действуйте осторожно, чтобы не повредить распредвал № 2.

    6. Извлеките стопорный штифт.

      A292249C14

      *a

      Канал запаздывания

      *b

      Канал опережения

      *c

      Открыто

      *d

      Закрыта

      *e

      Кусок резины

      *f

      Виниловая лента

      *g

      Штифт

      -

      -

      1. Очистите шейки распредвала не оставляющим осадка растворителем.

      2. Закройте 4 масляных канала на шейке распредвала виниловой лентой, как показано на рисунке.

        Tip:

        В проточках распредвала № 2 расположены 4 отверстия масляных каналов. Закройте 2 масляных канала резиновыми пробками.

      3. Проколите виниловую ленту со стороны канала опережения. Проколите виниловую ленту со стороны канала запаздывания, с противоположной стороны канала опережения, как показано на рисунке.

      4. A198157C20

        *a

        Канал запаздывания

        *b

        Канал опережения

        Подайте воздух под давлением примерно 200 кПа(2,0кгс/см2, 29 фунтов на кв. дюйм) в 2 открытых канала (со стороны канала опережения и со стороны канала запаздывания).

        Note:

        Перед тем, как подать воздух под давлением, закройте масляные каналы куском ткани, чтобы не допустить разбрызгивания масла.

      5. A198158C20

        *a

        Канал запаздывания

        *b

        Канал опережения

        *c

        Поддерживайте давление

        *d

        Уменьшение давления

        Убедитесь, что при снижении давления воздуха, действующего в канале со стороны опережения, зубчатое колесо распредвала выпускных клапанов поворачивается в направлении запаздывания.

        Tip:

        В результате этого действия стопорный штифт разблокируется, а зубчатое колесо распредвала выпускных клапанов в сборе вращается в направлении запаздывания.

      6. Когда зубчатое колесо распредвала выпускных клапанов переместится в положение максимального запаздывания, сбросьте давление воздуха сначала в канале со стороны опережения, а затем в канале со стороны запаздывания.

        Note:

        Не прекращайте подачу воздуха начиная с канала со стороны проточки запаздывания. В этом случае зубчатое колесо распредвала выпускных клапанов может резко сместиться в направлении опережения и сломать стопорный штифт.

    7. Проверьте плавность вращения.

      1. Два-три раза поверните зубчатое колесо распредвала выпускных клапанов в сборе в пределах его диапазона поворота (19,0-21,0°), но не доводите его до положения, соответствующего максимальному углу опережения. Убедитесь, что зубчатое колесо распредвала выпускных клапанов в сборе вращается свободно.

    8. Проверьте фиксацию в положении наибольшего опережения.

      1. Убедитесь, что зубчатое колесо распредвала выпускных клапанов зафиксировано в положении максимального опережения.

    9. Снимите виниловую ленту и резиновые пробки с распредвала № 2.

    10. Выверните болт и снимите зубчатое колесо распредвала выпускных клапанов.

  9. ПРОВЕРЬТЕ ВЕДУЩУЮ ЗВЕЗДОЧКУ ГРМ

    1. A198159

      Оберните цепь вокруг ведущей звездочки цепи ГРМ на коленчатом валу.

    2. Штангенциркулем измерьте диаметр ведущей звездочки коленчатого вала с цепью в сборе.

      Минимально допустимый диаметр звездочки (с цепью)

      59,94 мм (2,36 дюйма)

      Note:

      При измерении штангенциркуль должен касаться роликов цепи.

      Tip:

      Если диаметр меньше минимально допустимого, замените цепь в сборе и ведущую звездочку цепи ГРМ на коленчатом валу.

  10. ПРОВЕРЬТЕ НАТЯЖИТЕЛЬ ЦЕПИ № 1 В СБОРЕ

    1. A198160C08

      *a

      Плунжер

      *b

      Стопорная пластина

      Поверните стопорную пластину против часовой стрелки, чтобы освободить фиксатор. Нажмите на плунжер и убедитесь, что он перемещается плавно.

      Если плунжер не движется плавно, замените натяжитель цепи № 1 в сборе.

  11. ПРОВЕРЬТЕ БАШМАК НАТЯЖИТЕЛЯ ЦЕПИ

    1. A198161C08

      *a

      Глубина

      Измерьте глубину износа башмака натяжителя цепи.

      Максимальная глубина

      1,0 мм (0,0394 дюйма)

      Tip:

      Если глубина превышает максимально допустимую величину, замените башмак натяжителя цепи.

  12. ПРОВЕРЬТЕ УСПОКОИТЕЛЬ ЦЕПИ № 1

    1. A198162C10

      *a

      Глубина

      Измерьте глубину износа успокоителя цепи № 1.

      Максимальная глубина

      1,0 мм (0,0394 дюйма)

      Tip:

      Если глубина превышает максимально допустимую величину, замените успокоитель цепи № 1.

  13. ПРОВЕРЬТЕ НАПРАВЛЯЮЩУЮ ЦЕПНОГО ПРИВОДА ГАЗОРАСПРЕДЕЛИТЕЛЬНОГО МЕХАНИЗМА

    1. A196926C10

      *a

      Глубина

      Измерьте глубину износа направляющей цепного привода газораспределительного механизма.

      Максимальная глубина

      1,0 мм (0,0394 дюйма)

      Tip:

      Если глубина превышает максимально допустимую величину, замените направляющую цепного привода газораспределительного механизма.

  14. ПРОВЕРЬТЕ ОСЕВОЙ ЗАЗОР УРАВНОВЕШИВАЮЩЕГО ВАЛА № 1

    1. A196922

      Смещая уравновешивающий вал № 1 в осевом направлении, индикатором часового типа измерьте осевой зазор.

      Номинальный осевой зазор

      0,05 - 0,09 мм (0,00197 - 0,00354 дюйма)

      Максимально допустимый осевой зазор

      0,09 мм (0,00354 дюйма)

      Tip:

      Если осевой зазор превышает максимально допустимую величину, замените балансировочный узел двигателя в сборе.

  15. ПРОВЕРЬТЕ ОСЕВОЙ ЗАЗОР УРАВНОВЕШИВАЮЩЕГО ВАЛА № 2

    1. A198185

      Смещая уравновешивающий вал № 2 в осевом направлении, индикатором часового типа измерьте осевой зазор.

      Номинальный осевой зазор

      0,05 - 0,09 мм (0,00197 - 0,00354 дюйма)

      Максимально допустимый осевой зазор

      0,09 мм (0,00354 дюйма)

      Tip:

      Если осевой зазор превышает максимально допустимую величину, замените балансировочный узел двигателя в сборе.

  16. ПРОВЕРЬТЕ БОКОВОЙ ЗАЗОР УРАВНОВЕШИВАЮЩЕГО ВАЛА

    1. A198163C08

      *a

      Зафиксируйте

      Зафиксируйте уравновешивающий вал № 2 на месте и с помощью индикатора часового типа измерьте боковой зазор уравновешивающих валов № 1 и № 2, как показано на рисунке.

      Номинальный боковой зазор

      0,04 - 0,17 мм (0,00157 - 0,00669 дюйма)

      Максимальный зазор

      0,17 мм (0,00669 дюйма)

      Note:

      Выполните измерения не менее чем в 3 зонах по окружности уравновешивающих валов № 1 и № 2.

      Tip:

      Если боковой зазор превышает максимально допустимый, замените балансировочный узел двигателя.

  17. ПРОВЕРЬТЕ УСТАНОВОЧНЫЙ БОЛТ ГОЛОВКИ БЛОКА ЦИЛИНДРОВ

    1. A284095C11

      *a

      Точка измерения

      *b

      106 мм (4,17 дюйма)

      С помощью штангенциркуля определите диаметр резьбы в точке измерения.

      Номинальный диаметр

      10,85 - 11,00 мм (0,427 - 0,433 дюйма)

      Минимально допустимый диаметр

      10,6 мм (0,417 дюйма)

      Точка измерения (расстояние от седла)

      106 мм (4,17 дюйма)

      Tip:
      • Если диаметр меньше минимально допустимого, замените установочный болт крепления головки блока цилиндров новым. Несоблюдение данного указания может привести к повреждению двигателя.

      • В случае повреждения резьбы замените установочный болт крепления головки цилиндра.

  18. ПРОВЕРЬТЕ КАТАЛИТИЧЕСКИЙ НЕЙТРАЛИЗАТОР В ВЫПУСКНОМ КОЛЛЕКТОРЕ В СБОРЕ (TWC: передний каталитический нейтрализатор)

    1. A196896

      С помощью прецизионной поверочной линейки и комплекта плоских щупов проверьте коробление поверхности, контактирующей с головкой блока цилиндров.

      Максимальное коробление

      0,7 мм (0,0276 дюйма)

      Tip:

      Если коробление превышает максимально допустимую величину, замените каталитический нейтрализатор в выпускном коллекторе в сборе (TWC: передний каталитический нейтрализатор).