СИСТЕМА ПОСАДКИ И ЗАПУСКА (для моделей с функцией посадки) Не действуют функции блокировки и разблокировки для двери переднего пассажира

Код DTC Наименование DTC
Не действуют функции блокировки и разблокировки для двери переднего пассажира

ОПИСАНИЕ

Если функции блокировки и разблокировки системы посадки не действуют только для двери переднего пассажира, возможно, от двери переднего пассажира не передается код запроса, либо неисправна наружная ручка двери переднего пассажира (сенсорный датчик). Если функции системы посадки для других дверей действуют нормально, то обмен данными между передатчиком электронного ключа в сборе и приемником системы управления замками дверей происходит нормально. В этом случае неисправность может быть вызвана нарушением передачи кодов запроса (обмена данными между ЭБУ сертификации (ЭБУ электронного ключа зажигания в сборе) и наружной ручкой передней двери (двери переднего пассажира) (антенной электронного ключа)) или интерференцией радиоволн.

СХЕМА ЭЛЕКТРИЧЕСКИХ СОЕДИНЕНИЙ

Figure 1. Для моделей с левосторонним рулевым управлением.
B416818E68
Figure 2. для моделей с правосторонним рулевым управлением.
B416818E69

ПРЕДОСТЕРЕЖЕНИЕ / ПРИМЕЧАНИЕ / УКАЗАНИЕ

Note:
  • Система посадки и запуска (функция посадки) использует системы передачи данных LIN и CAN. Проверьте работоспособность системы передачи данных, следуя указаниям из раздела "Порядок поиска неисправностей". Приступать к диагностике системы посадки и запуска (функции посадки) следует только после подтверждения нормальной работы систем передачи данных.

    Нажмите здесьClick here

  • При использовании GTS с выключенным питанием, подсоедините GTS к DLC3 и включайте и выключайте освещение проема двери с интервалами 1,5 с или менее до тех пор, пока не начнется обмен данными между GTS и автомобилем. Затем выберите код модели "KEY REGIST" в ручном режиме и войдите в следующие пункты меню: Body Electrical / Entry&Start(CAN). При использовании GTS периодически включайте и выключайте выключатель освещения дверного проема с интервалом не более 1,5 с, чтобы поддерживать связь между GTS и автомобилем.

  • Убедитесь, что в автомобиле отсутствуют передатчики электронных ключей в сборе.

  • Перед заменой ЭБУ сертификации (ЭБУ электронного ключа зажигания в сборе) обратитесь к мерам предосторожности.

    Нажмите здесьClick hereClick here

  • После ремонта убедитесь, что коды DTC не выводятся снова.

ПОРЯДОК ВЫПОЛНЕНИЯ

  1. ПРОВЕРЬТЕ СИСТЕМУ УПРАВЛЕНИЯ ЗАМКАМИ ДВЕРЕЙ

    1. Приводя в действие выключатель системы блокировки дверей на главном переключателе сети мультиплексной связи, убедитесь, что двери блокируются и разблокируются в соответствии с состоянием выключателя.

      Нажмите здесьClick here

      OK

      Дверные замки работают надлежащим образом.

    Result

    Перейти к

    OK

    НЕ СООТВ.

    НЕ СООТВ.

    ПЕРЕЙДИТЕ К РАЗДЕЛУ "СИСТЕМА УПРАВЛЕНИЯ ЗАМКАМИ ДВЕРЕЙ"

    Нажмите здесьClick here

    СООТВ
  2. ПРОВЕРЬТЕ DTC

    1. Проверьте наличие кодов DTC.

      Body Electrical > Entry&Start > Trouble Codes

    Result

    Result

    Следующий шаг

    DTC не выводятся.

    А

    Коды DTC выводятся

    Б

    B

    ПЕРЕЙДИТЕ К "ТАБЛИЦЕ ДИАГНОСТИЧЕСКИХ КОДОВ НЕИСПРАВНОСТЕЙ"

    Нажмите здесьClick hereClick here

    A
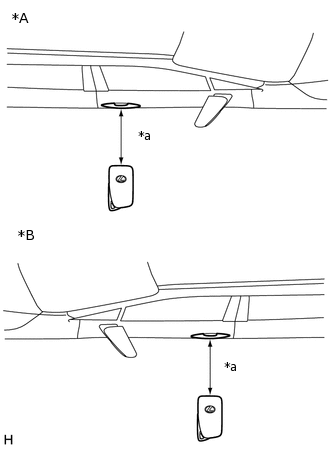
  3. ПРОВЕРЬТЕ ПРОХОЖДЕНИЕ РАДИОВОЛН

    1. B416801C01

      *A

      Для моделей с левосторонним рулевым управлением

      *B

      Для моделей с правосторонним рулевым управлением

      *a

      Примерно 0,3 м (0,984 фута)

      Расположите передатчик электронного ключа в сборе на расстоянии примерно 0,3 м (0,984 фута) от наружной ручки передней двери в сборе (со стороны переднего пассажира) и выполните проверку функции посадки.

      Нажмите здесьClick here

      Tip:
      • Когда передатчик электронного ключа в сборе находится в радиусе 0,2 м (0,656 фута) от наружной ручки передней двери в сборе (двери переднего пассажира), обмен данными невозможен.

      • Когда передатчик электронного ключа в сборе находится вблизи наружной ручки передней двери в сборе (двери переднего пассажира), вероятность интерференции снижается, и можно проверить, является ли интерференция причиной признака неисправности.

      • Если результат проверки работы указывает на то, что неисправность проявляется в определенном месте или в определенное время, высока вероятность интерференции. Кроме того, причиной помех могут быть дополнительно установленные устройства. Если данные устройства установлены, снимите их и выполните проверку работы.

      • Помехами Если автомобиль находится рядом с радиовещательными антенн, больших видеоизображение отображается, систем дистанционного открывания гаражных дверей, камер безопасности дистанционной системы безопасности, "HOME" и т. д. В этом случае переместите автомобиль в другое место и проверьте, имеются ли улучшения.

      • При наличии прибора для контроля электромагнитного излучения, например, измерителя уровня сигнала, изучите зону, проведя измерения как в низкочастотном диапазоне (который используется антеннами автомобиля для формирования области обнаружения ключа), так и в высокочастотном диапазоне (который используется передатчиком электронного ключа для передачи данных), чтобы выявить места, где действуют электромагнитные помехи.

      • Если несколько раз проверить работу функцию блокировки системы посадки, она может последовательно сработать только до 2 раз. Чтобы последовательно задействовать функцию не менее 3 раз, необходимо один раз разблокировать двери. Однако это относится только к функции блокировки системы посадки. Другие функции управления замками дверей, например, дистанционную блокировку дверей, можно задействовать последовательно неограниченное число раз. *

        • *: Для моделей без системы двойной блокировки

    Результат

    Result

    Перейдите к

    Функции системы не работают должным образом

    А

    Функции системы посадки работают нормально

    Б

    B

    ПОДВЕРГАЕТСЯ ИНТЕРФЕРЕНЦИИ

    A
  4. СНИМИТЕ ПОКАЗАНИЯ GTS (P-DOOR TOUCH SENSOR)

    1. Выключите питание.

    2. Дверь переднего пассажира открывается и закрывается.

    3. Когда передатчик электронного ключа в сборе находится снаружи автомобиля, нажмите выключатель блокировки на передатчике электронного ключа в сборе, чтобы заблокировать все двери.

    4. Удерживайте передатчик электронного ключа на высоте наружной ручки двери в сборе и на расстоянии примерно 0,3 м (0,984 фута) от двери переднего пассажира.

    5. Убедитесь, что светодиод на передатчике электронного ключа в сборе мигает.

    6. Снимите показания с дисплея GTS в режиме DATA LIST.

    7. B416808C01

      *A

      Для моделей с правосторонним рулевым управлением

      *B

      Для моделей с левосторонним рулевым управлением

      *a

      Датчик разблокировки (с обратной стороны)

      Коснитесь датчика разблокировки на обратной стороне наружной ручки передней двери (двери переднего пассажира) в сборе.

      Tip:

      При повторной проверке работы датчика разблокировки обязательно выполняйте процедуру, начиная с шага (а).

      Body Electrical > Entry&Start > Data List

      Информация на дисплее прибора

      Измеряемая величина

      Диапазон

      Нормальное состояние

      Замечание по диагностике

      P-Door Touch Sensor

      Сенсорный датчик двери переднего пассажира (датчик разблокировки)

      ON (ВКЛ) или OFF (ВЫКЛ)

      ON (ВКЛ): Прикосновение к сенсорному датчику двери переднего пассажира (датчику разблокировки)

      OFF (ВЫКЛ): Прикосновение к сенсорному датчику двери переднего пассажира (датчику разблокировки) отсутствует

      • Показывает, включен или выключен датчик разблокировки (даже при касании датчика и поддержании контакта с ним значение "ON" (ВКЛ) отображается только кратковременно).

      • Когда функция разблокировки системы посадки не работает, этот параметр в списке Data List используется, чтобы определить наличие неисправности датчика разблокировки.

      Body Electrical > Entry&Start > Data List

      Информация на дисплее прибора

      P-Door Touch Sensor

      OK

      Показания на экране GTS правильно изменяются в соответствии с управлением наружной ручкой передней двери (двери переднего пассажира).

    Результат

    Перейти к

    OK

    НЕ СООТВ.

    НЕ СООТВ.

    ПРОВЕРЬТЕ ЖГУТ ПРОВОДОВ И РАЗЪЕМ (ЭБУ СЕРТИФИКАЦИИ (ЭБУ ЭЛЕКТРОННОГО КЛЮЧА ЗАЖИГАНИЯ В СБОРЕ) - НАРУЖНАЯ РУЧКА ПЕРЕДНЕЙ ДВЕРИ В СБОРЕ (ДВЕРИ ПЕРЕДНЕГО ПАССАЖИРА))Click here

    СООТВ
  5. СНИМИТЕ ПОКАЗАНИЯ GTS (P-DOOR TRIGGER SWITCH)

    1. Выключите питание.

    2. Дверь переднего пассажира открывается и закрывается.

    3. Удерживайте передатчик электронного ключа на высоте наружной ручки двери в сборе и на расстоянии примерно 0,3 м (0,984 фута) от двери переднего пассажира.

    4. Снимите показания с дисплея GTS в режиме DATA LIST.

    5. B416809C01

      *A

      Для моделей с правосторонним рулевым управлением

      *B

      Для моделей с левосторонним рулевым управлением

      *a

      Датчик блокировки

      Коснитесь датчика блокировки наружной ручки передней двери (двери водителя) в сборе.

      Tip:
      • Если дверь не блокируется даже при касании датчика блокировки, прикоснитесь к нему ладонью.

      • При повторной проверке работы датчика блокировки обязательно выполняйте процедуру, начиная с шага (а).

      Body Electrical > Entry&Start > Data List

      Информация на дисплее прибора

      Измеряемая величина

      Диапазон

      Нормальное состояние

      Замечание по диагностике

      P-Door Trigger Switch

      Сенсорный датчик двери переднего пассажира (датчик блокировки)

      ON (ВКЛ) или OFF (ВЫКЛ)

      ON (ВКЛ): Прикосновение к сенсорному датчику двери переднего пассажира (датчику блокировки)

      OFF (ВЫКЛ): Прикосновение к сенсорному датчику двери переднего пассажира (датчику блокировки) отсутствует

      • Показывает, включен или выключен датчик блокировки (даже при касании датчика и поддержании контакта с ним значение "ON" (ВКЛ) отображается только кратковременно).

      • Когда функция блокировки системы посадки не работает, этот параметр в списке Data List используется, чтобы определить наличие неисправности датчика блокировки.

      Body Electrical > Entry&Start > Data List

      Информация на дисплее прибора

      P-Door Trigger Switch

      Tip:

      Если несколько раз проверить работу функцию блокировки системы посадки, она может последовательно сработать только до 2 раз. Чтобы последовательно задействовать функцию не менее 3 раз, необходимо один раз разблокировать двери. Это относится только к функции блокировки системы посадки. Другие функции управления замками дверей, например, дистанционная блокировка дверей можно задействовать последовательно неограниченное число раз.

      • *: Для моделей без системы двойной блокировки

      OK

      Показания на экране GTS правильно изменяются в соответствии с управлением наружной ручкой передней двери (двери переднего пассажира).

    Результат

    Перейти к

    OK

    НЕ СООТВ.

    НЕ СООТВ.

    ПРОВЕРЬТЕ ЖГУТ ПРОВОДОВ И РАЗЪЕМ (ЭБУ СЕРТИФИКАЦИИ (ЭБУ ЭЛЕКТРОННОГО КЛЮЧА ЗАЖИГАНИЯ В СБОРЕ) - НАРУЖНАЯ РУЧКА ПЕРЕДНЕЙ ДВЕРИ В СБОРЕ (ДВЕРИ ПЕРЕДНЕГО ПАССАЖИРА))Click here

    СООТВ
  6. ПРОВЕРЬТЕ РЕЖИМ ДИАГНОСТИКИ КЛЮЧА

    1. Проверьте следующую антенну в режиме диагностики ключа.

      Body Electrical > Entry&Start > Utility

      Информация на дисплее прибора

      Communication Check (Key Diag Mode)

    2. Выберите либо канал 1, либо канал 2 и выполните проверку в режиме диагностики ключа для каждого канала.

      1. B416801C01

        *A

        Для моделей с левосторонним рулевым управлением

        *B

        Для моделей с правосторонним рулевым управлением

        *a

        0,7 - 1 м (2,30 - 3,28 фута)

        Проверьте антенну электронного ключа (двери переднего пассажира):

        Когда передатчик электронного ключа находится на расстоянии 0,7 - 1 м (2,30 - 3,28 фута) от наружной ручки передней двери (для двери переднего пассажира), убедитесь, что звучит зуммер системы дистанционной блокировки дверей.

        Tip:
        • Выберите либо канал 1, либо канал 2 и выполните проверку в режиме диагностики ключа для каждого канала.

        • Если сигнал зуммера раздается при отображении [CH1], но не при [CH2], передатчик электронного ключа в сборе не может быть обнаружен каналом 2 по причине неисправности такой, как электромагнитные помехи.

    Result

    Result

    Перейдите к

    Зуммер системы дистанционного управления замками дверей не звучит

    А

    Зуммер системы дистанционного управления замками дверей звучит

    Б

    B

    ЗАМЕНИТЕ ЭБУ СЕРТИФИКАЦИЕЙ (ЭБУ ЭЛЕКТРОННЫМ КЛЮЧОМ ЗАЖИГАНИЯ В СБОРЕ)

    A
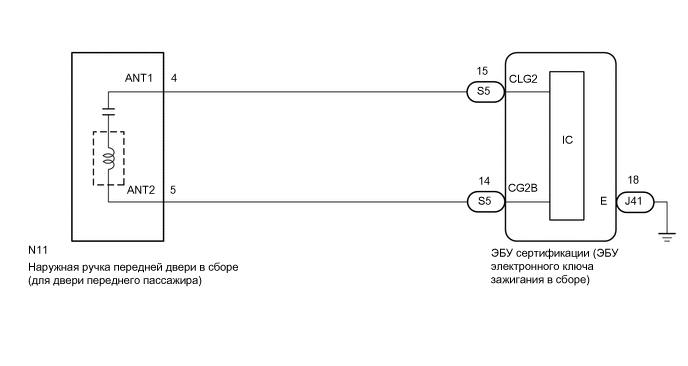
  7. ПРОВЕРЬТЕ ЖГУТ ПРОВОДОВ И РАЗЪЕМ (ЭБУ СЕРТИФИКАЦИИ (ЭБУ ЭЛЕКТРОННОГО КЛЮЧА ЗАЖИГАНИЯ) – НАРУЖНАЯ РУЧКА ПЕРЕДНЕЙ ДВЕРИ В СБОРЕ (ДВЕРИ ПЕРЕДНЕГО ПАССАЖИРА))

    1. Отсоедините разъем R1*1 или S5*2 ЭБУ сертификации (ЭБУ электронного ключа зажигания).

      • *1: для моделей с левосторонним рулевым управлением

      • *2: для моделей с правосторонним рулевым управлением

    2. Отсоедините разъем M11*1 или N11*2 наружной ручки передней двери (со стороны переднего пассажира).

      • *1: для моделей с левосторонним рулевым управлением

      • *2: для моделей с правосторонним рулевым управлением

    3. Измерьте сопротивление в соответствии со значениями, приведенными в таблице ниже.

      Номинальное сопротивление

      Table 1. для моделей с левосторонним рулевым управлением.

      Подключение диагностического прибора

      Условие

      Заданные условия

      R1-15 (CLG2) - M11-4 (ANT1)

      Всегда

      Менее 1 Ом

      R1-14 (CG2B) - M11-5 (ANT2)

      Всегда

      Менее 1 Ом

      R1-15 (CLG2) или M11-4 (ANT1) - масса

      Всегда

      10 кОм или более

      R1-14 (CG2B) или M11-5 (ANT2) - масса

      Всегда

      10 кОм или более

      Table 2. Для моделей с правосторонним рулевым управлением

      Подключение диагностического прибора

      Условие

      Заданные условия

      S5-15 (CLG2) - N11-4 (ANT1)

      Всегда

      Менее 1 Ом

      S5-14 (CG2B) - N11-5 (ANT2)

      Всегда

      Менее 1 Ом

      S5-15 (CLG2) или N11-4 (ANT1) - масса

      Всегда

      10 кОм или более

      S5-14 (CG2B) или N11-5 (ANT2) - масса

      Всегда

      10 кОм или более

    4. Подсоедините разъем R1*1 или S5*2 ЭБУ сертификации (ЭБУ электронного ключа зажигания).

      • *1: для моделей с левосторонним рулевым управлением

      • *2: для моделей с правосторонним рулевым управлением

    Результат

    Перейти к

    OK

    НЕ СООТВ.

    НЕ СООТВ.

    ОТРЕМОНТИРУЙТЕ ИЛИ ЗАМЕНИТЕ ЖГУТ ПРОВОДОВ ИЛИ РАЗЪЕМ

    СООТВ
  8. ПРОВЕРЬТЕ ЭБУ СЕРТИФИКАЦИИ (ЭБУ ЭЛЕКТРОННОГО КЛЮЧА ЗАЖИГАНИЯ) (ВЫХОД НА АНТЕННУ ЭЛЕКТРОННОГО КЛЮЧА ДВЕРИ ПЕРЕДНЕГО ПАССАЖИРА)

    1. B416840C22

      *A

      Для моделей с левосторонним рулевым управлением

      *B

      Для моделей с правосторонним рулевым управлением

      *a

      Вид спереди разъема со стороны жгута проводов:

      (к наружной ручке передней двери в сборе (двери переднего пассажира))

      *b

      Осциллограмма 1

      С помощью осциллографа проверьте форму сигнала.

      OK

      Table 3. Для моделей с левосторонним рулевым управлением.

      Подключение диагностического прибора

      Условие

      Настройки прибора

      Заданные условия

      M11-4 (ANT1) - M11-5 (ANT2)

      Процедура:

      1. Зажигание выключено

      2. все двери закрыты

      3. Передатчик электронного ключа в сборе не находится внутри автомобиля

      4. Все двери заблокированы с помощью дистанционной блокировки

        (передатчик электронного ключа в сборе находится вне области обнаружения*)

      5 В/дел., 100 мс/дел.

      Формирование импульсов:

      (см. осциллограмму 1)

      Table 4. для моделей с правосторонним рулевым управлением.

      Подключение диагностического прибора

      Условие

      Настройки прибора

      Заданные условия

      N11-4 (ANT1) - N11-5 (ANT2)

      Процедура:

      1. Зажигание выключено

      2. все двери закрыты

      3. Передатчик электронного ключа в сборе не находится внутри автомобиля

      4. Все двери заблокированы с помощью дистанционной блокировки

        (передатчик электронного ключа в сборе находится вне области обнаружения*)

      5 В/дел., 100 мс/дел.

      Формирование импульсов:

      (см. осциллограмму 1)

      *: Подробные сведения об областях обнаружения функции посадки приводятся в разделе "Проверка работы".

      Нажмите здесьClick here

    Результат

    Перейти к

    OK

    НЕ СООТВ.

    НЕ СООТВ.

    ЗАМЕНИТЕ ЭБУ СЕРТИФИКАЦИЕЙ (ЭБУ ЭЛЕКТРОННЫМ КЛЮЧОМ ЗАЖИГАНИЯ В СБОРЕ)

    СООТВ
  9. ПРОВЕРЬТЕ ДЕЙСТВИЕ ФУНКЦИИ БЛОКИРОВКИ СИСТЕМЫ ПОСАДКИ

    1. Подсоедините все разъемы и убедитесь, что функция работает должным образом.

      Нажмите здесьClick here

    Result

    Result

    Перейдите к

    Функции системы не работают должным образом

    А

    Функции системы посадки работают нормально

    Б

    B

    КОНЕЦ (РАЗЪЕМ НЕ БЫЛ ПОДСОЕДИНЕН НАДЕЖНО)

    A
  10. ЗАМЕНИТЕ НАРУЖНУЮ РУЧКУ ПЕРЕДНЕЙ ДВЕРИ В СБОРЕ (ДВЕРИ ПЕРЕДНЕГО ПАССАЖИРА)

    1. Замените наружную ручку передней двери в сборе (двери переднего пассажира) новой или наружную ручку передней двери в сборе (двери водителя), если она не работает должным образом.

      Нажмите здесьClick hereClick hereClick here

    Результат

    Перейти к

    СЛЕДУЮЩЕЕ -

    СЛЕДУЮЩЕЕ -
  11. ПРОВЕРЬТЕ ДЕЙСТВИЕ ФУНКЦИИ БЛОКИРОВКИ СИСТЕМЫ ПОСАДКИ

    1. Убедитесь, что функция работает нормально.

      Нажмите здесьClick here

    Result

    Result

    Перейдите к

    Функции системы посадки работают нормально

    А

    Функции системы не работают должным образом

    Б

    А

    КОНЕЦ (НАРУЖНАЯ РУЧКА ПЕРЕДНЕЙ ДВЕРИ В СБОРЕ (СО СТОРОНЫ ПЕРЕДНЕГО ПАССАЖИРА) НЕИСПРАВНА)

    B

    ЗАМЕНИТЕ ЭБУ СЕРТИФИКАЦИИ (ЭБУ ЭЛЕКТРОННОГО КЛЮЧА ЗАЖИГАНИЯ В СБОРЕ)