REAR AXLE BEAM INSTALLATION

PROCEDURE


  1. INSTALL REAR AXLE CARRIER BUSHING LH


    1. A005DKKE01
      Text in Illustration
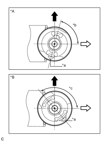
      *A for Type A
      *B for Type B
      *a Matchmark

      Align the arrow mark on a new rear axle carrier bushing LH with the matchmark on the rear axle beam assembly and temporarily install the rear axle carrier bushing LH to the rear axle beam assembly. (If the rear axle beam assembly is reused.)

      Note

      There are 2 different types of rear axle carrier bushing LH. Be sure to confirm the type and install the bushing in the correct direction as shown in the illustration.

    2. A005DQCE01
      Text in Illustration
      *A for Type A
      *B for Type B
      *a Mark
      *b 75°
      *c 135°
      A005EL2 Upper Side of the Vehicle
      A005CQU Front of the Vehicle

      Temporarily install the new rear axle carrier bushing LH as shown in the illustration.

      Note

      There are 2 different types of rear axle carrier bushing LH. Be sure to confirm the type and install the bushing in the correct direction as shown in the illustration.

    3. Using SST, install the rear axle carrier bushing LH to the rear axle beam assembly.

      A005EM3E01
      Text in Illustration
      *a Turn
      *b Hold
      SST
      09710-30012   ( 09710-04101 )
      09950-40011   ( 09951-04020, 09952-04010, 09953-04030, 09954-04020, 09955-04051, 09957-04010, 09958-04011 )
      09950-60010   ( 09951-00620 )

      Note


      • Do not damage the rubber portion when installing the rear axle carrier bushing.

      • Apply grease to the threads and tip of the SST center bolt before use.

  2. INSTALL REAR AXLE CARRIER BUSHING RH

    Tech Tips

    Perform the same procedure as for the LH side.

  3. TEMPORARILY TIGHTEN REAR AXLE BEAM ASSEMBLY


    1. Slowly jack up the rear axle beam assembly with an engine lifter using 2 wooden blocks and 2 attachments or equivalent tools and temporarily install the rear axle beam assembly to the body with the 2 bolts (B).

      A005D10E05
      Text in Illustration
      *1 Engine Lifter *2 Wooden Block
      *3 Attachment - -

      Note

      Make sure to secure the rear axle beam assembly to prevent it from dropping.

    2. Temporarily tighten the rear axle beam assembly to the rear shock absorber assemblies LH and RH with the 2 bolts (A) and 2 nuts.

      Note

      Since the stopper nuts are used, turn the bolts.

      Tech Tips

      Insert the bolts with the threaded end facing the outside of the vehicle.

  4. INSTALL REAR UPPER COIL SPRING INSULATOR LH

    Click here

  5. INSTALL REAR UPPER COIL SPRING INSULATOR RH

    Tech Tips

    Perform the same procedure as for the LH side.

  6. INSTALL REAR LOWER COIL SPRING INSULATOR LH

  7. INSTALL REAR LOWER COIL SPRING INSULATOR RH

  8. INSTALL REAR COIL SPRING LH

    Click here

  9. INSTALL REAR COIL SPRING RH

    Tech Tips

    Perform the same procedure as for the LH side.

  10. INSTALL REAR HEIGHT CONTROL SENSOR SUB-ASSEMBLY (w/ Height Control Sensor)

    Click here

  11. TEMPORARILY TIGHTEN PARKING BRAKE ASSEMBLY (for LH Side)


    1. Clean the installation surfaces of the parking brake assembly and rear axle beam assembly.

    2. Temporarily tighten the parking brake assembly to the rear axle beam assembly with the nut.

      Note

      Do not twist the No. 3 parking brake cable assembly when installing the parking brake assembly.

      Tech Tips

      Fully tighten the nut after installing the rear axle hub and bearing assembly.

    3. Install the No. 3 parking brake cable assembly to the rear axle beam assembly with the bolt.

      Torque:
      6.0 N*m  { 61 kgf*cm, 53 in.*lbf }
  12. TEMPORARILY TIGHTEN PARKING BRAKE ASSEMBLY (for RH Side)

    Tech Tips

    Perform the same procedure as for the LH side.

  13. INSTALL REAR AXLE HUB AND BEARING ASSEMBLY LH

    Click here

  14. INSTALL REAR AXLE HUB AND BEARING ASSEMBLY RH

    Tech Tips

    Perform the same procedure as for the LH side.

  15. FULLY TIGHTEN PARKING BRAKE ASSEMBLY (for LH Side)


    1. Fully tighten the nut.

      Torque:
      140 N*m  { 1428 kgf*cm, 103 ft.*lbf }
  16. FULLY TIGHTEN PARKING BRAKE ASSEMBLY (for RH Side)

    Tech Tips

    Perform the same procedure as for the LH side.

  17. INSTALL REAR NO. 4 BRAKE TUBE


    1. A005ECD

      Install the rear No. 4 brake tube to the rear axle beam assembly with the nut.

      Torque:
      8.5 N*m  { 87 kgf*cm, 75 in.*lbf }
  18. INSTALL REAR NO. 3 BRAKE TUBE

    Tech Tips

    Perform the same procedure as for the rear No. 4 brake tube.

  19. CONNECT REAR BRAKE TUBE FLEXIBLE HOSE (for LH Side)


    1. Install the rear brake tube flexible hose with the bolt.

      Torque:
      19 N*m  { 194 kgf*cm, 14 ft.*lbf }
    2. Using a union nut wrench, connect the rear brake tube flexible hose to the rear No. 4 brake tube.

      Torque:
      15 N*m  { 155 kgf*cm, 11 ft.*lbf }

      Note


      • Do not bend or damage the brake line.

      • Do not allow any foreign matter such as dirt and dust to enter the brake line from the connecting points.

      • Use the formula to calculate special torque values for situations where the union nut wrench is combined with a torque wrench Click here.

  20. CONNECT REAR BRAKE TUBE FLEXIBLE HOSE (for RH Side)


    1. Install the rear brake tube flexible hose with a new clip.

      Note

      Install the clip as far as it will go.

    2. Using a union nut wrench, connect the rear brake tube flexible hose to the rear No. 3 brake tube.

      Torque:
      15 N*m  { 155 kgf*cm, 11 ft.*lbf }

      Note


      • Do not bend or damage the brake line.

      • Do not allow any foreign matter such as dirt and dust to enter the brake line from the connecting points.

      • Use the formula to calculate special torque values for situations where the union nut wrench is combined with a torque wrench Click here.

  21. INSTALL REAR DISC (for LH Side)

    Click here

  22. INSTALL REAR DISC (for RH Side)

    Tech Tips

    Perform the same procedure as for the LH side.

  23. INSTALL PARKING BRAKE SHOE ADJUSTING HOLE PLUG


    1. Install the 2 parking brake shoe adjusting hole plugs.

  24. INSTALL REAR DISC BRAKE CALIPER ASSEMBLY LH


    1. Install the rear disc brake caliper assembly LH with rear flexible hose LH with the 2 bolts.

      Torque:
      72 N*m  { 734 kgf*cm, 53 ft.*lbf }
    2. Connect the rear flexible hose LH to the rear axle beam assembly with a new clip.

      Note

      Install the clip as far as it will go.

    3. Using a union nut wrench, connect the rear No. 4 brake tube to the rear flexible hose LH while holding the rear flexible hose LH with a wrench.

      Torque:
      15 N*m  { 155 kgf*cm, 11 ft.*lbf }

      Note


      • Do not bend or damage the brake line.

      • Do not allow any foreign matter such as dirt and dust to enter the brake line from the connecting points.

      • Use the formula to calculate special torque values for situations where the union nut wrench is combined with a torque wrench Click here.

  25. INSTALL REAR DISC BRAKE CALIPER ASSEMBLY RH

    Tech Tips

    Perform the same procedure as for the LH side.

  26. INSTALL SKID CONTROL SENSOR WIRE LH

    Click here

  27. INSTALL SKID CONTROL SENSOR WIRE RH

    Tech Tips

    Perform the same procedure as for the LH side.

  28. CONNECT SKID CONTROL SENSOR WIRE LH

    Click here

  29. CONNECT SKID CONTROL SENSOR WIRE RH

    Tech Tips

    Perform the same procedure as for the LH side.

  30. INSTALL REAR SUSPENSION BRACE SUB-ASSEMBLY


    1. Install the rear suspension brace sub-assembly with the 4 bolts.

      Torque:
      54 N*m  { 551 kgf*cm, 40 ft.*lbf }
  31. FILL RESERVOIR WITH BRAKE FLUID

  32. CONNECT CABLE TO NEGATIVE AUXILIARY BATTERY TERMINAL


    1. Connect the cable to the negative (-) auxiliary battery terminal Click here.

  33. BLEED BRAKE LINE

    Click here

  34. INSTALL REAR FLOOR SIDE MEMBER COVER RH


    1. Engage the 3 clips to temporarily install the rear floor side member cover RH.

    2. Install the rear floor side member cover RH with the 3 bolts.

  35. ADJUST PARKING BRAKE

    Click here

  36. INSTALL REAR WHEELS

    Torque:
    103 N*m  { 1050 kgf*cm, 76 ft.*lbf }
  37. STABILIZE SUSPENSION

    Click here

  38. FULLY TIGHTEN REAR AXLE BEAM ASSEMBLY

    Click here

  39. INSTALL REAR WHEEL HOUSE LINER LH

    Click here

  40. INSTALL REAR WHEEL HOUSE LINER RH

    Tech Tips

    Perform the same procedure as for the LH side.

  41. INSPECT REAR WHEEL ALIGNMENT

    Click here

  42. PLACE FRONT WHEELS FACING STRAIGHT AHEAD

  43. PERFORM YAW RATE AND ACCELERATION SENSOR CALIBRATION

    Click here

  44. CHECK FOR SPEED SENSOR SIGNAL

    Click here

  45. INITIALIZE HEIGHT CONTROL SENSOR SIGNAL (w/ Height Control Sensor)

    Click here

  46. ADJUST HEADLIGHT AIMING (w/ Height Control Sensor)

    Click here