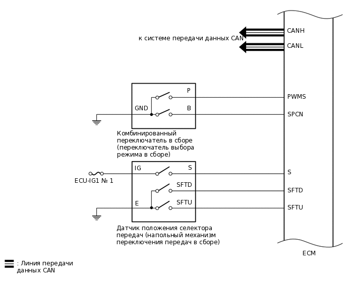
СИСТЕМА АВТОМАТИЧЕСКОЙ ТРАНСМИССИИ СХЕМА СИСТЕМЫ

C338519E02
C341536E02
C321502E03