FUEL PUMP УЗЛЫ И ДЕТАЛИ
ИЛЛЮСТРАЦИЯ
*1 |
ТОПЛИВОЗАБОРНИК В СБОРЕ |
*2 |
ПОДАЮЩИЙ ТОПЛИВОПРОВОД |
*3 |
УСТАНОВОЧНАЯ ПЛАСТИНА ПРОДУВОЧНОГО ПАТРУБКА ТОПЛИВНОГО БАКА |
*4 |
ТРУБКА № 1, ОТВОДЯЩАЯ ПАРЫ ТОПЛИВА |
*5 |
ВЫХОДНОЙ ПАТРУБОК УГОЛЬНОГО АДСОРБЕРА |
*6 |
ТРУБКА, ОТВОДЯЩАЯ ПАРЫ ТОПЛИВА, В СБОРЕ |
*7 |
ЗАЖИМ ТРУБНОГО СОЕДИНЕНИЯ |
*8 |
ТОПЛИВНЫЙ ШЛАНГ |
*9 |
ПРОКЛАДКА |
- |
- |
![]() |
Н*м (кгс*см, фунт-сила-фут) : Номинальный момент затяжки |
● |
Деталь однократного применения |
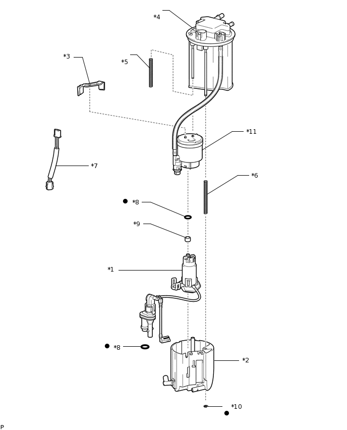
ИЛЛЮСТРАЦИЯ
*1 |
ТОПЛИВНЫЙ НАСОС В СБОРЕ С ФИЛЬТРОМ |
*2 |
ВСПОМОГАТЕЛЬНЫЙ ТОПЛИВНЫЙ БАК № 1 |
*3 |
ОПОРА ТОПЛИВОЗАБОРНИКА № 1 |
*4 |
ПЛАСТИНА ТОПЛИВОЗАБОРНИКА В СБОРЕ |
*5 |
АМОРТИЗАТОР ТОПЛИВНОГО БАКА № 2 |
*6 |
АМОРТИЗАТОР ТОПЛИВНОГО БАКА № 3 |
*7 |
ЖГУТ ПРОВОДОВ ТОПЛИВНОГО НАСОСА |
*8 |
КОЛЬЦЕВОЕ УПЛОТНЕНИЕ |
*9 |
РАСПОРНАЯ ВТУЛКА ТОПЛИВНОГО НАСОСА |
*10 |
УСТАНОВОЧНЫЙ ДЕРЖАТЕЛЬ ТРУБЫ ТОПЛИВНОГО БАКА |
*11 |
ТОПЛИВНЫЙ ФИЛЬТР В СБОРЕ |
- |
- |
● |
Деталь однократного применения |
- |
- |
