ПОДОГРЕВАТЕЛЬ PTC В СБОРЕ (для моделей с правосторонним рулевым управлением) ПРОВЕРКА

ПОРЯДОК ВЫПОЛНЕНИЯ

  1. ПРОВЕРЬТЕ УСТРОЙСТВО БЫСТРОГО ПОДОГРЕВА В СБОРЕ

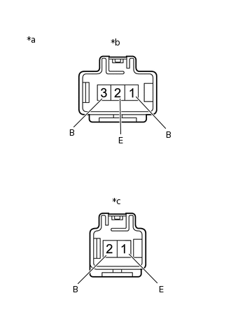
    1. E170870C21

      *a

      Устройство с неподсоединенным жгутом проводов

      (устройство быстрого подогрева в сборе)

      *b

      Разъем A

      *c

      Разъем B

      Измерьте сопротивление в соответствии со значениями, приведенными в таблице ниже.

      Номинальное сопротивление

      Подключение диагностического прибора

      Условие

      Номинальное значение

      A-1 (B) - B-1 (E)

      Всегда

      Менее 1 Ом

      A-2 (E) - B-2 (B)

      Всегда

      Менее 1 Ом

      A-3 (B) - B-1 (E)

      Всегда

      Менее 1 Ом

      A-3 (B) - B-2 (B)

      Всегда

      Менее 1 Ом

      • Если результат не соответствует требованиям, замените устройство быстрого подогрева в сборе.