АУДИОВИЗУАЛЬНАЯ СИСТЕМА (для моделей с радиоприемником с дисплеем) Цепь переключателей на рулевом колесе

ОПИСАНИЕ

Эта цепь используется для передачи сигналов управления от переключателя на рулевом колесе в сборе в радиоприемник с дисплеем в сборе.

Когда в цепи имеется обрыв, управлять аудиосистемой посредством переключателя на рулевом колесе в сборе невозможно.

При коротком замыкании в цепи результат такой же, как если бы переключатель был постоянно нажат.

Соответственно, управление радиоприемником с дисплеем в сборе посредством переключателя на рулевом колесе в сборе оказывается невозможным, а сам радиоприемник с дисплеем в сборе не может функционировать.

СХЕМА СОЕДИНЕНИЙ

A01DXQLE10

ПОСЛЕДОВАТЕЛЬНОСТЬ ПРОВЕРКИ

CAUTION:

Автомобиль оборудован дополнительной системой (пассивной) безопасности (SRS), включающей в себя подушки безопасности. Прежде чем приступать к обслуживанию (в том числе снятию или установке деталей), изучите информацию о мерах безопасности для системы SRS (см. стр. Click here).

ПОРЯДОК ВЫПОЛНЕНИЯ


  1. ПРОВЕРЬТЕ ПЕРЕКЛЮЧАТЕЛИ НА РУЛЕВОМ КОЛЕСЕ


    1. Снимите переключатель на рулевом колеса в сборе (см. стр. Click here)

      A01E01VE01
      Обозначения на рисунке
      *1 Переключатель Volume (громкость) + *2 Переключатель Volume (громкость) -
      *3 Переключатель Seek (поиск) - *4 Переключатель Seek (поиск) +
      *5 Переключатель MODE (режим) *6 Переключатель отключения от линии
      *7 Переключатель подключения к линии - -
    2. Измерьте сопротивление в соответствии со значениями, приведенными в таблице ниже.

      Номинальное сопротивление
      Контакты для подключения диагностического прибора Положение переключателя Заданные условия
      10 (AU1) - 8 (EAU) Ни один переключатель не нажат 95-105 кОм
      Нажатие выключателя "Seek+" (поиск+) Менее 2,5 Ом
      Нажатие выключателя "Seek-" (поиск-) 312,6 - 345,5 Ом
      Нажатие выключателя "Volume+" (громкость+) 950 - 1050 Ом
      Нажатие выключателя "Volume-" (громкость-) 2954,5 - 3265,5 Ом
      9 (AU2) - 8 (EAU) Ни один переключатель не нажат 95-105 кОм
      Нажатие переключателя "MODE" (режим) Менее 2,5 Ом
      Нажатие переключателя "On Hook" (отключение от линии) 312,6 - 345,5 Ом
      Нажатие переключателя "Off Hook" (подключение к линии) 950 - 1050 Ом

    NG
    OK
  2. ПРОВЕРЬТЕ ВИТОЙ КАБЕЛЬ В СБОРЕ


    1. A01E10ZE01
      Обозначения на рисунке
      *a Со стороны переключателей на рулевом колесе
      *b Со стороны проводки автомобиля

      Снимите витой кабель в сборе (см. стр. Click here).

    2. Измерьте сопротивление в соответствии со значениями, приведенными в таблице ниже.

      Номинальное сопротивление
      Контакты для подключения диагностического прибора Режим Заданные условия
      8 (EAU) - 4 (EAU) Витой кабель повернут на 2,5 оборота против часовой стрелки Менее 1 Ом
      Витой кабель находится в центральном положении
      Витой кабель повернут на 2,5 оборота по часовой стрелке
      10 (AU1) - 6 (AU1) Витой кабель повернут на 2,5 оборота против часовой стрелки
      Витой кабель находится в центральном положении
      Витой кабель повернут на 2,5 оборота по часовой стрелке
      9 (AU2) - 5 (AU2) Витой кабель повернут на 2,5 оборота против часовой стрелки
      Витой кабель находится в центральном положении
      Витой кабель повернут на 2,5 оборота по часовой стрелке

      CAUTION:

      Витой кабель является важной частью системы подушек безопасности (SRS). Неправильно снятый или установленный витой кабель может помешать развертыванию подушки безопасности. Прочтите информацию раздела "Предостережение по работе с системой SRS" (см. стр. Click here).


    NG
    OK
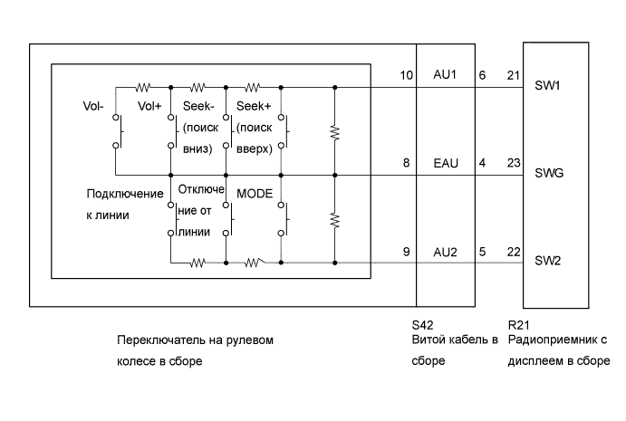
  3. ПРОВЕРЬТЕ ЖГУТ ПРОВОДОВ И РАЗЪЕМ (РАДИОПРИЕМНИК С ДИСПЛЕЕМ – ВИТОЙ КАБЕЛЬ)


    1. Отсоедините разъем R21 радиоприемника с дисплеем в сборе.

    2. Отсоедините разъем S42 витого кабеля в сборе.

    3. Измерьте сопротивление в соответствии со значениями, приведенными в таблице ниже.

      Номинальное сопротивление
      Контакты для подключения диагностического прибора Режим Заданные условия
      R21-21 (SW1) - S42-6 (AU1) Всегда Менее 1 Ом
      R21-22 (SW2) - S42-5 (AU2)
      R21-23 (SWG) - S42-4 (EAU)
      R21-21 (SW1) - масса Всегда 10 кОм или более
      R21-22 (SW2) - масса
      R21-23 (SWG) - масса

    NG
    OK