СЕНСОРНАЯ СИСТЕМА ПОМОЩИ ПРИ ПАРКОВКЕ LEXUS (для моделей без интеллектуальной системы ультразвуковой локации), диагностический DTC:C1AEC

Код DTC Наименование DTC
C1AEC Нарушение обмена данными с передним датчиком

ОПИСАНИЕ

Данный DTC сохраняется в случае обрыва или короткого замыкания в линии передачи данных между передними датчиками и ЭБУ, а также при неисправности переднего датчика.

№ DTC

Неисправность

Условие обнаружения DTC

Неисправный участок

C1AEC

Нарушение обмена данными с передним датчиком

Обрыв или короткое замыкание в линии передачи данных между передними датчиками и ЭБУ, либо неисправность в переднем датчике, выявленная в режиме инициализации после включения зажигания (IG).

  • Цепь переднего ультразвукового датчика

  • Жгут проводов или разъем

  • ЭБУ предупреждения о недопустимой дистанции

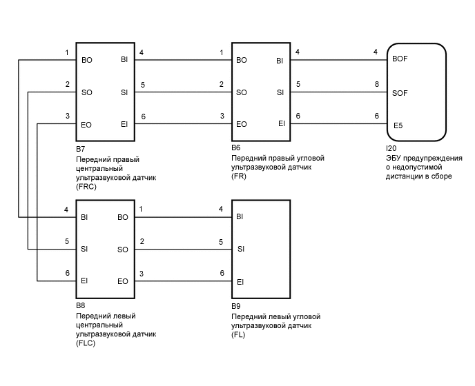
СХЕМА ЭЛЕКТРИЧЕСКИХ СОЕДИНЕНИЙ

E326709E13

ПОРЯДОК ВЫПОЛНЕНИЯ

  1. ИНИЦИАЛИЗИРУЙТЕ ПЕРЕДНИЙ УГЛОВОЙ УЛЬТРАЗВУКОВОЙ ДАТЧИК И ПЕРЕДНИЙ ЦЕНТРАЛЬНЫЙ УЛЬТРАЗВУКОВОЙ ДАТЧИК

    1. Инициализируйте передние угловые ультразвуковые датчики (левый и правый передние датчики) и передние центральные ультразвуковые датчики (левый и правый передние центральные датчики).

      Нажмите здесьЩелкните по следующей ссылке

    Результат

    Перейти к

    СЛЕДУЮЩЕЕ -

    ДАЛЕЕ
  2. ПРОВЕРЬТЕ ВЫВОДИМЫЙ КОД DTC (C1AEC)

    1. Проверьте наличие кодов DTC.

      Нажмите здесьЩелкните по следующей ссылке

      Body Electrical > IPA/ICS/Clearance Sonar > Trouble Codes

    2. Сбросьте коды DTC.

      Нажмите здесьЩелкните по следующей ссылке

      Body Electrical > IPA/ICS/Clearance Sonar > Clear DTCs

    3. Еще раз проверьте DTC.

      Нажмите здесьЩелкните по следующей ссылке

      Body Electrical > IPA/ICS/Clearance Sonar > Trouble Codes

    Результат

    Result

    Следующий шаг

    Коды DTC не выводятся

    A

    Выводится DTC C1AEC

    B

    A

    ВЫПОЛНИТЕ ПРОВЕРКУ С ИМИТАЦИЕЙ УСЛОВИЙ ВОЗНИКНОВЕНИЯ НЕИСПРАВНОСТИ

    B
  3. ПРОВЕРЬТЕ ЖГУТ ПРОВОДОВ И РАЗЪЕМ (ЭБУ ПРЕДУПРЕЖДЕНИЯ О НЕДОПУСТИМОЙ ДИСТАНЦИИ – ПЕРЕДНИЙ УГЛОВОЙ УЛЬТРАЗВУКОВОЙ ДАТЧИК [ПРАВЫЙ ПЕРЕДНИЙ ДАТЧИК])

    1. Отсоедините разъем I20 ЭБУ предупреждения о недопустимой дистанции.

    2. Отсоедините разъем B6 переднего углового ультразвукового датчика (правого переднего датчика).

    3. Измерьте сопротивление в соответствии со значениями, приведенными в таблице ниже.

      Номинальное сопротивление

      Подключение диагностического прибора

      Условие

      Заданные условия

      I20-4 (BOF) - B6-4 (BI)

      Всегда

      Менее 1 Ом

      I20-8 (SOF) - B6-5 (SI)

      Всегда

      Менее 1 Ом

      I20-6 (E5) - B6-6 (EI)

      Всегда

      Менее 1 Ом

      I20-4 (BOF) или B6-4 (BI) - масса

      Всегда

      10 кОм или более

      I20-8 (SOF) или B6-5 (SI) - масса

      Всегда

      10 кОм или более

      I20-6 (E5) или B6-6 (EI) - масса

      Всегда

      10 кОм или более

    Результат

    Перейти к

    OK

    НЕ СООТВ.

    НЕ СООТВ.

    ОТРЕМОНТИРУЙТЕ ИЛИ ЗАМЕНИТЕ ЖГУТ ПРОВОДОВ ИЛИ РАЗЪЕМ

    СООТВ
  4. ПРОВЕРЬТЕ ЖГУТ ПРОВОДОВ И РАЗЪЕМ (ПЕРЕДНИЙ УГЛОВОЙ УЛЬТРАЗВУКОВОЙ ДАТЧИК [ПРАВЫЙ ПЕРЕДНИЙ ДАТЧИК] – ПЕРЕДНИЙ ЦЕНТРАЛЬНЫЙ УЛЬТРАЗВУКОВОЙ ДАТЧИК [ПРАВЫЙ ПЕРЕДНИЙ ЦЕНТРАЛЬНЫЙ ДАТЧИК])

    1. Отсоедините разъем B6 переднего углового ультразвукового датчика (правого переднего датчика).

    2. Отсоедините разъем B7 переднего центрального ультразвукового датчика (правого переднего центрального датчика).

    3. Измерьте сопротивление в соответствии со значениями, приведенными в таблице ниже.

      Номинальное сопротивление

      Подключение диагностического прибора

      Условие

      Заданные условия

      B6-1 (BO) - B7-4 (BI)

      Всегда

      Менее 1 Ом

      B6-2 (SO) - B7-5 (SI)

      Всегда

      Менее 1 Ом

      B6-3 (EO) - B7-6 (EI)

      Всегда

      Менее 1 Ом

      B6-1 (BO) или B7-4 (BI) - масса

      Всегда

      10 кОм или более

      B6-2 (SO) или B7-5 (SI) - масса

      Всегда

      10 кОм или более

      B6-3 (EO) или B7-6 (EI) - масса

      Всегда

      10 кОм или более

    Результат

    Перейти к

    OK

    НЕ СООТВ.

    НЕ СООТВ.

    ОТРЕМОНТИРУЙТЕ ИЛИ ЗАМЕНИТЕ ЖГУТ ПРОВОДОВ ИЛИ РАЗЪЕМ

    СООТВ
  5. ПРОВЕРЬТЕ ЖГУТ ПРОВОДОВ И РАЗЪЕМ (ПЕРЕДНИЙ ЦЕНТРАЛЬНЫЙ УЛЬТРАЗВУКОВОЙ ДАТЧИК [ПРАВЫЙ ПЕРЕДНИЙ ЦЕНТРАЛЬНЫЙ ДАТЧИК] – ПЕРЕДНИЙ ЦЕНТРАЛЬНЫЙ УЛЬТРАЗВУКОВОЙ ДАТЧИК [ЛЕВЫЙ ПЕРЕДНИЙ ЦЕНТРАЛЬНЫЙ ДАТЧИК])

    1. Отсоедините разъем B7 переднего центрального ультразвукового датчика (правого переднего центрального датчика).

    2. Отсоедините разъем B8 переднего центрального ультразвукового датчика (левого переднего центрального датчика).

    3. Измерьте сопротивление в соответствии со значениями, приведенными в таблице ниже.

      Номинальное сопротивление

      Подключение диагностического прибора

      Условие

      Заданные условия

      B7-1 (BO) - B8-4 (BI)

      Всегда

      Менее 1 Ом

      B7-2 (SO) - B8-5 (SI)

      Всегда

      Менее 1 Ом

      B7-3 (EO) - B8-6 (EI)

      Всегда

      Менее 1 Ом

      B7-1 (BO) или B8-4 (BI) - масса

      Всегда

      10 кОм или более

      B7-2 (SO) или B8-5 (SI) - масса

      Всегда

      10 кОм или более

      B7-3 (EO) или B8-6 (EI) - масса

      Всегда

      10 кОм или более

    Результат

    Перейти к

    OK

    НЕ СООТВ.

    НЕ СООТВ.

    ОТРЕМОНТИРУЙТЕ ИЛИ ЗАМЕНИТЕ ЖГУТ ПРОВОДОВ ИЛИ РАЗЪЕМ

    СООТВ
  6. ПРОВЕРЬТЕ ЖГУТ ПРОВОДОВ И РАЗЪЕМ (ПЕРЕДНИЙ ЦЕНТРАЛЬНЫЙ УЛЬТРАЗВУКОВОЙ ДАТЧИК [ЛЕВЫЙ ПЕРЕДНИЙ ЦЕНТРАЛЬНЫЙ ДАТЧИК] – ПЕРЕДНИЙ УГЛОВОЙ УЛЬТРАЗВУКОВОЙ ДАТЧИК [ЛЕВЫЙ ПЕРЕДНИЙ ДАТЧИК])

    1. Отсоедините разъем B8 переднего центрального ультразвукового датчика (левого переднего центрального датчика).

    2. Отсоедините разъем B9 переднего углового ультразвукового датчика (левого переднего датчика).

    3. Измерьте сопротивление в соответствии со значениями, приведенными в таблице ниже.

      Номинальное сопротивление

      Подключение диагностического прибора

      Условие

      Заданные условия

      B8-1 (BO) - B9-4 (BI)

      Всегда

      Менее 1 Ом

      B8-2 (SO) - B9-5 (SI)

      Всегда

      Менее 1 Ом

      B8-3 (EO) - B9-6 (EI)

      Всегда

      Менее 1 Ом

      B8-1 (BO) или B9-4 (BI) - масса

      Всегда

      10 кОм или более

      B8-2 (SO) или B9-5 (SI) - масса

      Всегда

      10 кОм или более

      B8-3 (EO) или B9-6 (EI) - масса

      Всегда

      10 кОм или более

    Результат

    Перейти к

    OK

    НЕ СООТВ.

    НЕ СООТВ.

    ОТРЕМОНТИРУЙТЕ ИЛИ ЗАМЕНИТЕ ЖГУТ ПРОВОДОВ ИЛИ РАЗЪЕМ

    СООТВ
  7. ПРОВЕРЬТЕ ПЕРЕДНИЙ УГЛОВОЙ УЛЬТРАЗВУКОВОЙ ДАТЧИК (ЛЕВЫЙ ПЕРЕДНИЙ ДАТЧИК)

    1. Снимите передний угловой ультразвуковой датчик (левый передний датчик).

      Нажмите здесьЩелкните по следующей ссылке

    2. Проверьте передний угловой ультразвуковой датчик (левый передний датчик).

      Нажмите здесьЩелкните по следующей ссылке

    Результат

    Перейти к

    OK

    НЕ СООТВ.

    НЕ СООТВ.

    ЗАМЕНИТЕ ПЕРЕДНИЙ УГЛОВОЙ УЛЬТРАЗВУКОВОЙ ДАТЧИК (ЛЕВЫЙ ПЕРЕДНИЙ ДАТЧИК)

    СООТВ
  8. ПРОВЕРЬТЕ ПЕРЕДНИЙ ЦЕНТРАЛЬНЫЙ УЛЬТРАЗВУКОВОЙ ДАТЧИК (ЛЕВЫЙ ПЕРЕДНИЙ ЦЕНТРАЛЬНЫЙ ДАТЧИК)

    1. Снимите передний центральный ультразвуковой датчик (левый передний центральный датчик).

      Нажмите здесьЩелкните по следующей ссылке

    2. Проверьте передний центральный ультразвуковой датчик (левый передний центральный датчик).

      Нажмите здесьЩелкните по следующей ссылке

    Результат

    Перейти к

    OK

    НЕ СООТВ.

    НЕ СООТВ.

    ЗАМЕНИТЕ ПЕРЕДНИЙ ЦЕНТРАЛЬНЫЙ УЛЬТРАЗВУКОВОЙ ДАТЧИК (ЛЕВЫЙ ПЕРЕДНИЙ ЦЕНТРАЛЬНЫЙ ДАТЧИК)

    СООТВ
  9. ПРОВЕРЬТЕ ПЕРЕДНИЙ ЦЕНТРАЛЬНЫЙ УЛЬТРАЗВУКОВОЙ ДАТЧИК (ПРАВЫЙ ПЕРЕДНИЙ ЦЕНТРАЛЬНЫЙ ДАТЧИК)

    1. Снимите передний центральный ультразвуковой датчик (правый передний центральный датчик).

      Нажмите здесьЩелкните по следующей ссылке

    2. Проверьте передний центральный ультразвуковой датчик (правый передний центральный датчик).

      Нажмите здесьЩелкните по следующей ссылке

    Результат

    Перейти к

    OK

    НЕ СООТВ.

    НЕ СООТВ.

    ЗАМЕНИТЕ ПЕРЕДНИЙ ЦЕНТРАЛЬНЫЙ УЛЬТРАЗВУКОВОЙ ДАТЧИК (ПРАВЫЙ ПЕРЕДНИЙ ЦЕНТРАЛЬНЫЙ ДАТЧИК)

    СООТВ
  10. ПРОВЕРЬТЕ ПЕРЕДНИЙ УГЛОВОЙ УЛЬТРАЗВУКОВОЙ ДАТЧИК (ПРАВЫЙ ПЕРЕДНИЙ ДАТЧИК)

    1. Снимите передний угловой ультразвуковой датчик (правый передний датчик).

      Нажмите здесьЩелкните по следующей ссылке

    2. Проверьте передний угловой ультразвуковой датчик (правый передний датчик).

      Нажмите здесьЩелкните по следующей ссылке

    Результат

    Перейти к

    OK

    НЕ СООТВ.

    НЕ СООТВ.

    ЗАМЕНИТЕ ПЕРЕДНИЙ УГЛОВОЙ УЛЬТРАЗВУКОВОЙ ДАТЧИК (ПРАВЫЙ ПЕРЕДНИЙ ДАТЧИК)

    СООТВ
  11. ЗАМЕНИТЕ ПЕРЕДНИЙ УГЛОВОЙ УЛЬТРАЗВУКОВОЙ ДАТЧИК (ЛЕВЫЙ ПЕРЕДНИЙ ДАТЧИК)

    1. Замените передний угловой ультразвуковой датчик (левый передний датчик) заведомо исправным.

      Нажмите здесьЩелкните по следующей ссылке

      Tip:

      Все датчики взаимозаменяемы. Чтобы проверить, правильно ли работает датчик, поменяйте его местами с заведомо исправным датчиком с другой стороны автомобиля.

    Результат

    Перейти к

    СЛЕДУЮЩЕЕ -

    ДАЛЕЕ
  12. ПРОВЕРЬТЕ ВЫВОДИМЫЙ КОД DTC (C1AEC)

    1. Сбросьте коды DTC.

      Нажмите здесьЩелкните по следующей ссылке

      Body Electrical > IPA/ICS/Clearance Sonar > Clear DTCs

    2. Проверьте наличие кодов DTC.

      Нажмите здесьЩелкните по следующей ссылке

      Body Electrical > IPA/ICS/Clearance Sonar > Trouble Codes

    Результат

    Result

    Следующий шаг

    Коды DTC не выводятся

    A

    Выводится DTC C1AEC

    B

    A

    КОНЕЦ (ПЕРЕДНИЙ УГЛОВОЙ УЛЬТРАЗВУКОВОЙ ДАТЧИК [ЛЕВЫЙ ПЕРЕДНИЙ ДАТЧИК] НЕИСПРАВЕН)

    B
  13. ЗАМЕНИТЕ ПЕРЕДНИЙ ЦЕНТРАЛЬНЫЙ УЛЬТРАЗВУКОВОЙ ДАТЧИК (ЛЕВЫЙ ПЕРЕДНИЙ ЦЕНТРАЛЬНЫЙ ДАТЧИК)

    1. Замените передний центральный ультразвуковой датчик (левый передний центральный датчик) заведомо исправным.

      Нажмите здесьЩелкните по следующей ссылке

      Tip:

      Все датчики взаимозаменяемы. Чтобы проверить, правильно ли работает датчик, поменяйте его местами с заведомо исправным датчиком с другой стороны автомобиля.

    Результат

    Перейти к

    СЛЕДУЮЩЕЕ -

    ДАЛЕЕ
  14. ПРОВЕРЬТЕ ВЫВОДИМЫЙ КОД DTC (C1AEC)

    1. Сбросьте коды DTC.

      Нажмите здесьЩелкните по следующей ссылке

      Body Electrical > IPA/ICS/Clearance Sonar > Clear DTCs

    2. Проверьте наличие кодов DTC.

      Нажмите здесьЩелкните по следующей ссылке

      Body Electrical > IPA/ICS/Clearance Sonar > Trouble Codes

    Результат

    Result

    Следующий шаг

    Коды DTC не выводятся

    A

    Выводится DTC C1AEC

    B

    A

    КОНЕЦ (ПЕРЕДНИЙ ЦЕНТРАЛЬНЫЙ УЛЬТРАЗВУКОВОЙ ДАТЧИК [ЛЕВЫЙ ПЕРЕДНИЙ ЦЕНТРАЛЬНЫЙ ДАТЧИК] НЕИСПРАВЕН)

    B
  15. ЗАМЕНИТЕ ПЕРЕДНИЙ ЦЕНТРАЛЬНЫЙ УЛЬТРАЗВУКОВОЙ ДАТЧИК (ПРАВЫЙ ПЕРЕДНИЙ ЦЕНТРАЛЬНЫЙ ДАТЧИК)

    1. Замените передний центральный ультразвуковой датчик (правый передний центральный датчик) заведомо исправным.

      Нажмите здесьЩелкните по следующей ссылке

      Tip:

      Все датчики взаимозаменяемы. Чтобы проверить, правильно ли работает датчик, поменяйте его местами с заведомо исправным датчиком с другой стороны автомобиля.

    Результат

    Перейти к

    СЛЕДУЮЩЕЕ -

    ДАЛЕЕ
  16. ПРОВЕРЬТЕ ВЫВОДИМЫЙ КОД DTC (C1AEC)

    1. Сбросьте коды DTC.

      Нажмите здесьЩелкните по следующей ссылке

      Body Electrical > IPA/ICS/Clearance Sonar > Clear DTCs

    2. Проверьте наличие кодов DTC.

      Нажмите здесьЩелкните по следующей ссылке

      Body Electrical > IPA/ICS/Clearance Sonar > Trouble Codes

    Результат

    Result

    Следующий шаг

    Коды DTC не выводятся

    A

    Выводится DTC C1AEC

    B

    A

    КОНЕЦ (ПЕРЕДНИЙ ЦЕНТРАЛЬНЫЙ УЛЬТРАЗВУКОВОЙ ДАТЧИК [ПРАВЫЙ ПЕРЕДНИЙ ЦЕНТРАЛЬНЫЙ ДАТЧИК] НЕИСПРАВЕН)

    B
  17. ЗАМЕНИТЕ ПЕРЕДНИЙ УГЛОВОЙ УЛЬТРАЗВУКОВОЙ ДАТЧИК (ПРАВЫЙ ПЕРЕДНИЙ ДАТЧИК)

    1. Замените передний угловой ультразвуковой датчик (правый передний датчик) заведомо исправным.

      Нажмите здесьЩелкните по следующей ссылке

      Tip:

      Все датчики взаимозаменяемы. Чтобы проверить, правильно ли работает датчик, поменяйте его местами с заведомо исправным датчиком с другой стороны автомобиля.

    Результат

    Перейти к

    СЛЕДУЮЩЕЕ -

    ДАЛЕЕ
  18. ПРОВЕРЬТЕ ВЫВОДИМЫЙ КОД DTC (C1AEC)

    1. Сбросьте коды DTC.

      Нажмите здесьЩелкните по следующей ссылке

      Body Electrical > IPA/ICS/Clearance Sonar > Clear DTCs

    2. Проверьте наличие кодов DTC.

      Нажмите здесьЩелкните по следующей ссылке

      Body Electrical > IPA/ICS/Clearance Sonar > Trouble Codes

    Результат

    Result

    Следующий шаг

    Коды DTC не выводятся

    A

    Выводится DTC C1AEC

    B

    A

    КОНЕЦ (ПЕРЕДНИЙ УГЛОВОЙ УЛЬТРАЗВУКОВОЙ ДАТЧИК [ПРАВЫЙ ПЕРЕДНИЙ ДАТЧИК] НЕИСПРАВЕН)

    B

    ЗАМЕНИТЕ ЭБУ ПРЕДУПРЕЖДЕНИЯ О НЕДОПУСТИМОЙ ДИСТАНЦИИ В СБОРЕ

    Для моделей с левосторонним рулевым управлением: Нажмите здесьЩелкните по следующей ссылке

    Для моделей с правосторонним рулевым управлением: Нажмите здесьЩелкните по следующей ссылке