THEFT DETERRENT SYSTEM Intrusion Sensor Circuit

DTC Code DTC Name
Intrusion Sensor Circuit

DESCRIPTION

If no warnings operate or the system can be set even though the conditions to set the system are not met, the main body ECU (multiplex network body ECU) cannot perform recognition due to a cutoff of the ON signal from the courtesy light switch from the doors, engine hood or back door, or some other problem.

If the automatic alarm operates when it should not operate, it may be due to a false detection by the intrusion sensor (theft warning ultrasonic sensor) or due to the ON signal being input when there is a short circuit in the courtesy light switch of the doors, engine hood or back door, or some other problem which would cause this to happen.

Tip:

In the following situations, the intrusion sensor (theft warning ultrasonic sensor) may operate and cause the automatic alarm system to operate even when the sensor is normal.

  • The driver steps away from the vehicle while other people, pets, etc. are in the vehicle.

  • There are things which move easily inside the vehicle, such as things hanging inside the vehicle or clothing hanging from the coat hooks.

  • A window or the sliding roof is open.

  • The vehicle is parked in a place with a lot of vibration or noise such as a parking garage.

  • The vehicle is being washed using a high-pressure spray gun or an automatic car washing machine.

  • The vehicle is continuously being struck or is vibrating due to hail or lightning.

  • The vehicle is continuously being subjected to impacts or is vibrating when snow or ice is being removed from the vehicle.

  • A frost prevention sheet which has an aluminum film is moved by wind, etc.

WIRING DIAGRAM

B300521E21

CAUTION / NOTICE / HINT

Note:
  • Inspect the fuses for circuits related to this system before performing the following inspection procedure.

  • When replacing the main body ECU (multiplex network body ECU), make sure to replace it with a new one.

PROCEDURE

  1. READ VALUE USING GTS (INTRUSION SENSOR)

    1. Connect the GTS to the DLC3.

    2. Turn the power switch on (IG).

    3. Turn the GTS on.

    4. Enter the following menus: Body Electrical / Main Body / Data List.

    5. According to the display on the GTS, read the Data List.

      Body Electrical > Main Body > Data List

      Tester Display

      Measurement Item

      Range

      Normal Condition

      Diagnostic Note

      Intrusion Sensor

      Status of the intrusion sensor detection

      ON or OFF

      ON: Intrusion sensor detected

      OFF: Intrusion sensor not detected

      -

      Body Electrical > Main Body > Data List

      Tester Display

      Intrusion Sensor

      Note:

      After setting the theft deterrent system, wait 30 seconds or more (until the vehicle is in the armed state), and place your hand in the direction of the intrusion sensor (theft warning ultrasonic sensor) and move it back and forth approximately 30 cm (11.8 in.) inside the vehicle.

      Tip:

      When performing the above inspection, have the electrical key transmitter in the vehicle exterior detection area to perform certification (this prevents the alarm from sounding).

      OK

      The display on the GTS changes according to the detection condition of the intrusion sensor (theft warning ultrasonic sensor).

    Result

    Proceed to

    OK

    NG

    OK

    PROCEED TO NEXT SUSPECTED AREA SHOWN IN PROBLEM SYMPTOMS TABLE

    NG
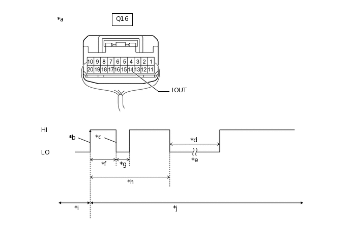
  2. CHECK WAVEFORM (INTRUSION SENSOR [THEFT WARNING ULTRASONIC SENSOR]) (IOUT)

    1. Using an oscilloscope, check the waveform.

      B432111C04

      *a

      Component with harness connected

      (Map Light Assembly)

      *b

      IOUT Initial Signal

      *c

      IOUT Initial Response

      *d

      Approximately 1.0 seconds

      *e

      Initial Diagnosis

      *f

      Approximately 1.0 to 1.6 seconds

      *g

      Approximately 0.05 seconds

      *h

      Approximately 5.5 seconds

      *i

      Disarmed State

      *j

      Arming Preparation State

      *k

      HI

      *l

      LO

      Table 1. Measurement Condition

      Tester Connection

      Content

      Tester Connection

      Q16-14 (IOUT) - Body ground

      Tool Setting

      2 V/DIV., 100 ms./DIV.

      Condition

      Theft deterrent system is set (system changes from disarmed state to arming preparation state)

      Tip:
      • If the intrusion sensor (theft warning ultrasonic sensor) is normal, an initial response is output in response to the HI input from the main body ECU (multiplex network body ECU).

      • If the waveform output remains LO, there may be a problem with the main body ECU (multiplex network body ECU), as there is no input from the main body ECU (multiplex network body ECU).

      OK

      The waveform displays properly (HI is 6.5 V or higher and LO is below 1 V).

    Result

    Proceed to

    OK

    NG

    NG

    REPLACE MAIN BODY ECU (MULTIPLEX NETWORK BODY ECU)

    OK
  3. CHECK HARNESS AND CONNECTOR (MAIN BODY ECU [MULTIPLEX NETWORK BODY ECU] - MAP LIGHT ASSEMBLY)

    1. Disconnect the G79 main body ECU (multiplex network body ECU) connector.

    2. Disconnect the Q16 map light assembly connector.

    3. Measure the resistance according to the value(s) in the table below.

      Standard Resistance

      Tester Connection

      Condition

      Specified Condition

      G79-12 (ISIF) - Q16-14 (IOUT)

      Always

      Below 1 Ω

      G79-12 (ISIF) - Body ground

      Always

      10 kΩ or higher

      Q16-14 (IOUT) - Body ground

      Always

      10 kΩ or higher

    Result

    Proceed to

    OK

    NG

    NG

    REPAIR OR REPLACE HARNESS OR CONNECTOR

    OK
  4. REPLACE MAP LIGHT ASSEMBLY

    1. Temporarily replace the map light with a new or normally functioning one.

      Click here

    Result

    Proceed to

    NEXT

    NEXT
  5. READ VALUE USING GTS (INTRUSION SENSOR)

    1. Connect the GTS to the DLC3.

    2. Turn the power switch on (IG).

    3. Turn the GTS on.

    4. Enter the following menus: Body Electrical / Main Body / Data List.

    5. According to the display on the GTS, read the Data List.

      Body Electrical > Main Body > Data List

      Tester Display

      Measurement Item

      Range

      Normal Condition

      Diagnostic Note

      Intrusion Sensor

      Status of the intrusion sensor detection

      ON or OFF

      ON: Intrusion sensor detected

      OFF: Intrusion sensor not detected

      -

      Body Electrical > Main Body > Data List

      Tester Display

      Intrusion Sensor

      Note:

      After setting the theft deterrent system, wait 30 seconds or more (until the vehicle is in the armed state), and place your hand in the direction of the intrusion sensor (theft warning ultrasonic sensor) and move it back and forth approximately 30 cm (11.8 in.) inside the vehicle.

      Tip:

      When performing the above inspection, have the electrical key transmitter in the vehicle exterior detection area to perform certification (this prevents the alarm from sounding).

      OK

      The display on the GTS changes according to the detection condition of the intrusion sensor (theft warning ultrasonic sensor).

    Result

    Proceed to

    OK

    NG

    OK

    END (MAP LIGHT ASSEMBLY WAS DEFECTIVE)

    NG

    REPLACE INTRUSION SENSOR (THEFT WARNING ULTRASONIC SENSOR)