THEFT DETERRENT

A004GTDE02
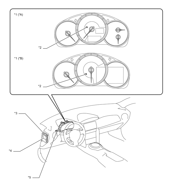
Text in Illustration
*A Models with Segment LCD Type Multi-information Display *B Models with TFT LCD Type Multi-information Display
*1 Combination Meter Assembly *2 Security Indicator Light
*3

Instrument Panel Junction Block Assembly

- Taillight Relay

*4 Main Body ECU (Network Gateway ECU)
*5 Turn Signal Flasher Assembly - -
A004GXWE02
Text in Illustration
*1

Front Door Lock with Motor Assembly LH

- Door Lock Position Switch

*2 Door Courtesy Light Switch Assembly LH
*3 Rear Combination Light Assembly *4

Luggage Door Closer Assembly

- Luggage Door Courtesy Light Switch

*5 Door Courtesy Light Switch Assembly RH *6

Front Door Lock with Motor Assembly RH

- Door Lock Position Switch

*7 Map Light Assembly - -
A004GS5E02
Text in Illustration
*1

Engine Room Relay Block

- H-LP Relay

- Horn Relay

*2 Low Pitched Horn Assembly
*3 High Pitched Horn Assembly *4 Headlight Assembly