СИСТЕМА ПОДУШЕК БЕЗОПАСНОСТИ SRS, диагностические DTC: B1920, B1921, B1922 и B1923

Код DTC Наименование DTC
B1920 Короткое замыкание в цепи правого заднего пиропатрона P/T
B1921 Обрыв цепи правого заднего пиропатрона P/T
B1922 Короткое замыкание в цепи правого заднего пиропатрона P/T (к массе)
B1923 Короткое замыкание в цепи правого заднего пиропатрона P/T (к +B)

ОПИСАНИЕ

Цепь пиропатрона правого заднего преднатяжителя включает блок управления системы SRS и правый задний ремень с катушкой и преднатяжителем в сборе.

Центральный блок управления системы SRS использует эту цепь для приведения в действие преднатяжителя, когда выполняются условия развертывания.

Эти коды DTC регистрируются при обнаружении неисправности в цепи пиропатрона правого заднего преднатяжителя.

№ DTC

Неисправность

Условие обнаружения DTC

Неисправный участок

Индикация предупреждения

Режим диагностики / режим проверки

B1920

Короткое замыкание в цепи правого заднего пиропатрона P/T

  • Блок управления системы SRS обнаруживает короткое замыкание в цепи пиропатрона правого заднего преднатяжителя в ходе выполнения первичной проверки.

  • Неисправность пиропатрона правого заднего преднатяжителя

  • Неисправность блока управления системы SRS

  • Напольный провод

  • Пиропатрон правого заднего преднатяжителя (правый задний ремень безопасности)

  • Центральный блок управления системы SRS

Загорается

Относится к режиму проверки

B1921

Обрыв цепи правого заднего пиропатрона P/T

  • Центральный блок управления системы SRS обнаруживает сигнал обрыва в цепи пиропатрона правого заднего преднатяжителя.

  • Неисправность пиропатрона правого заднего преднатяжителя

  • Неисправность блока управления системы SRS

  • Напольный провод

  • Пиропатрон правого заднего преднатяжителя (правый задний ремень безопасности)

  • Центральный блок управления системы SRS

Загорается

Относится к режиму проверки

B1922

Короткое замыкание в цепи правого заднего пиропатрона P/T (к массе)

  • Блок управления системы SRS обнаруживает короткое замыкание на массу в цепи пиропатрона правого заднего бокового преднатяжителя.

  • Неисправность пиропатрона правого заднего преднатяжителя

  • Неисправность блока управления системы SRS

  • Напольный провод

  • Пиропатрон правого заднего преднатяжителя (правый задний ремень безопасности)

  • Центральный блок управления системы SRS

Загорается

Относится к режиму проверки

B1923

Короткое замыкание в цепи правого заднего пиропатрона P/T (к +B)

  • Блок управления системы SRS обнаруживает короткое замыкание на B+ в цепи пиропатрона правого заднего преднатяжителя.

  • Неисправность пиропатрона правого заднего преднатяжителя

  • Неисправность блока управления системы SRS

  • Напольный провод

  • Пиропатрон правого заднего преднатяжителя (правый задний ремень безопасности)

  • Центральный блок управления системы SRS

Загорается

Относится к режиму проверки

СХЕМА ЭЛЕКТРИЧЕСКИХ СОЕДИНЕНИЙ

B475055E45

ПРЕДОСТЕРЕЖЕНИЕ / ПРИМЕЧАНИЕ / УКАЗАНИЕ

Note:

После выключения двигателя следует подождать некоторое время, прежде чем отсоединять провод от отрицательного (–) вывода аккумуляторной батареи. Поэтому, прежде чем приступать к этой работе, обязательно ознакомьтесь с примечанием относительно отсоединения провода от отрицательного (-) вывода аккумуляторной батареи.

Нажмите здесьЩелкните по следующей ссылкеЩелкните по следующей ссылке

Tip:

ПОРЯДОК ВЫПОЛНЕНИЯ

  1. ПРОВЕРЬТЕ РАЗЪЕМЫ

    1. C238348C01

      *1

      Правый задний ремень безопасности с катушкой и преднатяжителем в сборе

      *2

      Центральный блок управления системы SRS

      *3

      Напольный провод

      Выключите зажигание.

    2. Отсоедините провод от отрицательного (-) вывода аккумуляторной батареи.

      CAUTION:

      После отсоединения провода от отрицательного (-) вывода аккумуляторной батареи подождите не менее 90 с, чтобы предотвратить срабатывание системы SRS.

    3. Проверьте правильность подсоединения разъемов к правому заднему ремню с катушкой и преднатяжителем в сборе и блоку управления системы SRS.

      OK

      Разъемы подсоединены должным образом.

      Tip:

      Если разъемы подсоединены ненадежно, подсоедините их и перейдите к следующей проверке.

    4. Отсоедините разъемы от правого заднего ремня безопасности с катушкой и преднатяжителем в сборе и центрального блока управления системы SRS.

    5. Убедитесь, что контакты разъемов не деформированы и не повреждены.

      OK

      Контакты не деформированы и не повреждены.

    6. Убедитесь, что разъем напольного провода (со стороны ремня безопасности правого заднего сиденья с катушкой и преднатяжителем) не ослаблен, не деформирован и не поврежден.

      СООТВ

      Кнопка блокировки разъема подушки безопасности не освобождена, защелка замка не деформирована и не повреждена.

    7. Убедитесь, что короткие пружины механизма предотвращения срабатывания в разъеме напольного провода не деформированы и не повреждены.

      OK

      Короткие пружины не деформированы и не повреждены.

    Result

    Перейти к

    OK

    НЕ СООТВ.

    НЕ СООТВ.

    ЗАМЕНИТЕ НАПОЛЬНЫЙ ПРОВОД

    СООТВ
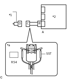
  2. ПРОВЕРЬТЕ ПРАВЫЙ ЗАДНИЙ РЕМЕНЬ С КАТУШКОЙ И ПРЕДНАТЯЖИТЕЛЕМ В СБОРЕ

    1. C238358C38

      *1

      Правый задний ремень безопасности с катушкой и преднатяжителем в сборе

      *2

      Блок управления системы SRS

      *a

      Вид спереди разъема со стороны жгута проводов:

      (к правому заднему ремню безопасности с катушкой и преднатяжителем в сборе)

      Подсоедините разъем к блоку управления системы SRS.

    2. Подсоедините SST (сопротивление 2,1 Ом) к разъему С.

      CAUTION:

      Никогда не подключайте для измерения диагностический прибор к правому заднему ремню с катушкой и преднатяжителем в сборе, так как это может привести к серьезной травме вследствие срабатывания преднатяжителя.

      Note:
      • При подсоединении не следует вставлять SST в контакты разъема с усилием.

      • Вставляйте SST в контакты разъема по прямой.

    3. Подсоедините провод к отрицательному (-) выводу аккумуляторной батареи.

    4. Установите замок зажигания в положение ON (ВКЛ) и подождите не менее 60 секунд.

    5. Удалите коды DTC, сохраненные в памяти.

      Body Electrical > SRS Airbag > Clear DTCs

    6. Выключите зажигание.

    7. Установите замок зажигания в положение ON (ВКЛ) и подождите не менее 60 секунд.

    8. Проверьте наличие кодов DTC.

      Body Electrical > SRS Airbag > Trouble Codes

      OK

      DTC B1920, B1921, B1922 или B1923 не выводится.

      Tip:

      На этом этапе могут выводиться коды, отличные от кодов DTC B1920, B1921, B1922 и B1923, однако они не связаны с данной проверкой.

    9. Выключите зажигание.

    10. Отсоедините провод от отрицательного (-) вывода аккумуляторной батареи.

      CAUTION:

      После отсоединения провода от отрицательного (-) вывода аккумуляторной батареи подождите не менее 90 с, чтобы предотвратить срабатывание системы SRS.

    11. Отсоедините SST от разъема С.

    09843-18061

    Результат

    Перейти к

    OK

    НЕ СООТВ.

    СООТВ

    ЗАМЕНИТЕ ПРАВЫЙ ЗАДНИЙ РЕМЕНЬ С КАТУШКОЙ И ПРЕДНАТЯЖИТЕЛЕМ В СБОРЕ

    NG
  3. ПРОВЕРЬТЕ НАПОЛЬНЫЙ ПРОВОД

    1. C237240C78

      *1

      Правый задний ремень безопасности с катушкой и преднатяжителем в сборе

      *2

      Центральный блок управления системы SRS

      *3

      Напольный провод

      *a

      Вид спереди разъема со стороны жгута проводов:

      (к правому заднему ремню безопасности с катушкой и преднатяжителем в сборе)

      Отсоедините напольный провод от центрального блока управления системы SRS.

    2. Проверьте, нет ли в цепи короткого замыкания на B+.

      1. Подсоедините провод к отрицательному выводу (-) аккумуляторной батареи.

      2. Установите замок зажигания в положение ON (ВКЛ).

      3. Измерьте напряжение в соответствии со значениями, приведенными в таблице.

        Номинальное напряжение

        Подключение диагностического прибора

        Условие

        Заданные условия

        R54-1 (RR+) - масса

        Зажигание включено

        Менее 1 В

        R54-2 (RR-) - масса

        Зажигание включено

        Менее 1 В

      4. Выключите зажигание.

      5. Отсоедините провод от отрицательного (-) вывода аккумуляторной батареи.

        CAUTION:

        После отсоединения провода от отрицательного (-) вывода аккумуляторной батареи подождите не менее 90 с, чтобы предотвратить срабатывание системы SRS.

    3. Проверьте, нет ли в цепи обрыва.

      1. Измерьте сопротивление в соответствии со значениями, приведенными в таблице ниже.

        Номинальное сопротивление

        Подключение диагностического прибора

        Условие

        Заданные условия

        R54-1 (RR+) - R54-2 (RR-)

        Всегда

        Менее 1 Ом

    4. Проверьте, нет ли в цепи короткого замыкания на массу.

      1. Измерьте сопротивление в соответствии со значениями, приведенными в таблице.

        Номинальное сопротивление

        Подключение диагностического прибора

        Условие

        Заданные условия

        R54-1 (RR+) - масса

        Всегда

        1 МОм или более

        R54-2 (RR-) - масса

        Всегда

        1 МОм или более

    5. Проверьте, нет ли в цепи короткого замыкания.

      1. Разомкните механизм предотвращения срабатывания, встроенный в разъем B.

        Нажмите здесьЩелкните по следующей ссылке

      2. Измерьте сопротивление в соответствии со значениями, приведенными в таблице ниже.

        Номинальное сопротивление

        Подключение диагностического прибора

        Условие

        Заданные условия

        R54-1 (RR+) - R54-2 (RR-)

        Всегда

        1 МОм или более

      3. Верните механизм предотвращения срабатывания разъема B в исходное состояние.

    Result

    Перейти к

    OK

    НЕ СООТВ.

    НЕ СООТВ.

    ЗАМЕНИТЕ НАПОЛЬНЫЙ ПРОВОД

    СООТВ
  4. ПРОВЕРЬТЕ DTC

    1. C238241C01

      *1

      Правый задний ремень безопасности с катушкой и преднатяжителем в сборе

      *2

      Блок управления системы SRS

      Подсоедините разъемы к правому заднему ремню безопасности с катушкой и преднатяжителем в сборе и центральному блоку управления системы SRS.

    2. Подсоедините провод к отрицательному (-) выводу аккумуляторной батареи.

    3. Установите замок зажигания в положение ON (ВКЛ) и подождите не менее 60 секунд.

    4. Удалите коды DTC, сохраненные в памяти.

      Body Electrical > SRS Airbag > Clear DTCs

    5. Выключите зажигание.

    6. Установите замок зажигания в положение ON (ВКЛ) и подождите не менее 60 секунд.

    7. Проверьте наличие кодов DTC.

      Body Electrical > SRS Airbag > Trouble Codes

      OK

      DTC B1920, B1921, B1922 или B1923 не выводится.

      Tip:

      На этом этапе могут выводиться коды, отличные от кодов DTC B1920, B1921, B1922 и B1923, однако они не связаны с данной проверкой.

    Результат

    Перейти к

    OK

    НЕ СООТВ.

    OK

    ВЫПОЛНИТЕ ПРОВЕРКУ С ИМИТАЦИЕЙ УСЛОВИЙ ВОЗНИКНОВЕНИЯ НЕИСПРАВНОСТИ

    NG

    ЗАМЕНИТЕ ЦЕНТРАЛЬНЫЙ БЛОК УПРАВЛЕНИЯ СИСТЕМЫ SRS