AIR CONDITIONING SYSTEM, Diagnostic DTC:B1411/11

DTC Code DTC Name
B1411/11 Room Temperature Sensor Circuit

DESCRIPTION

The room temperature sensor (cooler thermistor) is installed in the instrument panel. It detects the cabin temperature to control air conditioning AUTO mode. The resistance of the room temperature sensor (cooler thermistor) changes in accordance with the cabin temperature. As the temperature decreases, the resistance increases. As the temperature increases, the resistance decreases.

The air conditioning amplifier assembly applies voltage (5 V) to the room temperature sensor (cooler thermistor) and reads voltage changes as the resistance of the room temperature sensor (cooler thermistor) changes. This sensor also sends appropriate signals to the air conditioning amplifier assembly.

DTC No. DTC Detection Condition Trouble Area
B1411/11 Open or short in room temperature sensor (cooler thermistor) circuit
  • Room temperature sensor (cooler thermistor)

  • Harness or connector between room temperature sensor (cooler thermistor) and air conditioning amplifier assembly

  • Air conditioning amplifier assembly

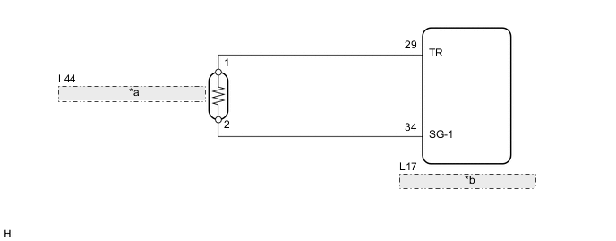
WIRING DIAGRAM

A005EZEE13
*a Room Temperature Sensor (Cooler Thermistor)
*b Air Conditioning Amplifier Assembly

CAUTION / NOTICE / HINT

Tech Tips

If the cabin temperature is approximately -18.6°C (-1.48°F) or lower, DTC B1411/11 may be output even though the system is normal.

PROCEDURE


  1. READ VALUE USING GTS


    1. Connect the GTS to the DLC3.

    2. Turn the power switch on (IG).

    3. Turn the GTS on.

    4. Enter the following menus: Body Electrical / Air Conditioner / Data List.

    5. Check the value(s) by referring to the table below.

      Air Conditioner
      Tester Display Measurement Item/Range Normal Condition Diagnostic Note
      Room Temperature Sensor

      Room temperature sensor (cooler thermistor) /

      Min.: -6.50°C (20.3°F)

      Max.: 57.25°C (135.05°F)

      Actual cabin temperature displayed -
      OK
      The display is as specified in the Normal Condition column.
      Result
      Result Proceed to
      NG A
      OK (When troubleshooting according to Problem Symptoms Table) B
      OK (When troubleshooting according to the DTC) C

    B
    C
    A
  2. INSPECT ROOM TEMPERATURE SENSOR (COOLER THERMISTOR)


    1. Remove the room temperature sensor (cooler thermistor) Click here.

      A005BMKE01
    2. Measure the resistance according to the value(s) in the table below.

      Standard Resistance
      Tester Connection Condition Specified Condition
      1 - 2 10°C (50°F) 3.00 to 3.73 kΩ
      1 - 2 15°C (59°F) 2.45 to 2.88 kΩ
      1 - 2 20°C (68°F) 1.95 to 2.30 kΩ
      1 - 2 25°C (77°F) 1.60 to 1.80 kΩ
      1 - 2 30°C (86°F) 1.28 to 1.47 kΩ
      1 - 2 35°C (95°F) 1.00 to 1.22 kΩ
      1 - 2 40°C (104°F) 0.80 to 1.00 kΩ
      1 - 2 45°C (113°F) 0.65 to 0.85 kΩ
      1 - 2 50°C (122°F) 0.50 to 0.70 kΩ
      1 - 2 55°C (131°F) 0.44 to 0.60 kΩ
      1 - 2 60°C (140°F) 0.36 to 0.50 kΩ

      Note


      • Hold the sensor only by its connector. Touching the sensor may change the resistance value.

      • When measuring, the sensor temperature must be the same as the ambient temperature.

      Tech Tips

      As the temperature increases, the resistance decreases (see the graph).

      Text in Illustration
      *a

      Component without harness connected

      (Room Temperature Sensor (Cooler Thermistor))

      *b Sensing Portion
      *c Resistance (kΩ)
      *d Allowable Range
      *e Temperature (°C (°F))

    NG
    OK
  3. CHECK HARNESS AND CONNECTOR (ROOM TEMPERATURE SENSOR (COOLER THERMISTOR) - AIR CONDITIONING AMPLIFIER)


    1. Disconnect the L17 air conditioning amplifier assembly connector.

    2. Measure the resistance according to the value(s) in the table below.

      Standard Resistance
      Tester Connection Condition Specified Condition
      L17-29 (TR) - L44-1 Always Below 1 Ω
      L17-34 (SG-1) - L44-2 Always Below 1 Ω
      L17-29 (TR) - Body ground Always 10 kΩ or higher
      L17-34 (SG-1) - Body ground Always 10 kΩ or higher

    OK
    NG