АУДИОВИЗУАЛЬНАЯ СИСТЕМА (для моделей с радиоприемником с дисплеем) Цепь освещения

ОПИСАНИЕ

Когда переключатель света фар в сборе находится в положении TAIL или HEAD, подается питание для подсветки радиоприемника с дисплеем в сборе и переключателя на рулевом колесе в сборе.

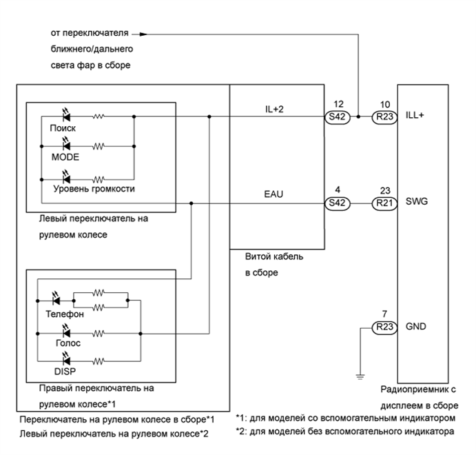
СХЕМА ЭЛЕКТРИЧЕСКИХ СОЕДИНЕНИЙ

A01DYI8E03

ПОСЛЕДОВАТЕЛЬНОСТЬ ПРОВЕРКИ

CAUTION:

Автомобиль оборудован дополнительной системой пассивной безопасности (SRS), включающей в себя подушки безопасности. Прежде чем приступать к обслуживанию (в том числе снятию или установке деталей), изучите информацию о мерах безопасности для системы SRS (см. стр. Click here).

ПОРЯДОК ВЫПОЛНЕНИЯ


  1. ПРОВЕРЬТЕ СВЕЧЕНИЕ


    1. Проверьте, включается ли подсветка радиоприемника с дисплеем в сборе, переключателя на рулевом колесе в сборе, перчаточного ящика и других устройств (выключателя аварийной сигнализации, датчика положения селектора передач и т.д.) при установке переключателя света фар в положение HEAD или TAIL.

      Результат
      Результат Перейти к
      Включается подсветка всех устройств, кроме переключателя на рулевом колесе в сборе. А
      Включается подсветка всех устройств, кроме радиоприемника с дисплеем в сборе. B
      Подсветка не включается вообще (для радиоприемника с дисплеем в сборе, выключателя аварийной сигнализации, перчаточного ящика и т.д.). C

    B
    C
    А
  2. ПРОВЕРЬТЕ ЖГУТ ПРОВОДОВ И РАЗЪЕМ (ВИТОЙ КАБЕЛЬ - АККУМУЛЯТОРНАЯ БАТАРЕЯ)


    1. A01E0PZE23
      Обозначения на рисунке
      *a

      Вид спереди разъема со стороны жгута проводов:

      (к витому кабелю в сборе)

      Отсоедините разъем витого кабеля в сборе.

    2. Измерьте напряжение в соответствии со значениями, приведенными в таблице.

      Номинальное напряжение
      Подключение диагностического прибора Положение переключателя Заданные условия
      S42-12 (IL+2) - масса Переключатель ближнего/дальнего света фар в положении HEAD или TAIL 11 - 14 В

    NG
    OK
  3. ПРОВЕРЬТЕ ПЕРЕКЛЮЧАТЕЛИ НА РУЛЕВОМ КОЛЕСЕ


    • *1: для моделей со вспомогательным индикатором

    • *2: Для моделей без вспомогательного индикатора


    1. Снимите переключатель на рулевом колесе в сборе*1 или левый переключатель на рулевом колесе*2 (см. стр. Click here).

    2. Проверьте переключатель на рулевом колесе в сборе*1 или левый переключатель на рулевом колесе*2 (см. стр. Click here).


    NG
    OK
  4. ПРОВЕРЬТЕ ВИТОЙ КАБЕЛЬ В СБОРЕ


    1. Снимите витой кабель в сборе (см. стр. Click here).

    2. Проверьте витой кабель в сборе (см. стр. Click here).


    NG
    OK
  5. ПРОВЕРЬТЕ ЖГУТ ПРОВОДОВ И РАЗЪЕМ (РАДИОПРИЕМНИК С ДИСПЛЕЕМ В СБОРЕ - ВИТОЙ КАБЕЛЬ В СБОРЕ)


    1. Отсоедините разъем R21 радиоприемника с дисплеем в сборе.

    2. Отсоедините разъем S42 витого кабеля в сборе.

    3. Измерьте сопротивление в соответствии со значениями, приведенными в таблице ниже.

      Номинальное сопротивление
      Подключение диагностического прибора Условие Заданные условия
      R21-23 (SWG) - S42-4 (EAU) Всегда Менее 1 Ом
      R21-23 (SWG) - масса Всегда 10 кОм или более

    NG
    OK
  6. ПРОВЕРЬТЕ ЖГУТ ПРОВОДОВ И РАЗЪЕМ (РАДИОПРИЕМНИК С ДИСПЛЕЕМ В СБОРЕ – АККУМУЛЯТОРНАЯ БАТАРЕЯ И МАССА КУЗОВА)


    1. A01E252E42
      Обозначения на рисунке
      *a

      Вид спереди разъема со стороны жгута проводов:

      (к радиоприемнику с дисплеем в сборе)

      Отсоедините разъем радиоприемника с дисплеем в сборе.

    2. Измерьте сопротивление в соответствии со значениями, приведенными в таблице ниже.

      Номинальное сопротивление
      Подключение диагностического прибора Условие Заданные условия
      R23-7 (GND) - масса Всегда Менее 1 Ом
    3. Измерьте напряжение в соответствии со значениями, приведенными в таблице.

      Номинальное напряжение
      Подключение диагностического прибора Положение переключателя Заданные условия
      R23-10 (ILL+) - масса Переключатель ближнего/дальнего света фар в положении HEAD или TAIL 11-14 В

    NG
    OK