LIGHTING SYSTEM Front Fog Light Circuit

DESCRIPTION

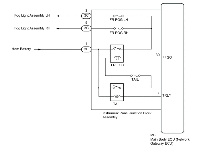
The main body ECU (network gateway ECU) receives headlight dimmer switch information signals, and illuminates the front fog light.

WIRING DIAGRAM

A004KTKE02

CAUTION / NOTICE / HINT

Tech Tips

Inspect the fuses and bulbs for circuits related to this system before performing the following inspection procedure.

PROCEDURE


  1. PERFORM ACTIVE TEST USING GTS (FR FOG RELAY)


    1. Connect the GTS to the DLC3.

    2. Turn the ignition switch to ON.

    3. Turn the GTS on.

    4. Enter the following menus: Body Electrical / Main Body / Active Test

    5. Check that the relay operates.

      Main Body
      Tester Display Test Part Control Range Diagnostic Note
      Front Fog Light Relay Front fog light relay ON/OFF Light control switch is in TAIL position
      OK
      Front fog light relay operates (front fog lights come on).
      Result
      Result Proceed to
      NG A
      OK B

    B
    A
  2. INSPECT INSTRUMENT PANEL JUNCTION BLOCK ASSEMBLY


    1. Remove the instrument panel junction block assembly Click here.

    2. Remove the main body ECU (network gateway ECU) from the instrument panel junction block assembly.

    3. Measure the voltage according to the value(s) in the table below.

      A004I91E02
      Text in Illustration
      *a

      Component without harness connected

      (Instrument Panel Junction Block Assembly)

      - -
      Standard Voltage
      Tester Connection Condition Specified Condition
      MB-30 (FFGO) - Battery negative (-) terminal

      Connect a positive (+) lead from the battery → 3E-1

      Connect a negative (-) lead from the battery → MB-7 (TRLY)

      11 to 14 V
      3C-3 - Battery negative (-) terminal

      Connect a positive (+) lead from the battery → 3E-1

      Connect a negative (-) lead from the battery → MB-7 (TRLY), MB-30 (FFGO)

      11 to 14 V
      3C-5 - Battery negative (-) terminal

      Connect a positive (+) lead from the battery → 3E-1

      Connect a negative (-) lead from the battery → MB-7 (TRLY), MB-30 (FFGO)

      11 to 14 V

    OK
    NG