WINDSHIELD GLASS REMOVAL
PROCEDURE
PRECAUTION
Note:After turning the power switch off, waiting time may be required before disconnecting the cable from the battery terminal. Therefore, make sure to read the disconnecting the cable from the battery terminal notice before proceeding with work.
When replacing the windshield glass of a vehicle equipped with a forward recognition camera, make sure to use a Toyota genuine part. If a non-Toyota genuine part is used, the forward recognition camera may not be able to be installed due to a missing bracket, or the dynamic radar cruise control system, forward recognition camera system, lane departure alert system, road sign assist system, pre-crash safety system or automatic high beam system may not operate properly due to a difference in the transmissivity of the windshield glass or the shape of the black ceramic border.
For models with a heated windshield defroster system, there are non-replacable dams and sealers on the windshield glass at the positions shown in the illustration. When removing and installing the windshield glass, make sure not to damage the dams and sealers with a wire or knife. If the dams and sealers are damaged, replace the windshield glass.

Dam

Sealer
REMOVE DECK BOARD ASSEMBLY
REMOVE BATTERY SERVICE COVER
DISCONNECT CABLE FROM NEGATIVE AUXILIARY BATTERY TERMINAL
CAUTION:Wait at least 90 seconds after disconnecting the cable from the negative (-) auxiliary battery terminal to disable the SRS system.
Note:When disconnecting the cable, some systems need to be initialized after the cable is reconnected.
REMOVE FRONT DOOR OPENING TRIM WEATHERSTRIP LH
Partially remove the front door opening trim weatherstrip LH so that the front pillar garnish LH can be removed.
REMOVE FRONT DOOR OPENING TRIM WEATHERSTRIP RH
Tip:Use the same procedure described for the LH side.
REMOVE FRONT PILLAR GARNISH LH
REMOVE FRONT PILLAR GARNISH RH
REMOVE NO. 2 FORWARD RECOGNITION COVER (w/ Pre-crash Safety System)
REMOVE NO. 1 FORWARD RECOGNITION COVER (w/ Pre-crash Safety System)
REMOVE FORWARD RECOGNITION LATCH (w/ Pre-crash Safety System)
REMOVE FORWARD RECOGNITION CAMERA (w/ Pre-crash Safety System)
REMOVE FORWARD RECOGNITION WITH HEATER HOOD SUB-ASSEMBLY (w/ Pre-crash Safety System, Camera Heater)
REMOVE INNER REAR VIEW MIRROR ASSEMBLY
REMOVE MAP LIGHT SUB-ASSEMBLY
REMOVE ASSIST GRIP SUB-ASSEMBLY
REMOVE VISOR ASSEMBLY LH
REMOVE VISOR ASSEMBLY RH
REMOVE VISOR HOLDER
REMOVE ROOF HEADLINING ASSEMBLY
Tip:It is not necessary to completely remove the roof headlining. Slightly lower the front section of the roof headlining.
Partially remove the roof headlining assembly.
REMOVE NO. 4 ANTENNA CORD SUB-ASSEMBLY (w/ Digital Audio Broadcasting Antenna)
REMOVE WINDSHIELD WIPER ARM COVER
REMOVE WINDSHIELD WIPER ARM AND BLADE ASSEMBLY LH
REMOVE WINDSHIELD WIPER ARM AND BLADE ASSEMBLY RH
REMOVE FRONT FENDER TO COWL SIDE SEAL LH
REMOVE FRONT FENDER TO COWL SIDE SEAL RH
REMOVE COWL TOP VENTILATOR LOUVER SUB-ASSEMBLY
REMOVE WINDSHIELD GLASS
-
w/ Heated Windshield Defroster System:
Disconnect the lock and 2 connectors as shown in the illustration.
Using a knife, cut off the windshield outside moulding as shown in the illustration.
*1
Moulding
*2
Windshield Glass
*3
Vehicle Body
-
-
*a
Cut
-
-
-
*1
Handles
*2
Plastic Sheet
*3
Stopper
*4
Piano Wire

Protective Tape
Apply protective tape to the outer surface of the vehicle body to prevent scratches.
From the interior, insert a piano wire between the vehicle body and glass as shown in the illustration.
Tie objects that can serve as handles (for example, wooden blocks) to both wire ends.
Note:When separating the glass from the vehicle, be careful not to damage the vehicle paint or interior/exterior ornaments.
To prevent the instrument panel from being scratched when removing the glass, place a plastic sheet between the piano wire and instrument panel.
-
*a
Machmarks
Place matchmarks over the glass and vehicle body at the locations indicated in the illustration.
Tip:Matchmarks do not need to be placed if not reusing the glass.
Cut through the adhesive by pulling the piano wire around the glass.
Note:Leave as much adhesive on the vehicle body as possible when cutting through the adhesive.
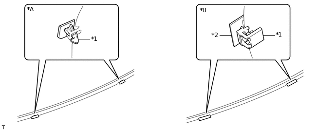
Disconnect the stoppers.
*A
for 1-piece Type
*B
for 2-piece Type
*1
No. 1 Windshield Glass Stopper
*2
No. 2 Windshield Glass Stopper
Note:The No. 1 and No. 2 windshield glass stoppers are installed on the windshield glass as shown in the illustration. Be careful not to damage the windshield glass when cutting off the adhesive.
To prevent the windshield glass from falling when performing this operation, be sure to hold the windshield glass using suction cups.
Tip:Depending on the vehicle, either 1-piece or 2-piece type stoppers may be present.
Using suction cups, remove the windshield glass.
Note:Be careful not to drop the windshield glass sub-assembly.
Leave as much adhesive on the vehicle body as possible when removing the windshield glass sub-assembly.
-
REMOVE WINDSHIELD OUTSIDE MOULDING
When reusing the windshield glass:
Using a scraper, remove the windshield outside moulding.
Note:
*a
Back Side
Be careful not to damage the windshield glass.
Be sure to replace the windshield outside moulding with a new one.
REMOVE WINDOW GLASS ADHESIVE DAM
When reusing the windshield glass:
Using a scraper, remove the window glass adhesive dam.
Note:
*a
Back Side
Be careful not to damage the windshield glass.
Be sure to replace the window glass adhesive dam with a new one.
REMOVE NO. 1 WINDSHIELD GLASS STOPPER (for 1-piece Type)
When reusing the windshield glass:
Note:
*a
Back Side
Be careful not to damage the windshield glass.
Be sure to replace the 1-piece type No. 1 windshield glass stopper with a new pair of 2-piece type No. 1 and No. 2 windshield glass stoppers.
Using a scraper, remove the 2 No. 1 windshield glass stoppers.
REMOVE NO. 2 WINDSHIELD GLASS STOPPER (for 2-piece Type)
-
*a
Back Side
When reusing the windshield glass:
Note:Be careful not to damage the windshield glass.
Be sure to replace the No. 2 windshield glass stoppers with new ones.
Using a scraper, remove the 2 No. 2 windshield glass stoppers.
-
REMOVE NO. 1 WINDSHIELD GLASS STOPPER (for 2-piece Type)
-
Remove the 2 No. 1 windshield glass stoppers.
Be sure to replace the No. 1 windshield glass stoppers with new ones.
-
CLEAN VEHICLE BODY
*1
Adhesive
*2
Vehicle Body
Clean and shape the contact surface of the vehicle body.
On the contact surface of the vehicle body, use a knife to cut away excess adhesive as shown in the illustration.
Tip:Leave as much adhesive on the vehicle body as possible.
Note:Be careful not to damage the vehicle body.
Clean the contact surface of the vehicle body with cleaner.
Tip:Even if all the adhesive has been removed, clean the vehicle body.