CLUTCH SYSTEM

A004GQTE03
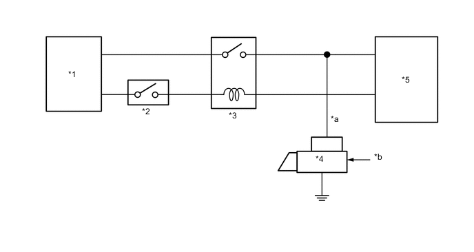
Text in Illustration (Models without Entry and Start System:)
*1 Ignition or Starter Switch Assembly *2 Clutch Start Switch Assembly
*3 Starter Relay Assembly *4 Starter Assembly
*5 ECM - -
*a Operating Input *b Battery Voltage
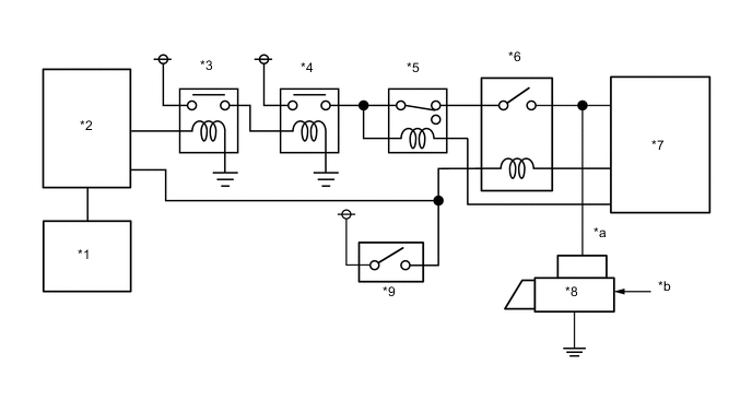
A004GJSE02
Text in Illustration (Models with Entry and Start System:)
*1 Push Start Switch *2 Smart Key ECU Assembly
*3 IG2 Relay *4 IGS Relay
*5 ST Cut Relay *6 Starter Relay Assembly
*7 ECM *8 Starter Assembly
*9 Clutch Start Switch Assembly - -
*a Operating Input *b Battery Voltage