СИСТЕМА SFI (для моделей с модулем насоса адсорбера) Система EVAP

Код DTC Наименование DTC
Система EVAP

КОДЫ DTC, ОТНОСЯЩИЕСЯ К НЕИСПРАВНОСТИ

№ DTC

Объект контроля

Link

P00FE

Вентиляционный EVAP засорена

Click here

P043E

Засорение контрольного отверстия (встроено в модуль насоса адсорбера)

Click here

P043F

Повышенный расход через контрольное отверстие (встроено в модуль насоса адсорбера)

P0441

  • Заедание VSV (электровакуумного клапана) продувки в закрытом положении

  • Электровакуумный клапан продувки заедает в открытом состоянии

  • Интенсивность продувки

Click here

P0451

Шум сигнала датчика давления в адсорбере (встроен в модуль насоса адсорбера)

Click here

P0452

Пониженное напряжение датчика давления в адсорбере (встроен в модуль насоса адсорбера)

P0453

Повышенное напряжение датчика давления в адсорбере (встроен в модуль насоса адсорбера)

P0455

Значительная утечка в системе EVAP

Click here

P0456

Незначительная утечка в системе EVAP

P2401

Фиксация насоса обнаружения утечки (встроен в модуль насоса адсорбера) в выключенном состоянии

Click here

P2402

Фиксация насоса обнаружения утечки (встроен в модуль насоса адсорбера) во включенном состоянии

P2419

Заедание вентиляционного клапана (встроен в модуль насоса адсорбера) в закрытом положении

P2420

Заедание вентиляционного клапана (встроен в модуль насоса адсорбера) в открытом положении (вентиляция)

Click here

P2610

Реле выдержки времени (встроено в ЕСМ)

Click here

При наличии каких-либо кодов DTC системы улавливания паров топлива (EVAP) неисправный участок можно определить с помощью приведенной ниже таблицы.

A425401
Note:

Если разница величин контрольного давления по результатам первой и второй проверок превышает заданную, то регистрируются коды DTC, относящиеся к контрольному давлению (P043E, P043F, P2401, P2402 и P2419).

ОПИСАНИЕ

A330657C01

*1

Электровакуумный клапан продувки

*2

Питающий шланг паров топлива (шланг EVAP) (к впускному коллектору)

*3

Питающий шланг паров топлива (шланг EVAP) (от адсорбера)

*4

Насос адсорбера

- Датчик давления в адсорбере

- Насос обнаружения утечки

- Вентиляционный клапан

*5

Адсорбер

*6

Фильтр адсорбера

*7

Канал воздухозабора

*8

Топливная крышка

*9

Топливный бак

-

-

*a

Расположение узлов и деталей EVAP (системы улавливания паров топлива)

*b

Линия продувки

Tip:

Датчик давления в адсорбере, насос обнаружения утечки и вентиляционный клапан встроены в модуль насоса адсорбера.

A295339C01

*1

Насос адсорбера

*2

Впускной коллектор

*3

Электровакуумный клапан продувки

*4

Дроссельная заслонка

*5

Адсорбер

*6

Отсечной клапан

*7

Топливный бак

*8

Воздушный фильтр

*9

ECM

*10

Фильтр адсорбера

*11

Реле времени выдержки

*12

Клапан опрокидывания

*13

Топливная крышка

-

-

*a

Цепь системы EVAP

-

-

Note:

В системе EVAP данного автомобиля включение вентиляционного клапана не обеспечивает герметизацию этой системы. Для проверки наличия утечек в системе EVAP отсоедините шланг вентиляции на впуске воздуха и подайте давление со стороны адсорбера, сообщающейся с атмосферой.

Если во время работы двигателя создаются определенные условия (управление по замкнутой обратной связи и т. д.), ECM открывает электровакуумный клапан продувки, и накопившиеся в адсорбере пары топлива выдуваются во впускной коллектор. ECM изменяет продолжительность включения электровакуумного клапана продувки, регулируя тем самым интенсивность продувки.

Кроме того, интенсивность продувки зависит от давления на впуске. Через вентиляционный клапан в адсорбер подается атмосферное давление, чтобы обеспечить поддержание интенсивности продувки, когда в адсорбере создается отрицательное давление (разрежение).

Две описанных ниже системы контроля обеспечивают проверку правильности работы системы EVAP.

  1. Система контроля при выключенном зажигании

    Эта система контроля проверяет отсутствие утечек из системы EVAP и неисправностей модуля насоса адсорбера. Система контроля запускается через 5 часов* после выключения питания. Для стабилизации давления в системе EVAP, что повышает точность системы контроля ее работы, топливо должно охладиться в течение не менее 5 часов.

    Насос обнаружения утечки создает отрицательное давление (разрежение) в системе EVAP, и величина этого разрежения измеряется. Наконец, ECM на основании давления в системе EVAP контролирует наличие утечек из системы EVAP, а также неисправностей модуля насоса адсорбера и электровакуумного клапана продувки.

    Tip:

    *: Если через 5 часов после выключения двигателя температура охлаждающей жидкости двигателя не опускается ниже 35°C (95°F), система контроля запускается спустя 2 часа. Если через 7 часов после выключения двигателя температура все же не опускается ниже 35°C (95°F), система контроля запускается спустя 2,5 часа.

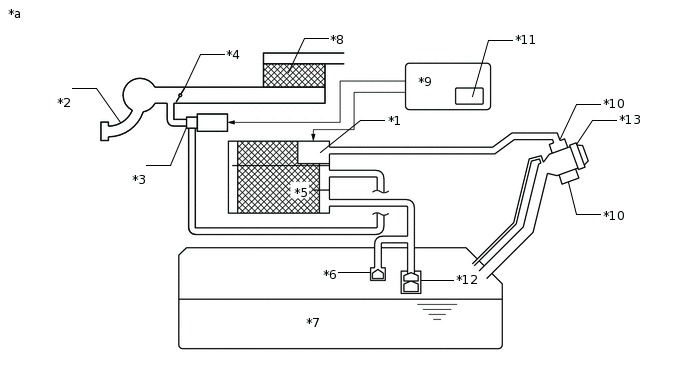
  2. Система контроля интенсивности продувки

    Контроль интенсивности продувки включает 2 контрольных процесса. 1-я подсистема контроля запускается каждый раз, а 2-я подсистема - по мере необходимости.

    • 1-я подсистема контроля

      Когда во время работы двигателя электровакуумный клапан продувки включен (открыт), ECM контролирует интенсивность продувки, измеряя изменение давления в системе EVAP. Если разрежение не создается, ECM запускает 2-ю подсистему контроля.

    • 2-я подсистема контроля

      Вентиляционный клапан включается (закрывается), после чего производится измерение давления в системе EVAP. Если изменение давления составляет менее 0,5 кПа (3,75 мм рт. ст.) по манометру, ECM рассматривает это как признак заедания электровакуумного клапана продувки в закрытом положении, включает контрольную лампу MIL и регистрирует код DTC P0441 (логика диагностирования за 2 поездки).

  • Проверка барометрического давления:

    • Чтобы обеспечить надежное обнаружение неисправностей, ECM измеряет разность величин барометрического давления до и после цикла работы системы контроля интенсивности продувки.

A204528C04

*1

Адсорбер

*2

К впускному коллектору

*3

ECM

*4

Реле времени выдержки

*5

Электровакуумный клапан продувки (вкл)

*6

Топливная крышка

*7

Фильтр адсорбера

*8

Топливный бак

*9

Насос обнаружения утечки (ВЫКЛ)

*10

Датчик давления в адсорбере

*11

Контрольное отверстие (0,02 дюйма)

*12

Вентиляционный клапан (ВЫКЛ)

*13

Насос адсорбера

-

-

*a

Схема продувки EVAP

-

-

Устройство

Принцип работы

Адсорбер

Содержит активированный уголь, который поглощает пары топлива, образующиеся в топливном баке.

Отсечной клапан

Расположен в топливном баке. Когда топливный бак заполнен на 100%, клапан всплывает и закрывается.

Электровакуумный клапан продувки

Открывает или закрывает трубопровод между адсорбером и впускным коллектором. ECM использует электровакуумный клапан продувки для управления интенсивностью продувки системы EVAP. Для выпуска накопившихся в адсорбере паров топлива во впускной коллектор ECM открывает электровакуумный клапан продувки. Объем паров топлива, выпускаемых во впускной коллектор, определяется продолжительностью включения электровакуумного клапана продувки (временем протекания тока). (Открыто: включен, закрыт: выключен)

Клапан опрокидывания

Расположен в топливном баке. При переворачивании автомобиля клапан закрывается под собственным весом, чтобы предотвратить разливание топлива.

Реле времени выдержки

Встроено в ECM. Отмеряет 5 часов (+/- 15 минут) после выключения двигателя, чтобы обеспечить точный контроль системы EVAP. Благодаря этому топливо охлаждается, и давление паров топлива стабилизируется. По истечении приблизительно 5 часов включается ECM (см. рис. 3).

Модуль насоса адсорбера

Включает перечисленные ниже компоненты (a) - (d). Модуль насоса адсорбера является неразборным.

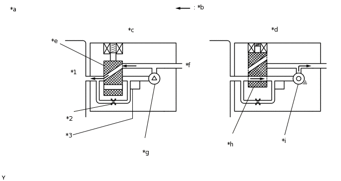
(a) Вентиляционный клапан

Обеспечивает сообщение системы EVAP с атмосферой и закрывает систему. Когда ECM включает клапан, система EVAP закрывается. Когда ECM выключает клапан, система EVAP сообщается с атмосферой. Для проверки наличия утечек паров топлива в системе EVAP создается разрежение. Это обеспечивается путем закрывания электровакуумного клапана продувки, включения (закрывания) вентиляционного клапана и включения насоса обнаружения утечки (см. рис. 1).

(b) Датчик давления в адсорбере

Показывает давление в форме напряжения. ECM подает на датчик давления стабилизированное напряжение 5 В и использует сигнал обратной связи от датчика для контроля давления в системе EVAP (см. рис. 2)

(c) Насос обнаружения утечки

Создает в системе EVAP отрицательное давление (разрежение) для проверки наличия утечки.

(d) Контрольное отверстие

Отверстие имеет диаметр 0,02 дюйма. Через отверстие создается разрежение для отслеживания контрольного давления. Разрежение создается при закрывании электровакуумного клапана продувки, выключении вентиляционного клапана и включении насоса обнаружения утечки. Контрольное давление применяется при проверке незначительных утечек из системы EVAP.

A207995C05

*1

Адсорбер

*2

Контрольное отверстие (0,02 дюйма)

*3

Датчик давления в адсорбере

-

-

*a

Насос адсорбера (рис. 1)

*b

Поток воздуха

*c

Состояние: Продувка EVAP

*d

Состояние: Проверка на утечки

*e

Вентиляционный клапан: ВЫКЛ (вентиляция)

*f

К фильтру адсорбера (в атмосферу)

*g

Насос обнаружения утечки: OFF (ВЫКЛ)

*h

Вентиляционный клапан: ВКЛ (закрыт)

*i

Насос обнаружения утечки: ON (ВКЛ)

-

-

A115543E79
A290317E06

СХЕМА ЭЛЕКТРИЧЕСКИХ СОЕДИНЕНИЙ

См. DTC P0451.

Нажмите здесьClick here

ПРЕДОСТЕРЕЖЕНИЕ / ПРИМЕЧАНИЕ / УКАЗАНИЕ

Note:
  • Перед выполнением последующей процедуры проверки проверьте плавкие предохранители цепей, относящихся к данной системе.

  • Для выполнения описанной ниже диагностической процедуры необходим GTS.

Tip:
  • Результаты контроля с помощью GTS позволяют проверить исправность системы EVAP.

  • С помощью GTS считайте данные фиксированного набора параметров. Одновременно с записью в память кода DTC ECM сохраняет параметры состояния автомобиля и условий движения как данные фиксированного набора параметров. При поиске неисправностей фиксированные параметры позволяют определить, двигался ли автомобиль в момент возникновения неисправности или нет, был ли прогрет двигатель, каким было соотношение воздух-топливо (обедненным или обогащенным) и пр.

ПРОВЕРОЧНАЯ ПОЕЗДКА

Tip:

По окончании ремонта выполните проверки "Key-Off Monitor Confirmation" (проверка системы контроля при выключенном зажигании) и "Purge Flow Monitor Confirmation" (проверка системы контроля интенсивности продувки), описанные далее, и подтвердите устранение неисправности.

  1. ПРОВЕРКА СИСТЕМЫ КОНТРОЛЯ ПРИ ВЫКЛЮЧЕННОМ ЗАЖИГАНИИ

    Note:
    • Проверка "Evaporative System Check (Automatic Mode)" (проверка системы улавливания паров топлива (автоматический режим)) включает 6 шагов, выполняемых GTS автоматически. Ее продолжительность не превышает приблизительно 24 минут.

    • Не выполняйте проверку испарительной топливной системы, если топливный бак заполнен более чем на 90%, поскольку клапан отсечки может быть закрыт, что сделает проверку утечек из топливного бака невозможной.

    • Во время выполнения этой операции не запускайте двигатель.

    • Если температура топлива 35°C (95°F) или выше, образуется значительное количество паров топлива, в результате чего любые результаты проверки будут неточными. При выполнении проверки системы улавливания паров топлива поддерживайте температуру топлива ниже 35°C (95°F).

    1. Подключите GTS к DLC3.

    2. Включите питание (IG) и включите GTS.

    3. Удалите коды DTC (даже если нет сохраненных DTC, выполните процедуру удаления DTC).

    4. Выключите питание и подождите не менее 30 с.

    5. Включите питание (IG) и включите GTS.

    6. Войдите в следующие меню: Powertrain / Engine and ECT / Utility / Evaporative System Check / Automatic Mode.

    7. По завершении проверки "Evaporative System Check" проверьте значение параметра All Readiness, войдя в следующие меню: Powertrain / Engine and ECT / Utility / All Readiness.

    8. Введите DTC: P043E, P043F, P0441, P0451, P0452, P0453, P0455, P0456, P2401, P02402, P2419 или P2420.

    9. Проверьте результат проверки DTC.

      Дисплей GTS

      Описание

      NORMAL

      • Проверка DTC завершена

      • Cистема работает нормально

      ABNORMAL

      • Проверка DTC завершена

      • Нарушения в работе системы

      INCOMPLETE

      • Проверка DTC не завершена

      • Выполните поездку в проверочном режиме после создания условий регистрации DTC

      N/A

      • Невозможно выполнить проверку DTC

      • Количество кодов DTC, которые не соответствуют условиям регистрации DTC, достигло предела запоминающего устройства ЭБУ

      Tip:
      • Если результат проверки показывает NORMAL, система исправна.

      • Если результат проверки показывает ABNORMAL, система неисправна.

  2. ПРОВЕРКА СИСТЕМЫ КОНТРОЛЯ ИНТЕНСИВНОСТИ ПРОДУВКИ (P0441)

    Tip:

    Эту проверку системы контроля следует выполнять, когда результатом проверки системы контроля при выключенном зажигании является "Complete".

    1. Подключите GTS к DLC3.

    2. Включите питание (IG) и включите GTS.

    3. Удалите коды DTC (даже если нет сохраненных DTC, выполните процедуру удаления DTC).

    4. Выключите питание и подождите не менее 30 с.

    5. Включите питание (IG) и включите GTS.

    6. Переведите двигатель в режим проверки (режим обслуживания).

      Нажмите здесьClick here

    7. Запустите двигатель и дайте ему поработать не менее 15 минут.

    8. Войдите в следующие меню: Powertrain / Engine and ECT / Trouble Codes.

    9. Считайте ожидающие обработки коды DTC.

      Tip:
      • Если выводятся ожидающие обработки DTC, система неисправна.

      • Если ожидающие обработки DTC не выводятся, выполните следующую процедуру.

    10. Войдите в следующие меню: Powertrain / Engine and ECT / Utility / All Readiness.

    11. Введите DTC: P0441.

    12. Проверьте результат проверки DTC.

      Дисплей GTS

      Описание

      NORMAL

      • Проверка DTC завершена

      • Cистема работает нормально

      ABNORMAL

      • Проверка DTC завершена

      • Нарушения в работе системы

      INCOMPLETE

      • Проверка DTC не завершена

      • Необходимо выполнить поездку в проверочном режиме после создания условий регистрации DTC

      N/A

      • Невозможно выполнить проверку DTC

      • Количество кодов DTC, которые не соответствуют условиям регистрации DTC, достигло предела запоминающего устройства ЭБУ

      Tip:
      • Если результат проверки показывает NORMAL, система исправна.

      • Если результат проверки показывает ABNORMAL, система неисправна.

      • Если результат проверки показывает INCOMPLETE или N/A, выполните следующую процедуру.

    13. Выключите зажигание.

    14. Сбросьте давление в топливном баке, сняв и установив пробку наливной горловины топливного бака.

    15. Включите питание (IG) и включите GTS.

    16. Переведите двигатель в режим проверки (режим обслуживания).

      Нажмите здесьClick here

    17. Прогрейте двигатель, пока значение температуры охлаждающей жидкости не достигнет более 75°C (167°F).

    18. Один раз увеличьте частоту вращения коленчатого вала двигателя до 2500 об/мин.

    19. Во время работы двигателя на холостом ходу включите систему кондиционирования на 1 минуту.

    20. Снова проверьте результат проверки DTC.

      Tip:
      • Если результат проверки показывает NORMAL, система исправна.

      • Если результат проверки показывает ABNORMAL, система неисправна.

ПОРЯДОК ВЫПОЛНЕНИЯ

  1. ПРОВЕРЬТЕ DTC

    1. Выключите питание и подождите 10 с.

    2. Включите зажигание (IG).

    3. Выключите питание и подождите 10 с.

    4. Подключите GTS к DLC3.

    5. Включите зажигание (IG).

    6. Включите GTS.

    7. Войдите в следующие меню: Powertrain / Engine and ECT / Trouble Codes.

      Powertrain > Engine and ECT > Trouble Codes

    8. Проверьте коды DTC и данные фиксированного набора параметров.

      При наличии каких-либо кодов DTC системы улавливания паров топлива (EVAP) неисправный участок можно определить с помощью приведенной ниже таблицы.

      A425401
      Note:

      Если разница величин контрольного давления по результатам первой и второй проверок превышает заданную, то регистрируются все коды DTC, относящиеся к контрольному давлению (P043E, P043F, P2401, P2402 и P2419).

    Result

    Перейти к

    СЛЕДУЮЩЕЕ -

    СЛЕДУЮЩЕЕ -
  2. ВЫПОЛНИТЕ ПРОВЕРКУ СИСТЕМЫ УПРАВЛЕНИЯ УЛАВЛИВАНИЕМ ПАРОВ ТОПЛИВА (АВТОМАТИЧЕСКИЙ РЕЖИМ)

    Note:
    • Проверка "Evaporative System Check (Automatic Mode)" (проверка системы улавливания паров топлива (автоматический режим)) включает 6 шагов, выполняемых GTS автоматически. Ее продолжительность не превышает приблизительно 24 минут.

    • Не выполняйте проверку испарительной топливной системы, если топливный бак заполнен более чем на 90%, поскольку клапан отсечки может быть закрыт, что сделает проверку утечек из топливного бака невозможной.

    • Во время выполнения этой операции не запускайте двигатель.

    • Если температура топлива 35°C (95°F) или выше, образуется значительное количество паров топлива, в результате чего любые результаты проверки будут неточными. При выполнении проверки системы улавливания паров топлива поддерживайте температуру ниже 35°C (95°F).

    1. Подключите GTS к DLC3.

    2. Включите зажигание (IG).

    3. Включите GTS.

    4. Удалите коды DTC.

      Нажмите здесьClick here

    5. Выключите питание и подождите не менее 30 с.

    6. Включите питание (IG) и включите GTS.

    7. Войдите в следующие меню: Powertrain / Engine and ECT / Utility / Evaporative System Check / Automatic Mode.

      Powertrain > Engine and ECT > Utility

      Информация на дисплее прибора

      Evaporative System Check

    8. После завершения Evaporative System Check (проверки системы EVAP) проверьте ожидающие обработки коды DTC, войдя в следующие меню: Powertrain / Engine and ECT / Trouble Codes.

      Powertrain > Engine and ECT > Trouble Codes

      Tip:

      Если ожидающие обработки коды DTC не выводятся, выполните поездку в проверочном режиме. После этого проверьте коды DTC, ожидающие обработки. Если коды DTC не выводятся, система EVAP работает нормально.

    Result

    Перейти к

    СЛЕДУЮЩЕЕ -

    СЛЕДУЮЩЕЕ -
  3. ВЫПОЛНИТЕ ПРОВЕРКУ ПРОВЕРКУ СИСТЕМЫ УПРАВЛЕНИЯ УЛАВЛИВАНИЕМ ПАРОВ ТОПЛИВА (РУЧНОЙ РЕЖИМ)

    A280728E07
    Note:
    • В ходе проверки "Evaporative System Check (Manual Mode)" (проверка системы улавливания паров топлива (ручной режим)) последовательность из 6 шагов проверки системы улавливания паров топлива выполняется вручную с помощью GTS.

    • Не выполняйте проверку испарительной топливной системы, если топливный бак заполнен более чем на 90%, поскольку клапан отсечки может быть закрыт, что сделает проверку утечек из топливного бака невозможной.

    • Во время выполнения этой операции не запускайте двигатель.

    • Если температура топлива 35°C (95°F) или выше, образуется значительное количество паров топлива, в результате чего любые результаты проверки будут неточными. При выполнении проверки системы улавливания паров топлива поддерживайте температуру ниже 35°C (95°F).

    1. Подключите GTS к DLC3.

    2. Включите зажигание (IG).

    3. Включите GTS.

    4. Удалите коды DTC.

      Нажмите здесьClick here

      Powertrain > Engine > Clear DTCs

    5. Войдите в следующие меню: Powertrain / Engine and ECT / Utility / Evaporative System Check / Manual Mode.

      Powertrain > Engine and ECT > Utility

      Информация на дисплее прибора

      Evaporative System Check

    Result

    Перейти к

    СЛЕДУЮЩЕЕ -

    СЛЕДУЮЩЕЕ -
  4. ВЫПОЛНИТЕ ПРОВЕРКУ СИСТЕМЫ EVAP (ШАГИ 1/6)

    A280729E02
    1. Проверьте давление в системе EVAP на шагах 1/6.

      Result

      DTC*1

      Result

      Предполагаемый участок неисправности

      Перейти К

      -

      Давление в системе EVAP практически не изменяется

      Пока не определены

      А

      P0451

      Колебания давления в системе EVAP составляют +/-0,3 кПа (2,25 мм рт. ст.) и более (манометрическое давление)

      Помехи в сигнале датчика давления в адсорбере

      B

      (P0452 или P0453)*2

      • Давление в системе EVAP (абсолютное давление) ниже 42,11009 кПа (315,82568 м рт. ст.) либо 123,76147 кПа (928,21103 мм рт. ст.) или более

      • Отклонения давления в системе EVAP от фактического барометрического давления составляют +/-10 кПа (по манометру) (75 мм рт. ст. (по манометру))*3

      Датчик давления в адсорбере или его цепь имеет неисправность

      C

      • *1: Данные коды DTC уже зарегистрированы в ECM по прибытии автомобиля и подтверждены в процедуре "Проверка DTC", описанных выше.

      • *2: Если в цепи датчика давления в адсорбере имеется обрыв или короткое замыкание, через 0,5 секунды после включения питания (IG) регистрируется код DTC P0452 или P0453.

      Tip:

      *3: Номинальный диапазон выходного сигнала датчика давления в адсорбере составляет от 70 до 111 кПа (абс.) (от 525 до 836 мм рт. ст. (абс.)). Эта зависимость изменяется под влиянием погодных условий.

    B

    ЗАМЕНИТЕ МОДУЛЬ НАСОСА АДСОРБЕРАClick here

    C

    ПРОВЕРЬТЕ МОДУЛЬ НАСОСА АДСОРБЕРА (ЦЕПЬ ДАТЧИКА ДАВЛЕНИЯ В АДСОРБЕРЕ)Click here

    A
  5. ВЫПОЛНИТЕ ПРОВЕРКУ СИСТЕМЫ EVAP (ШАГИ 1/6 И 2/6)

    A280730E02
    1. Проверьте давление в системе EVAP на шагах 1/6 и 2/6.

      Результат

      DTC*

      Result

      Предполагаемый участок неисправности

      Перейти К

      -

      В ходе шага 1/6 давление в системе EVAP практически не изменяется. Затем происходит снижение до контрольного давления

      Пока не определены

      A

      P2402

      Величины давления в системе EVAP на шаге 1/6 и на шаге 2/6 немного отличаются

      Насос обнаружения утечки заедает во включенном состоянии

      B

      • *: Данные коды DTC уже зарегистрированы в ECM по прибытии автомобиля и подтверждены в процедуре "Проверка DTC", описанных выше.

      Tip:

      Первое контрольное давление - это величина, полученная на шаге 2/6.

    B

    ПРОВЕРЬТЕ НАПРЯЖЕНИЕ НА КОНТАКТЕ (МОДУЛЬ НАСОСА АДСОРБЕРА)Click here

    A
  6. ВЫПОЛНИТЕ ПРОВЕРКУ СИСТЕМЫ EVAP (ШАГИ 2/6)

    A280731E02
    Tip:

    Запишите величины давления, полученные в ходе проверки на шаге (A) и на шаге (B) (см. ниже).

    1. Проверьте давление в системе EVAP через 4 секунды после включения насоса обнаружения утечки*1 (A).

      *1: Насос обнаружения утечки начинает работу, когда завершается шаг 1/6 и начинается шаг 2/6.

    2. Повторно проверьте давление в системе EVAP, когда оно стабилизируется. Это давление является контрольным давлением (B).

    Result

    DTC*2.

    Result

    Предполагаемый участок неисправности

    Перейти К

    -

    Манометрическое давление в системе EVAP на шаге проверки (B) находится в диапазоне от -4,85 кПа до -1,057 кПа (от -36,38 мм рт. ст. до -7,929 мм рт. ст.)

    Пока не определены

    A

    P043F и P2401

    Манометрическое давление в системе EVAP на шаге проверки (B) составляет -1,057 кПа (-7,929 мм рт. ст.) и более

    • Сильный поток через контрольное отверстие

    • Насос обнаружения утечки заедает в выключенном состоянии

    B

    P043E

    Манометрическое давление в системе EVAP на шаге проверки (B) менее -4,85 кПа (-36,38 мм рт. ст.)

    Контрольное отверстие засорено

    C

    P2419

    Манометрическое давление в системе EVAP на шаге проверки (A) превышает -0,25 кПа (-1,875 мм рт. ст.)

    • Заедание вентиляционного клапана в закрытом положении

    • Характеристики насоса обнаружения утечки ухудшаются

    • Цепь насоса обнаружения утечки неисправна (большое сопротивление цепи)

    D

    • *2: Данные коды DTC уже зарегистрированы в ECM по прибытии автомобиля и подтверждены в процедуре "Проверка DTC", описанных выше.

    B

    ВЫПОЛНИТЕ ПРОВЕРКУ СИСТЕМЫ EVAP (ШАГИ 3/6)Click here

    C

    ЗАМЕНИТЕ МОДУЛЬ НАСОСА АДСОРБЕРАClick here

    D

    ПРОВЕРЬТЕ МОДУЛЬ НАСОСА АДСОРБЕРА (РАБОТУ ВЕНТИЛЯЦИОННОГО КЛАПАНА)Click here

    A
  7. ВЫПОЛНИТЕ ПРОВЕРКУ СИСТЕМЫ EVAP (ШАГИ 2/6 И 3/6)

    A280732E02
    1. Проверьте давление в системе EVAP на шагах 3/6.

    Результат

    DTC*

    Result

    Предполагаемый участок неисправности

    Перейти К

    -

    Барометрическое давление в системе EVAP повышается на 0,3 кПа по манометру (2,25 мм рт.ст. по манометру) или более в течение 10 при переходе с шага 2/6 на шаг 3/6

    Пока не определены

    А

    P2420

    Давление в системе EVAP не изменяется при переходе от шага 2/6 к шагу 3/6

    • Заедание вентиляционного клапана в открытом положении (вентиляция)

    • Адсорбер (угольный фильтр внутри адсорбера) засорен

    B

    • *: Данные коды DTC уже зарегистрированы в ECM по прибытии автомобиля и подтверждены в процедуре "Проверка DTC", описанных выше.

    B

    ПРОВЕРЬТЕ МОДУЛЬ НАСОСА АДСОРБЕРА (ПИТАНИЕ ВЕНТИЛЯЦИОННОГО КЛАПАНА)Click here

    A
  8. ВЫПОЛНИТЕ ПРОВЕРКУ СИСТЕМЫ EVAP (ШАГИ 3/6)

    A421323E07
    1. Проверьте давление в системе EVAP на шагах 3/6.

    Результат

    DTC*

    Result

    Предполагаемый участок неисправности

    Перейти К

    -

    Любое другое состояние

    Пока не определены

    А

    P2420

    В 14,7 с после шага 3/6 начинается, давление в системе EVAP увеличивается менее -2,5 кПа (ман.) (-0.363 фунтов на кв. дюйм (ман.))

    • Засорение Вентиляционный шланг топливного бака

    • Клапан опрокидывания топливного бака в сборе (засорение, Отсечной клапан)

    • Адсорбер (угольный фильтр внутри адсорбера) засорен

    B

    • *: Данные коды DTC уже зарегистрированы в ECM по прибытии автомобиля и подтверждены в процедуре "Проверка DTC", описанных выше.

    Tip:

    Для достижения давления насыщения паров топлива требуется несколько минут. Если количество топлива в топливном баке мало, процесс занимает до 15 минут.

    B

    ПРОВЕРЬТЕ ВЕНТИЛЯЦИОННЫЙ ШЛАНГ ТОПЛИВНОГО БАКА В СБОРЕClick here

    A
  9. ВЫПОЛНИТЕ ПРОВЕРКУ СИСТЕМЫ EVAP (ШАГИ 4/6)

    A282739E02
    1. Проверьте давление в системе EVAP на шагах 4/6.

    Результат

    DTC*1

    Result

    Предполагаемый участок неисправности

    Перейти К

    -

    Барометрическое давление в системе EVAP повышается на 0,3 кПа по манометру (2,25 мм рт.ст. по манометру) или более в течение 10 при переходе с шага 3/6 на шаг 4/6

    Пока не определены

    А

    P0441*2

    Барометрическое давление в системе EVAP повышается на 0,3 кПа по манометру (2,25 мм рт.ст. по манометру) или более в течение 10 при переходе с шага 3/6 на шаг 4/6

    • Электровакуумный клапан продувки

    • Цепь электровакуумного клапана продувки

    • Неисправность шланга системы EVAP между электровакуумным клапаном продувки и впускным коллектором

    • Неисправность шланга системы EVAP между адсорбером и электровакуумным клапаном продувки

    • ECM

    B

    P0441

    Изменение барометрического давления в системе EVAP составляет менее 0,3 кПа (2,25 мм рт. ст.) по манометру в течение 10 секунд после перехода от шага 3/6 к шагу 4/6

    • Электровакуумный клапан продувки заедает в закрытом состоянии

    • Цепь электровакуумного клапана продувки

    • Адсорбер (угольный фильтр внутри адсорбера) засорен

    • Неисправность шланга системы EVAP между электровакуумным клапаном продувки и впускным коллектором

    • Неисправность шланга системы EVAP между адсорбером и электровакуумным клапаном продувки

    • ECM

    C

    • *1: Данные коды DTC уже зарегистрированы в ECM по прибытии автомобиля и подтверждены в процедуре "Проверка DTC", описанных выше.

    • *2: Этот результат указывает на то, что вследствие засорения продувочного трубопровода или неисправности электровакуумного клапана продувки в ходе контроля интенсивности во время работы двигателя продувки был зарегистрирован код DTC, либо результаты контрольной проверки при выключенном зажигании близки к граничным значениям.

    B

    ПРОВЕРЬТЕ ШЛАНГ СИСТЕМЫ EVAP (ЭЛЕКТРОВАКУУМНЫЙ КЛАПАН ПРОДУВКИ - АДСОРБЕР)Click here

    C

    ВЫПОЛНИТЕ АКТИВНУЮ ДИАГНОСТИКУ С ПОМОЩЬЮ GTS (PURGE VSV)Click here

    A
  10. ВЫПОЛНИТЕ ПРОВЕРКУ СИСТЕМЫ EVAP (ШАГИ 5/6)

    A282740E02
    1. Проверьте давление в системе EVAP на шагах 5/6.

    2. Сравните давление в системе EVAP на шаге 3/6 и второе контрольное давление (на шаге 5/6).

    Result

    DTC*

    Result

    Предполагаемый участок неисправности

    Перейти К

    -

    Давление в системе EVAP на шаге 3/6 ниже второго контрольного давления (на шаге 5/6)

    Пока не определены (утечка из системы EVAP отсутствует)

    А

    P0441 и P0455

    Давление в системе EVAP на шаге 3/6 выше [второго контрольного давления (на шаге 5/6) x 0,2]

    • Электровакуумный клапан продувки заедает в открытом состоянии

    • Значительная утечка в системе EVAP

    B

    P0456

    Давление в системе EVAP на шаге 3/6 выше второго контрольного давления (на шаге 5/6)

    Незначительная утечка в системе EVAP

    • *: Данные коды DTC уже зарегистрированы в ECM по прибытии автомобиля и подтверждены в процедуре "Проверка DTC", описанных выше.

    B

    ВЫПОЛНИТЕ АКТИВНУЮ ДИАГНОСТИКУ С ПОМОЩЬЮ GTS (PURGE VSV)Click here

    A
  11. ОТРЕМОНТИРУЙТЕ ИЛИ ЗАМЕНИТЕ УЗЛЫ И ДЕТАЛИ, УКАЗАННЫЕ ВЫВЕДЕННЫМИ КОДАМИ DTC

    1. Отремонтируйте неисправные участки, на которые указывают коды DTC, подтвержденные при поступлении автомобиля в мастерскую.

    Результат

    Перейти к

    СЛЕДУЮЩЕЕ -

    СЛЕДУЮЩЕЕ -

    ВЫПОЛНИТЕ ПРОВЕРКУ СИСТЕМЫ УПРАВЛЕНИЯ УЛАВЛИВАНИЕМ ПАРОВ ТОПЛИВА (АВТОМАТИЧЕСКИЙ РЕЖИМ)Click here

  12. ПРОВЕРЬТЕ ШЛАНГ СИСТЕМЫ EVAP (ЭЛЕКТРОВАКУУМНЫЙ КЛАПАН ПРОДУВКИ - АДСОРБЕР)

    1. Проверьте наличие засорений в продувочном трубопроводе системы EVAP между электровакуумным клапаном продувки и адсорбером.

      OK

      Засорение в продувочном трубопроводе системы EVAP между электровакуумным клапаном продувки и адсорбером отсутствует.

    Result

    Перейти к

    OK

    НЕ СООТВ.

    НЕ СООТВ.

    ОТРЕМОНТИРУЙТЕ ИЛИ ЗАМЕНИТЕ ПРОДУВОЧНЫЙ ТРУБОПРОВОД СИСТЕМЫ EVAP (ЭЛЕКТРОВАКУУМНЫЙ КЛАПАН ПРОДУВКИ - АДСОРБЕР)Click here

    СООТВ
  13. ПРОВЕРЬТЕ ШЛАНГ СИСТЕМЫ EVAP (ЭЛЕКТРОВАКУУМНЫЙ КЛАПАН ПРОДУВКИ - ВПУСКНОЙ КОЛЛЕКТОР)

    1. A330661C01

      *1

      Электровакуумный клапан продувки

      *2

      Питающий шланг паров топлива (к впускному коллектору)

      Отсоедините питающий шланг паров топлива (подсоединенный к впускному коллектору) электровакуумного клапана продувки.

    2. Переведите двигатель в режим проверки (режим обслуживания).

      Нажмите здесьClick here

      Powertrain > Hybrid Control > Utility

      Информация на дисплее прибора

      Inspection Mode

    3. Запустите двигатель.

    4. Убедитесь в наличии всасывания в шланг, закрыв отверстие пальцем.

    Результат

    Результат испытания

    Предполагаемый участок неисправности

    Перейти К

    Всасывание имеется

    Шланг системы EVAP между электровакуумным клапаном продувки и впускным коллектором исправен

    • Электровакуумный клапан продувки

    • Цепь питания электровакуумного клапана продувки

    • Жгут проводов или разъем между электровакуумным клапаном продувки и ECM

    А

    Всасывание отсутствует

    • Канал впускного коллектора

    • Шланг системы EVAP между электровакуумным клапаном продувки и впускным коллектором

    B

    B

    ПРОВЕРЬТЕ ВПУСКНОЙ КОЛЛЕКТОР (КАНАЛ ПРОДУВКИ СИСТЕМЫ EVAP)Click here

    A
  14. ПРОВЕРЬТЕ ЭЛЕКТРОВАКУУМНЫЙ КЛАПАН ПРОДУВКИ

    1. Снимите электровакуумный клапан продувки.

    2. A308636C01

      *a

      Канал E

      *b

      Канал F

      *c

      Воздух

      Подайте напряжение вспомогательной аккумуляторной батареи на контакты электровакуумного клапана продувки.

    3. Убедитесь, что воздух из патрубка E поступает в патрубок F.

    Результат

    Результат испытания

    Условие

    Предполагаемый участок неисправности

    Перейдите к

    Воздух проходит

    На контакты электровакуумного клапана продувки подается напряжение вспомогательной аккумуляторной батареи

    Электровакуумный клапан продувки исправен

    • Цепь питания электровакуумного клапана продувки

    • Жгут проводов или разъем между электровакуумным клапаном продувки и ECM

    А

    Воздушный поток отсутствует

    На контакты электровакуумного клапана продувки подается напряжение вспомогательной аккумуляторной батареи

    Электровакуумный клапан продувки

    B

    B

    ЗАМЕНИТЕ ЭЛЕКТРОВАКУУМНЫЙ КЛАПАН ПРОДУВКИClick here

    A
  15. ПРОВЕРЬТЕ НАПРЯЖЕНИЕ НА КОНТАКТЕ (ПИТАНИЕ ЭЛЕКТРОВАКУУМНОГО КЛАПАНА ПРОДУВКИ)

    1. A225830C25

      *a

      Вид спереди разъема со стороны жгута проводов:

      (к электровакуумному клапану продувки)

      Отсоедините разъем электровакуумного клапана продувки (VSV).

    2. Включите зажигание (IG).

    3. Измерьте напряжение в соответствии со значениями, приведенными в таблице.

    Результат

    Подключение диагностического прибора

    Условие

    Заданные условия

    Предполагаемый участок неисправности

    Следующий шаг

    C32-1 - масса

    Питание включено (IG)

    11-14 В

    Цепь питания электровакуумного клапана продувки исправна

    • Жгут проводов или разъем между электровакуумным клапаном продувки и ECM

    А

    Любой другой результат

    Жгут проводов или разъемы между электровакуумным клапаном продувки и вспомогательной аккумуляторной батареей

    B

    B

    ОТРЕМОНТИРУЙТЕ ИЛИ ЗАМЕНИТЕ ЖГУТ ПРОВОДОВ ИЛИ РАЗЪЕМClick here

    A
  16. ПРОВЕРЬТЕ ЖГУТ ПРОВОДОВ И РАЗЪЕМ (ЭЛЕКТРОВАКУУМНЫЙ КЛАПАН ПРОДУВКИ - ECM)

    1. Отсоедините разъем ECM.

    2. Отсоедините разъем электровакуумного клапана продувки (VSV).

    3. Измерьте сопротивление в соответствии со значениями, приведенными в таблице ниже.

      Номинальное сопротивление

      Подключение диагностического прибора

      Условие

      Номинальное значение

      C32-2 - C48-68 (PRG)

      Всегда

      Менее 1 Ом

      C32-2 или C48-68 (PRG) - масса

      Всегда

      10 кОм или более

    Результат

    Перейти к

    OK

    НЕ СООТВ.

    OK

    ЗАМЕНИТЕ ECMClick here

    NG

    ОТРЕМОНТИРУЙТЕ ИЛИ ЗАМЕНИТЕ ЖГУТ ПРОВОДОВ ИЛИ РАЗЪЕМClick here

  17. ПРОВЕРЬТЕ ВПУСКНОЙ КОЛЛЕКТОР (КАНАЛ ПРОДУВКИ СИСТЕМЫ EVAP)

    1. Выключите двигатель.

    2. Отсоедините шланг системы EVAP от впускного коллектора.

    3. Переведите двигатель в режим проверки (режим обслуживания).

      Нажмите здесьClick here

      Powertrain > Hybrid Control > Utility

      Информация на дисплее прибора

      Inspection Mode

    4. Запустите двигатель.

    5. Убедитесь в наличии всасывания в канал впускного коллектора, закрыв отверстие пальцем.

    Результат

    Подключение диагностического прибора

    Предполагаемый участок неисправности

    Перейти К

    Всасывание имеется

    Шланг системы EVAP между впускным коллектором и электровакуумным клапаном продувки

    А

    Всасывание отсутствует

    Впускной коллектор

    B

    B

    ПРОВЕРЬТЕ ВПУСКНОЙ КОЛЛЕКТОР (КАНАЛ ПРОДУВКИ СИСТЕМЫ EVAP)Click here

    A
  18. ОТРЕМОНТИРУЙТЕ ИЛИ ЗАМЕНИТЕ ПРОДУВОЧНЫЙ ТРУБОПРОВОД СИСТЕМЫ EVAP (ВПУСКНОЙ КОЛЛЕКТОР - ЭЛЕКТРОВАКУУМНЫЙ КЛАПАН ПРОДУВКИ)

    Результат

    Перейти к

    СЛЕДУЮЩЕЕ -

    СЛЕДУЮЩЕЕ -

    ВЫПОЛНИТЕ ПРОВЕРКУ СИСТЕМЫ УПРАВЛЕНИЯ УЛАВЛИВАНИЕМ ПАРОВ ТОПЛИВА (АВТОМАТИЧЕСКИЙ РЕЖИМ)Click here

  19. ПРОВЕРЬТЕ ВПУСКНОЙ КОЛЛЕКТОР (КАНАЛ ПРОДУВКИ СИСТЕМЫ EVAP)

    1. Проверьте, что канал впускного коллектора для продувки системы EVAP не засорен. При необходимости замените впускной коллектор.

      Нажмите здесьClick here

    Результат

    Перейти к

    СЛЕДУЮЩЕЕ -

    СЛЕДУЮЩЕЕ -

    ВЫПОЛНИТЕ ПРОВЕРКУ СИСТЕМЫ УПРАВЛЕНИЯ УЛАВЛИВАНИЕМ ПАРОВ ТОПЛИВА (АВТОМАТИЧЕСКИЙ РЕЖИМ)Click here

  20. ВЫПОЛНИТЕ АКТИВНУЮ ДИАГНОСТИКУ С ПОМОЩЬЮ GTS (PURGE VSV)

    1. Войдите в следующие меню: Powertrain / Engine and ECT / Active Test / Activate the VSV for EVAP Control.

      Powertrain > Engine and ECT > Active Test

      Информация на дисплее прибора

      Activate the VSV for Evap Control

    2. A330659C01

      *1

      Электровакуумный клапан продувки

      *2

      Питающий шланг паров топлива в сборе (к адсорберу)

      Отсоедините питающий шланг паров топлива (подсоединенный к адсорберу) электровакуумного клапана продувки.

    3. Переведите двигатель в режим проверки (режим обслуживания).

      Нажмите здесьClick here

      Powertrain > Hybrid Control > Utility

      Информация на дисплее прибора

      Inspection Mode

    4. Запустите двигатель.

    5. С помощью GTS выключите электровакуумный клапан продувки (Activate the VSV for Evap Control: выключен).

    6. Убедитесь в отсутствии всасывания в электровакуумный клапан продувки, закрыв отверстие пальцем.

    7. С помощью GTS включите электровакуумный клапан продувки (Activate the VSV for Evap Control: включен).

    8. Убедитесь в наличии всасывания в электровакуумный клапан продувки, закрыв отверстие пальцем.

    Результат

    Результат испытания

    Предполагаемый участок неисправности

    Перейдите к

    Всасывание отсутствует, когда электровакуумный клапан продувки выключен, и присутствует, когда он включен

    Предполагается засорение продувочного трубопровода (на основании результата шага 9):

    • Неисправность шланга системы EVAP между адсорбером и электровакуумным клапаном продувки

    • Адсорбер (угольный фильтр внутри адсорбера) засорен

    • ECM

    А

    Предполагается наличие утечки (на основании результата шага 10):

    • Пробка наливной горловины топливного бака

    • Утечка из трубопровода системы EVAP, топливного бака или адсорбера

    B

    Всасывание присутствует, когда электровакуумный клапан продувки выключен

    • Электровакуумный клапан продувки заедает в открытом состоянии

    C

    Всасывание отсутствует, когда электровакуумный клапан продувки включен

    • Электровакуумный клапан продувки заедает в закрытом состоянии

    • Неисправность шланга системы EVAP между электровакуумным клапаном продувки и впускным коллектором

    D

    B

    ПРОВЕРЬТЕ ПРОБКУ НАЛИВНОЙ ГОРЛОВИНЫ ТОПЛИВНОГО БАКАClick here

    C

    ПРОВЕРЬТЕ ЭЛЕКТРОВАКУУМНЫЙ КЛАПАН ПРОДУВКИClick here

    D

    ПРОВЕРЬТЕ ШЛАНГ СИСТЕМЫ EVAP (ЭЛЕКТРОВАКУУМНЫЙ КЛАПАН ПРОДУВКИ - ВПУСКНОЙ КОЛЛЕКТОР)Click here

    A
  21. ПРОВЕРЬТЕ ШЛАНГ СИСТЕМЫ EVAP (ЭЛЕКТРОВАКУУМНЫЙ КЛАПАН ПРОДУВКИ - АДСОРБЕР)

    1. Проверьте наличие засорений в продувочном трубопроводе системы EVAP между электровакуумным клапаном продувки и адсорбером.

      OK

      Засорение в продувочном трубопроводе системы EVAP между электровакуумным клапаном продувки и адсорбером отсутствует.

    Result

    Перейти к

    OK

    НЕ СООТВ.

    НЕ СООТВ.

    ОТРЕМОНТИРУЙТЕ ИЛИ ЗАМЕНИТЕ ПРОДУВОЧНЫЙ ТРУБОПРОВОД СИСТЕМЫ EVAP (ЭЛЕКТРОВАКУУМНЫЙ КЛАПАН ПРОДУВКИ - АДСОРБЕР)Click here

    СООТВ
  22. ПРОВЕРЬТЕ АДСОРБЕР (УГОЛЬНЫЙ ФИЛЬТР ВНУТРИ АДСОРБЕРА)

    1. Проверьте адсорбер в сборе на наличие засорений фильтра.

      Нажмите здесьClick here

      OK

      Засорение в адсорбере отсутствует.

    Результат

    Перейти к

    OK

    НЕ СООТВ.

    OK

    ЗАМЕНИТЕ ECMClick here

    НЕ СООТВ.
  23. ЗАМЕНИТЕ АДСОРБЕР

    1. Замените адсорбер.

      Нажмите здесьClick here

    Note:
    • При замене адсорбера проверьте внутренние части модуля насоса адсорбера и соединенные с ним трубопроводы на отсутствие воды, топлива и других жидкостей. При наличии жидкостей проверьте, нет ли нарушенных соединений и (или) трещин в следующих деталях: 1) трубка, соединяющая канал на впуске воздуха с модулем насоса адсорбера; 2) фильтр адсорбера; 3) вентиляционный шланг топливного бака.

    • Проверьте, не засорен ли фильтр адсорбера. Если фильтр адсорбера засорен, замените фильтр адсорбера.

    A330672C01

    *1

    Вентиляционный шланг топливного бака

    *2

    Канал воздухозабора

    *3

    Вентиляционный шланг

    *4

    Топливный бак

    *5

    Насос адсорбера

    *6

    Адсорбер

    *7

    Фильтр адсорбера

    -

    -

    *a

    Участок, на котором имеется неисправность

    (убедитесь в отсутствии отсоединений и/или трещин)

    -

    -

    Result

    Перейти к

    СЛЕДУЮЩЕЕ -

    СЛЕДУЮЩЕЕ -
  24. ВЫПОЛНИТЕ ПРОВЕРКУ СИСТЕМЫ УПРАВЛЕНИЯ УЛАВЛИВАНИЕМ ПАРОВ ТОПЛИВА (АВТОМАТИЧЕСКИЙ РЕЖИМ)

    Note:
    • Проверка "Evaporative System Check (Automatic Mode)" (проверка системы улавливания паров топлива (автоматический режим)) включает 6 шагов, выполняемых GTS автоматически. Ее продолжительность не превышает приблизительно 24 минут.

    • Не выполняйте проверку испарительной топливной системы, если топливный бак заполнен более чем на 90%, поскольку клапан отсечки может быть закрыт, что сделает проверку утечек из топливного бака невозможной.

    • На этом этапе не запускайте двигатель.

    • Если температура топлива 35°C (95°F) или выше, образуется значительное количество паров топлива, в результате чего любые результаты проверки будут неточными. При выполнении проверки системы улавливания паров топлива поддерживайте температуру топлива ниже 35°C (95°F).

    1. Подключите GTS к DLC3.

    2. Включите зажигание (IG).

    3. Включите GTS.

    4. Удалите коды DTC.

      Нажмите здесьClick here

      Powertrain > Engine and ECT > Clear DTCs

    5. Выключите питание и подождите не менее 30 с.

    6. Включите питание (IG) и включите GTS.

    7. Войдите в следующие меню: Powertrain / Engine and ECT / Utility / Evaporative System Check / Automatic Mode.

      Powertrain > Engine and ECT > Utility

      Информация на дисплее прибора

      Evaporative System Check

    8. После завершения Evaporative System Check (проверки системы EVAP) проверьте ожидающие обработки коды DTC, войдя в следующие меню: Powertrain / Engine and ECT / Trouble Codes.

      Powertrain > Engine and ECT > Trouble Codes

      Tip:

      Если ожидающие обработки DTC отсутствуют, ремонт выполнен успешно.

    Результат

    Перейти к

    СЛЕДУЮЩЕЕ -

    СЛЕДУЮЩЕЕ -

    КОНЕЦ

  25. ОТРЕМОНТИРУЙТЕ ИЛИ ЗАМЕНИТЕ ПРОДУВОЧНЫЙ ТРУБОПРОВОД СИСТЕМЫ EVAP (ЭЛЕКТРОВАКУУМНЫЙ КЛАПАН ПРОДУВКИ - АДСОРБЕР)

    Результат

    Перейти к

    СЛЕДУЮЩЕЕ -

    СЛЕДУЮЩЕЕ -

    ВЫПОЛНИТЕ ПРОВЕРКУ СИСТЕМЫ УПРАВЛЕНИЯ УЛАВЛИВАНИЕМ ПАРОВ ТОПЛИВА (АВТОМАТИЧЕСКИЙ РЕЖИМ)Click here

  26. ЗАМЕНИТЕ ПРОБКУ НАЛИВНОЙ ГОРЛОВИНЫ ТОПЛИВНОГО БАКА

    1. Проверьте правильность установки пробки наливной горловины топливного бака и убедитесь, что она соответствует спецификациям изготовителя.

    2. Плотно затяните пробку наливной горловины топливного бака (можно услышать только один щелчок).

      Tip:

      При наличии прибора для проверки системы EVAP проверьте пробку наливной горловины топливного бака с помощью прибора.

      1. Снимите пробку наливной горловины топливного бака и установите ее на переходник.

      2. Подсоедините шланг насоса прибора для проверки системы EVAP к переходнику и создайте избыточное барометрическое давление под пробкой 3,2 - 3,7 кПа (24 - 27,75 мм рт. ст.) с помощью насоса прибора для проверки системы EVAP.

      3. Загерметизируйте переходник и подождите 2 минуты.

      4. Проверьте давление. Если барометрическое давление составляет не менее 2 кПа (15 мм рт. ст.), то пробка наливной горловины топливного бака исправна.

    Результат

    Результат испытания

    Предполагаемый участок неисправности

    Перейдите к

    Пробка наливной горловины топливного бака установлена правильно

    -

    А

    Пробка наливной горловины топливного бака неплотно затянута

    • Пробка наливной горловины топливного бака установлена неправильно

    • Пробка наливной горловины топливного бака имеет дефект

    • Пробка наливной горловины топливного бака не соответствует спецификациям изготовителя

    B

    Пробка наливной горловины топливного бака имеет дефект

    -

    Пробка наливной горловины топливного бака отсутствует

    -

    C

    B

    ПРАВИЛЬНО УСТАНОВИТЕ ИЛИ ЗАМЕНИТЕ ПРОБКУ НАЛИВНОЙ ГОРЛОВИНЫ ТОПЛИВНОГО БАКАClick here

    C

    ЗАМЕНИТЕ ПРОБКУ НАЛИВНОЙ ГОРЛОВИНЫ ТОПЛИВНОГО БАКАClick here

    A
  27. НАЙДИТЕ МЕСТО УТЕЧКИ ПАРОВ ТОПЛИВА

    1. Отсоедините шланг вентиляции.

    2. Подсоедините прибор для проверки герметичности EVAP к модулю насоса адсорбера с помощью переходника.

      A330658C01

      *1

      Насос адсорбера

      *2

      Переходник

      *3

      Прибор для проверки герметичности EVAP

      -

      -

    3. Создайте барометрическое давление в системе EVAP 3,2 - 3,7 кПа (24 - 28 мм рт. ст.).

    4. Смочите мыльным раствором трубопроводы и места соединений системы EVAP.

    5. Попытайтесь выявить участки, где появляются пузыри. Пузыри указывают место утечки.

    6. Отремонтируйте место утечки или замените детали.

      Tip:

      Отсоедините от адсорбера шланг между адсорбером и топливным баком. Перекройте сторону адсорбера и выполните проверку. Действуя таким образом, можно исключить топливный бак из числа предполагаемых участков, вызывающих утечку топлива.

    Результат

    Перейти к

    СЛЕДУЮЩЕЕ -

    СЛЕДУЮЩЕЕ -

    ВЫПОЛНИТЕ ПРОВЕРКУ СИСТЕМЫ УПРАВЛЕНИЯ УЛАВЛИВАНИЕМ ПАРОВ ТОПЛИВА (АВТОМАТИЧЕСКИЙ РЕЖИМ)Click here

  28. УСТАНОВИТЕ ПРОБКУ НАЛИВНОЙ ГОРЛОВИНЫ ТОПЛИВНОГО БАКА ДОЛЖНЫМ ОБРАЗОМ ИЛИ ЗАМЕНИТЕ ЕЕ

    Tip:
    • При установке пробки наливной горловины топливного бака плотно затяните ее (можно услышать только один щелчок).

    • В случае замены пробки наливной горловины топливного бака используйте пробку, соответствующую спецификациям изготовителя, и устанавливайте ее плотно.

    Result

    Перейти к

    СЛЕДУЮЩЕЕ -

    СЛЕДУЮЩЕЕ -

    ВЫПОЛНИТЕ ПРОВЕРКУ СИСТЕМЫ УПРАВЛЕНИЯ УЛАВЛИВАНИЕМ ПАРОВ ТОПЛИВА (АВТОМАТИЧЕСКИЙ РЕЖИМ)Click here

  29. ЗАМЕНИТЕ ПРОБКУ НАЛИВНОЙ ГОРЛОВИНЫ ТОПЛИВНОГО БАКА

    Tip:

    При установке пробки наливной горловины топливного бака плотно затяните ее (можно услышать только один щелчок).

    Result

    Перейти к

    СЛЕДУЮЩЕЕ -

    СЛЕДУЮЩЕЕ -

    ВЫПОЛНИТЕ ПРОВЕРКУ СИСТЕМЫ УПРАВЛЕНИЯ УЛАВЛИВАНИЕМ ПАРОВ ТОПЛИВА (АВТОМАТИЧЕСКИЙ РЕЖИМ)Click here

  30. ПРОВЕРЬТЕ ЭЛЕКТРОВАКУУМНЫЙ КЛАПАН ПРОДУВКИ

    1. Выключите зажигание.

    2. A330660C01

      *1

      Электровакуумный клапан продувки

      *2

      Питающий шланг паров топлива в сборе (к адсорберу)

      Отсоедините разъем электровакуумного клапана продувки (VSV).

    3. Отсоедините питающий шланг паров топлива (подсоединенный к адсорберу) электровакуумного клапана продувки.

    4. Переведите двигатель в режим проверки (режим обслуживания).

      Нажмите здесьClick here

      Powertrain > Hybrid Control > Utility

      Информация на дисплее прибора

      Inspection Mode

    5. Запустите двигатель.

    6. Убедитесь в отсутствии всасывания в электровакуумный клапан продувки, закрыв отверстие пальцем.

    Result

    Результат испытания

    Предполагаемый участок неисправности

    Перейдите к

    Всасывание отсутствует

    • Жгут проводов или разъем между электровакуумным клапаном продувки и ECM

    • ECM

    А

    Всасывание имеется

    Электровакуумный клапан продувки

    B

    A

    ПРОВЕРЬТЕ ЖГУТ ПРОВОДОВ И РАЗЪЕМ (ЭЛЕКТРОВАКУУМНЫЙ КЛАПАН ПРОДУВКИ - ECM)Click here

    B
  31. ЗАМЕНИТЕ ЭЛЕКТРОВАКУУМНЫЙ КЛАПАН ПРОДУВКИ

    1. Замените электровакуумный клапан продувки.

      Нажмите здесьClick here

    Результат

    Перейти к

    СЛЕДУЮЩЕЕ -

    СЛЕДУЮЩЕЕ -

    ВЫПОЛНИТЕ ПРОВЕРКУ СИСТЕМЫ УПРАВЛЕНИЯ УЛАВЛИВАНИЕМ ПАРОВ ТОПЛИВА (АВТОМАТИЧЕСКИЙ РЕЖИМ)Click here

  32. ПРОВЕРЬТЕ ВЕНТИЛЯЦИОННЫЙ ШЛАНГ ТОПЛИВНОГО БАКА В СБОРЕ

    1. Проверьте наличие засорений в топливном баке вентиляционный шланг между топливным баком и адсорбером.

      СООТВ

      Нет засорений в вентиляционный шланг топливного бака от топливного бака в сборе и адсорбером

    Результат

    Перейти к

    OK

    НЕ СООТВ.

    НЕ СООТВ.

    ОТРЕМОНТИРУЙТЕ ИЛИ ЗАМЕНИТЕ ШЛАНГ ТОПЛИВНОГО БАКА В СБОРЕ

    СООТВ
  33. ПРОВЕРЬТЕ АДСОРБЕР (УГОЛЬНЫЙ ФИЛЬТР ВНУТРИ АДСОРБЕРА)

    1. Проверьте адсорбер в сборе на наличие засорений фильтра.

      Нажмите здесьClick here

      OK

      Засорение в адсорбере отсутствует.

    Результат

    Перейти к

    OK

    НЕ СООТВ.

    НЕ СООТВ.

    ЗАМЕНИТЕ АДСОРБЕРClick here

    СООТВ
  34. ЗАМЕНИТЕ ТОПЛИВНЫЙ БАК В СБОРЕ

    1. Замените топливный бак в сборе.

      Нажмите здесьClick here

    Результат

    Перейти к

    СЛЕДУЮЩЕЕ -

    СЛЕДУЮЩЕЕ -

    ВЫПОЛНИТЕ ПРОВЕРКУ СИСТЕМЫ УПРАВЛЕНИЯ УЛАВЛИВАНИЕМ ПАРОВ ТОПЛИВА (АВТОМАТИЧЕСКИЙ РЕЖИМ)Click here

  35. ПРОВЕРЬТЕ МОДУЛЬ НАСОСА АДСОРБЕРА (ПИТАНИЕ ВЕНТИЛЯЦИОННОГО КЛАПАНА)

    A330662C02

    *a

    Вид спереди разъема со стороны жгута проводов:

    (к модулю насоса адсорбера)

    1. Выключите зажигание.

    2. Отсоедините разъем насоса адсорбера.

    3. Включите зажигание (IG).

    4. Измерьте напряжение в соответствии со значениями, приведенными в таблице.

    Результат

    Подключение диагностического прибора

    Условие

    Заданные условия

    Предполагаемый участок неисправности

    Перейти К

    b3-5 (VLVB) - масса

    Питание включено (IG)

    11 – 14 В

    • Жгут проводов или разъем между вентиляционным клапаном и ECM

    • Вентиляционный клапан

    • Адсорбер (угольный фильтр внутри адсорбера) засорен

    • ECM

    А

    Менее 3 В

    • Жгут проводов питания вентиляционного клапана

    B

    B

    ОТРЕМОНТИРУЙТЕ ИЛИ ЗАМЕНИТЕ ЖГУТ ПРОВОДОВ ИЛИ РАЗЪЕМClick here

    A
  36. ПРОВЕРЬТЕ МОДУЛЬ НАСОСА АДСОРБЕРА (РАБОТУ ВЕНТИЛЯЦИОННОГО КЛАПАНА)

    A330663C01

    *a

    Устройство с неподсоединенным жгутом проводов

    (Насос адсорбера)

    1. Выключите зажигание.

    2. Отсоедините разъем насоса адсорбера.

    3. Подайте напряжение вспомогательной аккумуляторной батареи на контакты VLVB и VGND модуля насоса адсорбера.

    4. Прикоснитесь к модулю насоса адсорбера, чтобы проверить, срабатывает ли вентиляционный клапан.

    Результат

    Условие

    Результат проверки

    Предполагаемый участок неисправности

    Следующий шаг

    Подайте напряжение вспомогательной аккумуляторной батареи на контакты VLVB и VGND

    Работает

    • Жгут проводов или разъем между вентиляционным клапаном и ECM

    • Адсорбер (угольный фильтр внутри адсорбера) засорен

    • ECM

    А

    Не работает

    • Вентиляционный клапан

    B

    B

    ЗАМЕНИТЕ МОДУЛЬ НАСОСА АДСОРБЕРАClick here

    A
  37. ПРОВЕРЬТЕ ЖГУТ ПРОВОДОВ И РАЗЪЕМ (МОДУЛЬ НАСОСА АДСОРБЕРА - ECM)

    1. Выключите зажигание.

    2. Отсоедините разъем насоса адсорбера.

    3. Отсоедините разъем ECM.

    4. Измерьте сопротивление в соответствии со значениями, приведенными в таблице ниже.

    Результат

    Подключение диагностического прибора

    Условие

    Результат испытания

    Предполагаемый участок неисправности

    Следующий шаг

    b3-1 (VGND) - A35-7 (VPMP)

    Всегда

    Менее 1 Ом

    • Адсорбер (угольный фильтр внутри адсорбера) засорен

    • ECM

    А

    10 кОм или более

    Жгут проводов или разъем между ECM и модулем насоса адсорбера

    B

    B

    ОТРЕМОНТИРУЙТЕ ИЛИ ЗАМЕНИТЕ ЖГУТ ПРОВОДОВ ИЛИ РАЗЪЕМClick here

    A
  38. ПРОВЕРЬТЕ АДСОРБЕР (УГОЛЬНЫЙ ФИЛЬТР ВНУТРИ АДСОРБЕРА)

    1. Проверьте адсорбер в сборе на наличие засорений фильтра.

      Нажмите здесьClick here

      OK

      Засорение в адсорбере отсутствует.

    Результат

    Перейти к

    OK

    НЕ СООТВ.

    OK

    ЗАМЕНИТЕ ECMClick here

    НЕ СООТВ.

    ЗАМЕНИТЕ АДСОРБЕРClick here

  39. ВЫПОЛНИТЕ ПРОВЕРКУ СИСТЕМЫ EVAP (ШАГИ 3/6)

    A282741E02
    1. Проверьте давление в системе EVAP на шагах 3/6.

    Результат

    DTC*

    Result

    Предполагаемый участок неисправности

    Перейти К

    P043F

    Давление в системе EVAP ниже контрольного давления, измеренного на шаге 2/6

    Сильный поток через контрольное отверстие

    А

    P2401

    Давление в системе EVAP почти совпадает с контрольным давлением, измеренным на шаге 2/6

    Насос обнаружения утечки заедает в выключенном состоянии

    B

    *: Данные коды DTC уже зарегистрированы в ECM по прибытии автомобиля и подтверждены в процедуре "Проверка DTC", описанных выше.

    Tip:

    Первое контрольное давление - это величина, полученная на шаге 2/6.

    A

    ЗАМЕНИТЕ МОДУЛЬ НАСОСА АДСОРБЕРАClick here

    B

    ПРОВЕРЬТЕ НАПРЯЖЕНИЕ НА КОНТАКТЕ (МОДУЛЬ НАСОСА АДСОРБЕРА)Click here

  40. ПРОВЕРЬТЕ МОДУЛЬ НАСОСА АДСОРБЕРА (РАБОТУ ВЕНТИЛЯЦИОННОГО КЛАПАНА)

    A330663C01

    *a

    Устройство с неподсоединенным жгутом проводов

    (Насос адсорбера)

    1. Выключите зажигание.

    2. Отсоедините разъем насоса адсорбера.

    3. Подайте напряжение вспомогательной аккумуляторной батареи на контакты VLVB и VGND модуля насоса адсорбера.

    4. Прикоснитесь к модулю насоса адсорбера, чтобы проверить, срабатывает ли вентиляционный клапан.

    Результат

    Условие

    Результат проверки

    Предполагаемый участок неисправности

    Следующий шаг

    Подайте напряжение вспомогательной аккумуляторной батареи на контакты VLVB и VGND

    Работает

    • Жгут проводов или разъем между вентиляционным клапаном и ECM

    • Характеристики насоса обнаружения утечки ухудшаются

    • Цепь насоса обнаружения утечки неисправна (большое сопротивление цепи)

    • ECM

    А

    Не работает

    Вентиляционный клапан

    B

    B

    ЗАМЕНИТЕ МОДУЛЬ НАСОСА АДСОРБЕРАClick here

    A
  41. ПРОВЕРЬТЕ ЖГУТ ПРОВОДОВ И РАЗЪЕМ (МОДУЛЬ НАСОСА АДСОРБЕРА - ECM)

    1. Выключите зажигание.

    2. Отсоедините разъем ECM.

    3. Отсоедините разъем насоса адсорбера.

    4. Измерьте сопротивление в соответствии со значениями, приведенными в таблице ниже.

      Номинальное сопротивление

      Подключение диагностического прибора

      Условие

      Заданные условия

      A35-7 (VPMP) - b3-1 (VGND)

      Всегда

      Менее 1 Ом

      A35-7 (VPMP) или b3-1 (VGND) - масса

      Всегда

      10 кОм или более

    Result

    Result

    Предполагаемый участок неисправности

    Перейти к

    OK

    • Характеристики насоса обнаружения утечки ухудшаются

    • Цепь насоса обнаружения утечки неисправна (большое сопротивление цепи)

    • ECM

    А

    NG

    Жгут проводов или разъем между ECM и модулем насоса адсорбера

    B

    B

    ОТРЕМОНТИРУЙТЕ ИЛИ ЗАМЕНИТЕ ЖГУТ ПРОВОДОВ ИЛИ РАЗЪЕМClick here

    A
  42. ПРОВЕРЬТЕ ЖГУТ ПРОВОДОВ И РАЗЪЕМ (МОДУЛЬ НАСОСА АДСОРБЕРА - МАССА)

    1. Отсоедините разъем насоса адсорбера.

    2. Измерьте сопротивление в соответствии со значениями, приведенными в таблице ниже.

    Результат

    Подключение диагностического прибора

    Условие

    Заданные условия

    Предполагаемый участок неисправности

    Перейти К

    b3-4 (MGND) - масса

    Всегда

    Менее 1 Ом

    • Модуль насоса адсорбера

    • Жгут проводов или разъем между модулем насоса адсорбера и ECM

    • ECM

    А

    10 кОм или более

    Жгут проводов или разъем между модулем насоса адсорбера и массой

    B

    B

    ОТРЕМОНТИРУЙТЕ ИЛИ ЗАМЕНИТЕ ЖГУТ ПРОВОДОВ ИЛИ РАЗЪЕМClick here

    A
  43. ПРОВЕРЬТЕ ЖГУТ ПРОВОДОВ И РАЗЪЕМ (ECM - МОДУЛЬ НАСОСА АДСОРБЕРА)

    1. Отсоедините разъем насоса адсорбера.

    2. Отсоедините разъем ECM.

    3. Измерьте сопротивление в соответствии со значениями, приведенными в таблице ниже.

    Результат

    Подключение диагностического прибора

    Условие

    Заданные условия

    Предполагаемый участок неисправности

    Следующий шаг

    A35-19 (MPMP) - b3-3 (MTRB)

    Всегда

    Менее 1 Ом

    • Модуль насоса адсорбера

    • ECM

    А

    10 кОм или более

    Жгут проводов или разъем между ECM и модулем насоса адсорбера

    B

    B

    ОТРЕМОНТИРУЙТЕ ИЛИ ЗАМЕНИТЕ ЖГУТ ПРОВОДОВ ИЛИ РАЗЪЕМClick here

    A
  44. ЗАМЕНИТЕ МОДУЛЬ НАСОСА АДСОРБЕРА

    1. Замените модуль насоса адсорбера.

      Нажмите здесьClick here

    Note:
    • При замене модуля насоса адсорбера проверьте внутренние части модуля насоса адсорбера, внутренние части адсорбера и соединенные с ним трубопроводы на наличие воды, топлива и других жидкостей. При наличии жидкостей проверьте, нет ли нарушенных соединений и (или) трещин в следующих деталях: 1) трубка, соединяющая канал на впуске воздуха с модулем насоса адсорбера; 2) фильтр адсорбера; 3) вентиляционный шланг топливного бака. При наличии жидкостей внутри адсорбера замените одновременно адсорбер и модуль насоса адсорбера.

    • Проверьте адсорбер в сборе на наличие засорений фильтра. Если угольный фильтр внутри адсорбера засорен, замените одновременно адсорбер и модуль насоса адсорбера.

    • Проверьте, не засорен ли фильтр адсорбера. Если фильтр адсорбера засорен, замените фильтр адсорбера.

    A330672C01

    *1

    Вентиляционный шланг топливного бака

    *2

    Канал воздухозабора

    *3

    Вентиляционный шланг

    *4

    Топливный бак

    *5

    Насос адсорбера

    *6

    Адсорбер

    *7

    Фильтр адсорбера

    -

    -

    *a

    Участок, на котором имеется неисправность

    (убедитесь в отсутствии отсоединений и/или трещин)

    -

    -

    Result

    Перейти к

    СЛЕДУЮЩЕЕ -

    СЛЕДУЮЩЕЕ -
  45. ВЫПОЛНИТЕ ПРОВЕРКУ СИСТЕМЫ УПРАВЛЕНИЯ УЛАВЛИВАНИЕМ ПАРОВ ТОПЛИВА (АВТОМАТИЧЕСКИЙ РЕЖИМ)

    Note:
    • Проверка "Evaporative System Check (Automatic Mode)" (проверка системы улавливания паров топлива (автоматический режим)) включает 6 шагов, выполняемых GTS автоматически. Ее продолжительность не превышает приблизительно 24 минут.

    • Не выполняйте проверку испарительной топливной системы, если топливный бак заполнен более чем на 90%, поскольку клапан отсечки может быть закрыт, что сделает проверку утечек из топливного бака невозможной.

    • На этом этапе не запускайте двигатель.

    • Если температура топлива 35°C (95°F) или выше, образуется значительное количество паров топлива, в результате чего любые результаты проверки будут неточными. При выполнении проверки системы улавливания паров топлива поддерживайте температуру топлива ниже 35°C (95°F).

    1. Подключите GTS к DLC3.

    2. Включите зажигание (IG).

    3. Включите GTS.

    4. Удалите коды DTC.

      Нажмите здесьClick here

      Powertrain > Engine and ECT > Clear DTCs

    5. Выключите питание и подождите не менее 30 с.

    6. Включите питание (IG) и включите GTS.

    7. Войдите в следующие меню: Powertrain / Engine and ECT / Utility / Evaporative System Check / Automatic Mode.

      Powertrain > Engine and ECT > Utility

      Информация на дисплее прибора

      Evaporative System Check

    8. После завершения Evaporative System Check (проверки системы EVAP) проверьте ожидающие обработки коды DTC, войдя в следующие меню: Powertrain / Engine and ECT / Trouble Codes.

      Powertrain > Engine and ECT > Trouble Codes

    Result

    Result

    Перейти К

    Выводятся коды DTC системы EVAP

    А

    DTC не выводятся.

    (Ожидающие обработки DTC не выводятся)

    B

    B

    КОНЕЦ

    А
  46. ЗАМЕНИТЕ ECM

    1. Замените ECM.

      Нажмите здесьClick here

    Результат

    Перейти к

    СЛЕДУЮЩЕЕ -

    СЛЕДУЮЩЕЕ -

    ВЫПОЛНИТЕ ПРОВЕРКУ СИСТЕМЫ УПРАВЛЕНИЯ УЛАВЛИВАНИЕМ ПАРОВ ТОПЛИВА (АВТОМАТИЧЕСКИЙ РЕЖИМ)Click here

  47. ОТРЕМОНТИРУЙТЕ ИЛИ ЗАМЕНИТЕ ЖГУТ ПРОВОДОВ ИЛИ РАЗЪЕМ

    Результат

    Перейти к

    СЛЕДУЮЩЕЕ -

    СЛЕДУЮЩЕЕ -

    ВЫПОЛНИТЕ ПРОВЕРКУ СИСТЕМЫ УПРАВЛЕНИЯ УЛАВЛИВАНИЕМ ПАРОВ ТОПЛИВА (АВТОМАТИЧЕСКИЙ РЕЖИМ)Click here

  48. ПРОВЕРЬТЕ НАПРЯЖЕНИЕ НА КОНТАКТЕ (МОДУЛЬ НАСОСА АДСОРБЕРА)

    A330662C03

    *a

    Вид спереди разъема со стороны жгута проводов:

    (к модулю насоса адсорбера)

    1. Выключите зажигание.

    2. Отсоедините разъем насоса адсорбера.

    3. Включите зажигание (IG).

    4. Измерьте напряжение в соответствии со значениями, приведенными в таблице.

    Результат

    Подключение диагностического прибора

    Условие

    Результат испытания

    Предполагаемый участок неисправности

    Перейти К

    b3-3 (MTRB) - масса

    Питание включено (IG)

    9-14 В

    • Жгут проводов или разъем между насосом обнаружения утечки и массой

    • Обнаружение утечек в насосе

    А

    Менее 3 В

    • Жгут проводов или разъем между насосом обнаружения утечки и ECM

    • ECM

    B

    B

    ПРОВЕРЬТЕ ЖГУТ ПРОВОДОВ И РАЗЪЕМ (ECM - МОДУЛЬ НАСОСА АДСОРБЕРА)Click here

    A
  49. ПРОВЕРЬТЕ ЖГУТ ПРОВОДОВ И РАЗЪЕМ (МОДУЛЬ НАСОСА АДСОРБЕРА - МАССА)

    1. Выключите зажигание.

    2. Отсоедините разъем насоса адсорбера.

    3. Измерьте сопротивление в соответствии со значениями, приведенными в таблице ниже.

    Результат

    Подключение диагностического прибора

    Условие

    Заданные условия

    Предполагаемый участок неисправности

    Перейти К

    b3-4 (MGND) - масса

    Всегда

    Менее 1 Ом

    Обнаружение утечек в насосе

    А

    10 кОм или более

    Жгут проводов или разъем между модулем насоса адсорбера и массой

    B

    A

    ЗАМЕНИТЕ МОДУЛЬ НАСОСА АДСОРБЕРАClick here

    B

    ОТРЕМОНТИРУЙТЕ ИЛИ ЗАМЕНИТЕ ЖГУТ ПРОВОДОВ ИЛИ РАЗЪЕМClick here

  50. ПРОВЕРЬТЕ ЖГУТ ПРОВОДОВ И РАЗЪЕМ (ECM - МОДУЛЬ НАСОСА АДСОРБЕРА)

    1. Выключите питание.

    2. Отсоедините разъем ECM.

    3. Отсоедините разъем насоса адсорбера.

    4. Измерьте сопротивление в соответствии со значениями, приведенными в таблице ниже.

      Номинальное сопротивление

      Подключение диагностического прибора

      Условие

      Номинальное значение

      A35-19 (MPMP) - b3-3 (MTRB)

      Всегда

      Менее 1 Ом

      A35-19 (MPMP) или b3-3 (MTRB) - масса

      Всегда

      10 кОм или более

      Result

      Result

      Предполагаемый участок неисправности

      Перейти к

      OK

      ECM

      А

      NG

      Жгут проводов или разъем между ECM и модулем насоса адсорбера

      B

    А

    ЗАМЕНИТЕ ECMClick here

    B

    ОТРЕМОНТИРУЙТЕ ИЛИ ЗАМЕНИТЕ ЖГУТ ПРОВОДОВ ИЛИ РАЗЪЕМClick here

  51. ЗАМЕНИТЕ МОДУЛЬ НАСОСА АДСОРБЕРА

    1. Замените модуль насоса адсорбера.

      Нажмите здесьClick here

    Note:
    • При замене модуля насоса адсорбера проверьте внутренние части модуля насоса адсорбера, внутренние части адсорбера и соединенные с ним трубопроводы на наличие воды, топлива и других жидкостей. При наличии жидкостей проверьте, нет ли нарушенных соединений и (или) трещин в следующих деталях: 1) трубка, соединяющая канал на впуске воздуха с модулем насоса адсорбера; 2) фильтр адсорбера; 3) вентиляционный шланг топливного бака. При наличии жидкостей внутри адсорбера замените одновременно адсорбер и модуль насоса адсорбера.

    • Проверьте адсорбер в сборе на наличие засорений фильтра. Если угольный фильтр внутри адсорбера засорен, замените одновременно адсорбер и модуль насоса адсорбера.

    • Проверьте, не засорен ли фильтр адсорбера. Если фильтр адсорбера засорен, замените фильтр адсорбера.

    A330672C01

    *1

    Вентиляционный шланг топливного бака

    *2

    Канал воздухозабора

    *3

    Вентиляционный шланг

    *4

    Топливный бак

    *5

    Насос адсорбера

    *6

    Адсорбер

    *7

    Фильтр адсорбера

    -

    -

    *a

    Участок, на котором имеется неисправность

    (убедитесь в отсутствии отсоединений и/или трещин)

    -

    -

    Result

    Перейти к

    СЛЕДУЮЩЕЕ -

    СЛЕДУЮЩЕЕ -

    ВЫПОЛНИТЕ ПРОВЕРКУ СИСТЕМЫ УПРАВЛЕНИЯ УЛАВЛИВАНИЕМ ПАРОВ ТОПЛИВА (АВТОМАТИЧЕСКИЙ РЕЖИМ)Click here

  52. ПРОВЕРЬТЕ МОДУЛЬ НАСОСА АДСОРБЕРА (ЦЕПЬ ДАТЧИКА ДАВЛЕНИЯ В АДСОРБЕРЕ)

    1. Проверьте цепь датчика давления в адсорбере, следуя последовательности проверки цепи датчика давления в адсорбере для кода DTC P0451.

      Нажмите здесьClick here

    Результат

    Перейти к

    СЛЕДУЮЩЕЕ -

    СЛЕДУЮЩЕЕ -

    ВЫПОЛНИТЕ ПРОВЕРКУ СИСТЕМЫ УПРАВЛЕНИЯ УЛАВЛИВАНИЕМ ПАРОВ ТОПЛИВА (АВТОМАТИЧЕСКИЙ РЕЖИМ)Click here