ENGINE UNIT


  1. CONSTRUCTION


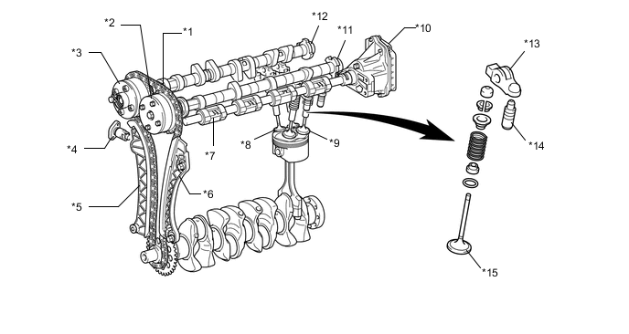
    1. Intake and exhaust efficiency has been increased due to the larger total port areas.

    2. This engine uses valve rocker arm sub-assemblies with built-in needle bearings. This reduces the friction that occurs between the cams or oscillating cam and the areas (roller rocker arms) that push the valves down, thus improving fuel economy.

    3. Valve lash adjuster assemblies, which maintain a constant zero valve clearance through the use of oil pressure and spring force, are used.

    4. The intake and exhaust camshafts are driven by a timing chain.

    5. This engine uses the VALVEMATIC, which effects continuously variable control of the amount of intake valve lift and the intake valve action angle, and the Dual Variable Valve Timing-intelligent (Dual VVT-i) system, which controls the intake and exhaust valve timing. Through coordinate control, these systems optimally control the valve timing and amount of intake valve lift in accordance with the driving conditions. This achieves lower fuel consumption, higher engine performance and fewer exhaust emissions.

      B008G3BC01
      *1 Timing Chain *2 Intake VVT-i Controller
      *3 Exhaust VVT-i Controller *4 Chain Tensioner
      *5 Chain Tensioner Slipper *6 Chain Vibration Damper
      *7 VALVEMATIC Mechanism *8 Exhaust Valve
      *9 Intake Valve *10 Continuously Variable Valve Lift Controller Assembly
      *11 Intake Camshaft *12 Exhaust Camshaft
      *13 Valve Rocker Arm Sub-assembly *14 Valve Lash Adjuster Assembly
      *15 Valve - -