TIRE PRESSURE WARNING SYSTEM


  1. FUNCTION OF MAIN COMPONENTS

    Component Function
    Tire Pressure Warning Valve and Transmitter Detects the tire inflation pressure and temperature of the tire and transmits the measured value and ID code to the tire pressure warning receiver.
    Tire Pressure Warning Reset Switch The warning threshold is calculated from the tire inflation pressure value at the time of initialization and memorized in the tire pressure warning receiver by operating the tire pressure warning reset switch.
    Tire Pressure Warning Receiver
    • Receives the data from each tire pressure warning valve and transmitter and monitors its tire inflation pressure.

    • When the tire pressure warning receiver detects a drop in tire inflation pressure, a system malfunction or the beginning of initialization, it outputs the respective signal to the main body ECU (network gateway ECU).

    Main Body ECU (Network Gateway ECU) Receives the signal from tire pressure warning receiver and outputs it to the combination meter assembly via CAN communication.
    Combination Meter Assembly Transmits the vehicle speed signal to the main body ECU (network gateway ECU).
    Combination Meter Assembly Tire Pressure Warning Light Warns the driver by illuminating or blinking for 1 minute in accordance with the signal from the main body ECU (network gateway ECU).
  2. FUNCTION


    1. Warning Function


      1. The tire pressure warning receiver has 2 warning methods, depending on the condition detected.

      2. The table below shows the warning methods for the warning light in the combination meter assembly.

        Detection Conditions Tire Pressure Warning Light
        The tire pressure warning receiver has detected that a tire inflation pressure has become lower than the threshold. Illuminates*1
        The tire pressure warning receiver has detected a malfunction in the system. Illuminates after blinking for 1 minute*2

        Tech Tips

        *1: If the tire pressure warning light illuminates, adjust the tire inflation pressure.

        *2: If the tire pressure warning light illuminates after blinking for 1 minute, the system is malfunctioning and must be repaired to turn off the light.

    2. Initial Check Function


      1. After the ignition switch is turned to on, the tire pressure warning receiver illuminates the tire pressure warning light for 3 seconds to check the warning light circuit.

    3. Initialization Function


      1. The warning threshold is calculated from the tire inflation pressure at the time of initialization and memorized in the tire pressure warning receiver. Therefore, the tire pressure warning receiver should be initialized after:


        • The recommended tire inflation pressure changes due to changes in vehicle weight, speed conditions or tire size.

        • Replacement of the tire pressure warning receiver or a tire pressure warning valve and transmitter.

        • The tires are rotated on a vehicle with different recommended tire inflation pressures for the front and rear tires.

        • The tire pressure is adjusted.

      2. Initialization starts after the tire pressure warning reset switch is pressed and held (with the ignition switch ON and with the vehicle stopped) and the tire pressure warning light illuminates slowly 3 times.

      3. Before performing initialization, adjust the tire inflation pressure to the recommended pressure when the tires are cold. For details, refer to the Repair Manual.

      4. The tire pressure warning reset switch is not used to cancel the warning. Do not press the tire pressure warning reset switch to turn off the tire pressure warning light.

  3. CONSTRUCTION


    1. Tire Pressure Warning Valve and Transmitter


      1. The tire pressure warning valve and transmitter are integrated in the tire valves. Each transmitter consist of a lithium battery, sensor and transmitter.

      2. Make sure not to damage the urethane covered backside of the transmitter (the surface opposite to the side with the ID code) with anything sharp.

      3. The transmitter directly measures tire inflation pressure and temperature to see if the vehicle can continue to run.

      4. The transmitter transmits the measured tire inflation pressure and temperature values to the tire pressure warning receiver on a frequency of 433.90 MHz.

      5. Depending on the timing of the data transmission, it may take several minutes to receive the data from the tire pressure warning valve and transmitter.

      6. The ID code is written on the tire pressure warning valve and transmitter.

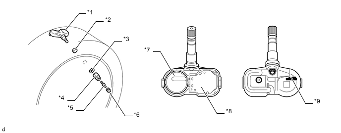
        A004GIBE02
        Text in Illustration
        *1 Tire Pressure Warning Valve and Transmitter *2 Grommet
        *3 Washer *4 Nut
        *5 Tire Valve Core *6 Cap
        *7 Lithium Battery *8 Sensor and Transmitter
        *9 ID Code (Hexadecimal 7 Digits) - -

        Tech Tips


        • The lithium batteries of the tire pressure warning valve and transmitter are non-replaceable. If a battery is depleted, the tire pressure warning valve and transmitter must be replaced. (Battery life: approximately 10 years)

        • When replacing a tire pressure warning valve and transmitter, each of the tire pressure warning valve and transmitter ID codes must be registered. If even one of the transmitters is replaced, the ID codes of all tire pressure warning valve and transmitter must be registered again. Record all the existing ID codes before beginning the process to enter new ID codes.

        • To register an ID code, use the Global Techstream (GTS) to enter the ID code that is indicated on the tire pressure warning valve and transmitter.

        • Be careful not to damage the tire pressure warning valve and transmitter when removing and reinstalling them.

        • Replace the grommet, valve core, washer and nut with new ones when tire pressure warning valve and transmitter is being replaced or being replaced or being removed and reinstalled. This is necessary to ensure sealing performance.

        • When replacing a valve cap, use only the specified cap. If an unspecified cap is used, it may seize to the tire pressure warning valve and transmitter.

        • For details, refer to the Repair Manual.

  4. DIAGNOSIS


    1. To inform the driver when the tire pressure warning receiver detects a malfunction in the system, the tire pressure warning receiver will blink the tire pressure warning light for 1 minute, after which the light will illuminate. The tire pressure warning receiver will also store Diagnostic Trouble Codes (DTCs) in memory.

    2. 5-digit DTCs can be read by connecting the Global Techstream (GTS) to the DLC3. For details, refer to the Repair Manual.