ДИНАМИЧЕСКАЯ РАДАРНАЯ СИСТЕМА КРУИЗ-КОНТРОЛЯ, диагностический DTC: P0571

Код DTC Наименование DTC
P0571 Цепь выключателя тормоза "A"

ОПИСАНИЕ

  • Условие обнаружения 1:

  • При нажатии педали тормоза выключатель стоп-сигналов направляет сигнал на ЭБУ гибридной системы. Когда ЭБУ гибридной системы получает сигнал, он отключает управление скоростью автомобиля со стороны динамической радарной системы круиз-контроля. Функция работы в аварийном режиме обеспечивает нормальную работу даже при наличии неисправности в цепи выключателя стоп-сигналов. Условия отключения возникают при подаче положительного напряжения аккумуляторной батареи на контакт STP. При нажатии педали тормоза напряжение поступает через предохранитель STOP и выключатель стоп-сигналов на контакт STP ЭБУ гибридной системы, а ЭБУ гибридной системы производит отключение динамической радарной системы круиз-контроля.

  • Условие обнаружения 2:

  • ЭБУ гибридной системы получает сигнал запроса торможения от ЭБУ помощи при движении и передает его в ЭБУ системы противоскольжения. ЭБУ системы противоскольжения получает сигнал от ЭБУ гибридной системы и приводит в действие ЭБУ системы противоскольжения. ЭБУ системы противоскольжения приводит в действие блок управления рабочими цилиндрами тормозов и включает стоп-сигналы посредством интегрированного реле.

№ DTC

Неисправность

Условие обнаружения DTC

Неисправный участок

P0571

Цепь выключателя тормоза "A"

  • Условие обнаружения 1:

  • для моделей без функции следования за автомобилем в полном диапазоне скоростей:

    Во время движения автомобиля со скоростью не менее 36 км/час (22 мили в час) с работающей динамической радарной системой круиз-контроля напряжение на контактах STP и ST1- ЭБУ гибридной системы составляет менее 1 В в течение не менее приблизительно 0,5 секунды.

  • Для моделей с функцией следования за автомобилем в полном диапазоне скоростей:

    Во время движения автомобиля со скоростью не менее 5 км/час (3 мили в час) с работающей динамической радарной системой круиз-контроля напряжение на контактах STP и ST1- ЭБУ гибридной системы составляет менее 1 В в течение не менее приблизительно 0,5 секунды.

  • Условие обнаружения 2:

  • для моделей без функции следования за автомобилем в полном диапазоне скоростей:

    Во время движения автомобиля со скоростью не менее 36 км/час (22 мили в час) с работающей динамической радарной системой круиз-контроля ЭБУ гибридной системы получает от ЭБУ системы противоскольжения сигнал ошибки силового полупроводникового интегрированного ЭБУ в течение не менее приблизительно 0,5 секунды.

  • Для моделей с функцией следования за автомобилем в полном диапазоне скоростей:

    Во время движения автомобиля со скоростью не менее 5 км/час (3 мили в час) с работающей динамической радарной системой круиз-контроля ЭБУ гибридной системы получает от ЭБУ системы противоскольжения сигнал ошибки силового полупроводникового интегрированного ЭБУ в течение не менее приблизительно 0,5 секунды.

  • Условие обнаружения 1:

  • Выключатель стоп-сигналов в сборе

  • Жгут проводов или разъем

  • ЭБУ гибридной системы в сборе

  • Условие обнаружения 2:

  • ЭБУ гибридной системы в сборе

  • Тормозная система с электронным управлением

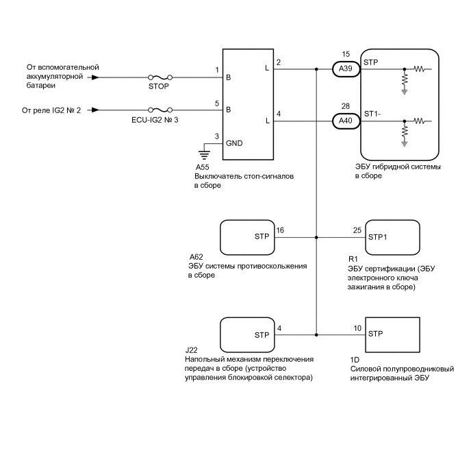
СХЕМА ЭЛЕКТРИЧЕСКИХ СОЕДИНЕНИЙ

A372512E09

ПРЕДОСТЕРЕЖЕНИЕ / ПРИМЕЧАНИЕ / УКАЗАНИЕ

Note:
  • Перед выполнением последующей процедуры проверки проверьте плавкие предохранители цепей, относящихся к данной системе.

  • Перед заменой ЭБУ гибридной системы ознакомьтесь с бюллетенем технического обслуживания.

ПОРЯДОК ВЫПОЛНЕНИЯ

  1. ПРОВЕРЬТЕ НАЛИЧИЕ DTC (СИСТЕМЫ ЭЛЕКТРОННОГО УПРАВЛЕНИЯ ТОРМОЗАМИ)

    1. Проверьте наличие кодов DTC.

      Нажмите здесьClick here

      Chassis > ABS/VSC/TRC > Trouble Codes

      Tip:

      Когда динамическая радарная система круиз-контроля регистрирует код DTC P0571 (условие обнаружения 2), система электронного управления тормозами регистрирует код DTC C1380. Поэтому, если регистрируется код DTC P0571 (условие обнаружения 2), сначала проверьте систему электронного управления тормозами.

    Результат

    Result

    Перейти К

    DTC системы электронного управления тормозами не выводятся.

    A

    DTC системы электронного управления тормозами выводятся.

    B

    B

    ПЕРЕЙДИТЕ К РАЗДЕЛУ "ТОРМОЗНАЯ СИСТЕМА С ЭЛЕКТРОННЫМ УПРАВЛЕНИЕМ"

    Нажмите здесьClick hereClick here

    A
  2. ПРОВЕРЬТЕ DTC (RADAR CRUISE 1)

    1. Удалите коды DTC.

      Нажмите здесьClick here

      Powertrain > Radar Cruise1 > Clear Коды DTC

    2. Убедитесь, что выполняются условия обнаружения DTC.

      Tip:

      Если условия регистрации не выполняются, система не может обнаружить неисправность.

      1. Включите зажигание (IG).

      2. Включите динамическую радарную систему круиз-контроля, используя главный выключатель круиз-контроля (кнопку ON/OFF).

      3. Для моделей с функцией следования за автомобилем в полном диапазоне скоростей: Совершите поездку на автомобиле со скоростью, по крайней мере, 5 км/час (или 3 миля в час) длительностью не менее 1 с.

        для моделей без функции следования за автомобилем в полном диапазоне скоростей: Совершите поездку на автомобиле со скоростью, по крайней мере, 36 км/час (или 22 миля в час) длительностью не менее 1 с.

    3. Проверьте наличие кодов DTC.

      Нажмите здесьClick here

      Powertrain > Radar Cruise1 > Trouble Codes

    Результат

    Result

    Перейдите к

    DTC P0571 не выводится

    A

    DTC P0571 выводится

    B

    A

    ВЫПОЛНИТЕ ПРОВЕРКУ С ИМИТАЦИЕЙ УСЛОВИЙ ВОЗНИКНОВЕНИЯ НЕИСПРАВНОСТИ

    Нажмите здесьClick hereClick hereClick here

    B
  3. ПРОВЕРЬТЕ ЖГУТ ПРОВОДОВ И РАЗЪЕМ (ВЫКЛЮЧАТЕЛЬ СТОП-СИГНАЛОВ В СБОРЕ - АККУМУЛЯТОРНАЯ БАТАРЕЯ И МАССА)

    1. E277387C49

      *a

      Вид спереди разъема со стороны жгута проводов:

      (к выключателю стоп-сигналов в сборе)

      Отсоедините разъем А55 выключателя стоп-сигналов.

    2. Измерьте сопротивление в соответствии со значениями, приведенными в таблице ниже.

      Номинальное сопротивление

      Подключение диагностического прибора

      Условие

      Заданные условия

      A55-3 (GND) - масса

      Всегда

      Менее 1 Ом

    3. Измерьте напряжение в соответствии со значениями, приведенными в таблице.

      Номинальное напряжение

      Подключение диагностического прибора

      Условие

      Заданные условия

      A55-1 (B) - масса

      Всегда

      11-14 В

      A55-5 (B) - масса

      Питание включено (IG)

      11–14 В

      A55-5 (B) - масса

      Питание выключено

      менее 1 В

    Результат

    Перейти к

    OK

    НЕ СООТВ.

    НЕ СООТВ.

    ОТРЕМОНТИРУЙТЕ ИЛИ ЗАМЕНИТЕ ЖГУТ ПРОВОДОВ ИЛИ РАЗЪЕМ

    OK
  4. ПРОВЕРЬТЕ ВЫКЛЮЧАТЕЛЬ СТОП-СИГНАЛОВ В СБОРЕ

    1. Проверьте выключатель стоп-сигналов.

      Нажмите здесьClick here

    Результат

    Перейти к

    OK

    НЕ СООТВ.

    НЕ СООТВ.

    ЗАМЕНИТЕ ВЫКЛЮЧАТЕЛЬ СТОП-СИГНАЛОВ В СБОРЕ

    Нажмите здесьClick here

    СООТВ
  5. ПРОВЕРЬТЕ ЖГУТ ПРОВОДОВ И РАЗЪЕМ (ЭБУ ГИБРИДНОЙ СИСТЕМЫ - ВЫКЛЮЧАТЕЛЬ СТОП-СИГНАЛОВ)

    1. Отсоедините разъем ЭБУ гибридной системы.

    2. Отсоедините разъем выключателя стоп-сигналов.

    3. Отсоедините разъем ЭБУ системы противоскольжения.

    4. Отсоедините разъем ЭБУ сертификации.

    5. Отсоедините разъем напольного механизма переключения передач в сборе.

    6. Отсоедините разъем силового полупроводникового интегрированного ЭБУ.

    7. Измерьте сопротивление в соответствии со значениями, приведенными в таблице ниже.

      Номинальное сопротивление

      Подключение диагностического прибора

      Условие

      Заданные условия

      A40-28 (ST1-) - A55-4 (L)

      Всегда

      Менее 1 Ом

      A39-15 (STP) - A55-2 (L)

      Всегда

      Менее 1 Ом

      A40-28 (ST1-) или A55-4 (L) - масса

      Всегда

      10 кОм или более

      A39-15 (STP) или A55-2 (L) - масса

      Всегда

      10 кОм или более

    Результат

    Перейти к

    OK

    НЕ СООТВ.

    OK

    ЗАМЕНИТЕ ЭБУ ГИБРИДНОЙ СИСТЕМЫ В СБОРЕ

    Нажмите здесьClick hereClick here

    NG

    ОТРЕМОНТИРУЙТЕ ИЛИ ЗАМЕНИТЕ ЖГУТ ПРОВОДОВ ИЛИ РАЗЪЕМ