СИСТЕМА SFI (для моделей с модулем насоса адсорбера), диагностический DTC:P00FE

Код DTC Наименование DTC
P00FE Засорение трубопровода системы EVAP бака Засорение паров топлива /

КРАТКОЕ ОПИСАНИЕ КОДА DTC

№ DTC

Неисправность

Условие обнаружения DTC

Неисправный участок

MIL

Запоминание

P00FE

Засорение трубопровода системы EVAP бака Засорение паров топлива /

Насос обнаружения утечки создает отрицательное давление (разрежение) в системе EVAP, и давление в системе EVAP измеряется. Когда уровень топлива в топливном баке, 85% или менее, а насос обнаружения утечки работает, быстро уменьшается давление в системе EVAP.

  • Вентиляционный шланг топливного бака

  • (отсечной клапан топливного бака в сборе, клапан опрокидывания)

  • Адсорбер

  • ECM

Загорается

Код DTC сохраняется

№ DTC

Объект контроля

Время регистрации

Логика диагностирования

P00FE

Вентиляционный EVAP засорена

Мониторинг EVAP

(питание выключено)

За 2 поездки

ОПИСАНИЕ

Описание приведено в разделе "Система управления улавливанием паров топлива (EVAP)".

Нажмите здесьClick here

ОПИСАНИЕ РАБОТЫ СИСТЕМЫ КОНТРОЛЯ

Через 5 часов* после выключения питания насос обнаружения утечки создает отрицательное давление (разрежение) в системе EVAP (системе улавливания паров топлива). ECM осуществляет контроль утечек и неисправностей исполнительного механизма на основании давления в системе EVAP.

Tip:

*: Если через 5 часов после выключения двигателя температура охлаждающей жидкости двигателя не опускается ниже 35°C (95°F), система контроля запускается спустя 2 часа. Если через 7 часов после выключения двигателя температура все же не опускается ниже 35°C (95°F), система контроля запускается спустя 2,5 часа.

Последовательность

Работа

Описание

Продолжительность

-

Активация ECM

Активируется по срабатыванию реле времени охлаждения, через 5, 7 или 9,5 часов после выключения питания.

-

A

Измерения атмосферного давления

Вентиляционный клапан выключается (вентиляция открывается), и ECM измеряет давление в системе EVAP для регистрации барометрического давления.

Если абсолютное давление в системе EVAP не находится в диапазоне от 70 до 110 кПа (от 10,15 до 15,95 фунта на кв. дюйм), то ECM отключает контроль системы EVAP.

60 с

B

Измерение первого контрольного давления

Для измерения контрольного давления насос обнаружения утечки создает отрицательное давление (разрежение) через контрольное отверстие, после чего ECM проверяет правильность работы насоса обнаружения утечки и вентиляционного клапана.

360 с

C

Измерение давления в системе EVAP

Вентиляционный клапан включается (закрывается) для закрывания системы EVAP.

В системе EVAP создается отрицательное давление (разрежение), после чего давление в системе EVAP измеряется.

Запишите измеренную величину, поскольку она будет использоваться при проверке утечки. Если давление в системе EVAP не стабилизируется в течение 15 минут, ECM отключает контроль системы EVAP.

15 мин*

D

Монитор электровакуумного клапана продувки

ECM открывает электровакуумный клапан продувки и затем измеряет давление в системе EVAP.

Большой прирост указывает на исправность.

10 с

E

Измерение второго контрольного давления

После измерения второго контрольного давления проверка утечки производится путем сравнения первого и второго контрольного давления.

Если установившееся в системе давление превышает второе контрольное давление, то ECM определяет наличие утечки в системе EVAP.

60 с

-

Окончательная проверка

ECM измеряет барометрическое давление и сохраняет результат контроля в памяти.

-

*: Если в баке находится лишь небольшое количество топлива, стабилизация давления в системе EVAP происходит в течение более длительного времени.

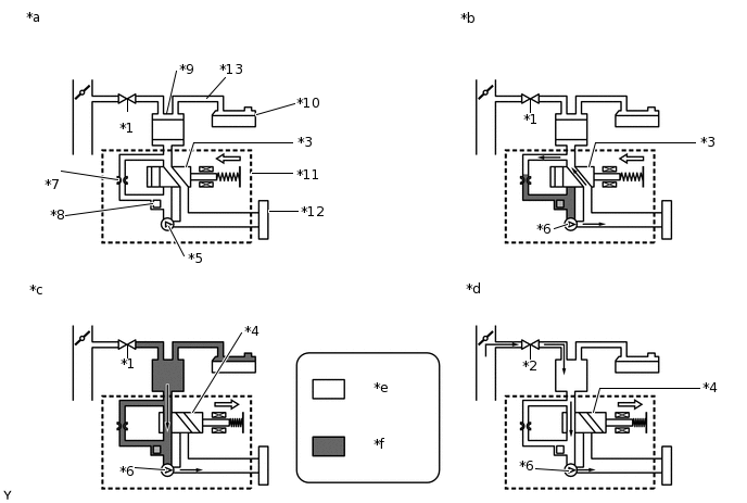
A112612C09

*1

Электровакуумный клапан продувки: Выкл (закрыт)

*2

Электровакуумный клапан продувки: Вкл (открыт)

*3

Вентиляционный клапан: Выкл (выпуск)

*4

Вентиляционный клапан: Вкл (закрыт)

*5

Насос обнаружения утечки: Выкл

*6

Насос обнаружения утечки: Вкл

*7

Контрольное отверстие (0,02 дюйма)

*8

Датчик давления в адсорбере

*9

Адсорбер

*10

Топливный бак

*11

Насос адсорбера

*12

Фильтр адсорбера

*13

Вентиляционный шланг топливного бака

-

-

*a

Этап A:

Измерение атмосферного давления

*b

Этап B, E:

Измерение контрольного давления

*c

Этап C:

Измерение давления в системе EVAP

*d

Этап D:

Монитор электровакуумного клапана продувки

*e

Atmospheric Pressure

*f

Отрицательное давление

  • P00FE: (a) Вентиляционный EVAP засорена

    Во время работы с, если давление в системе EVAP ниже порогового значения после 14,7 с, ECM определяет, что имеется засорений между топливным баком и адсорбером, включает контрольную лампу MIL и регистрирует этот DTC (логика диагностирования за 2 поездки).

    A421323E03

ПРИНЦИП РАБОТЫ СИСТЕМЫ КОНТРОЛЯ

Требуемые датчики/устройства (основные)

Электровакуумный клапан продувки

Модуль насоса адсорбера

Требуемые датчики/устройства (связанные)

Датчик уровня топлива

Продолжительность работы

Один раз в течение одной поездки

ПРОВЕРОЧНАЯ ПОЕЗДКА

Note:
  • Проверка "Evaporative System Check (Automatic Mode)" (проверка системы улавливания паров топлива (автоматический режим)) включает 6 шагов, выполняемых GTS автоматически. Ее продолжительность не превышает приблизительно 24 минут.

  • Не выполняйте проверку испарительной топливной системы, если топливный бак не полный более 85%, поскольку клапан отсечки может быть закрыт, что сделает проверку утечек из топливного бака невозможно.

  • Во время выполнения этой операции не запускайте двигатель.

  • Если температура топлива 35°C (95°F) или выше, образуется значительное количество паров топлива, в результате чего любые результаты проверки будут неточными. При выполнении проверки системы улавливания паров топлива поддерживайте температуру топлива ниже 35°C (95°F).

Tip:
  • После завершения ремонта удалите DTC, а затем убедитесь в том, что автомобиль вернулся в нормальное состояние, выполнив рассмотренную ниже процедуру проверки All Readiness (проверка полной готовности).

    Нажмите здесьClick here

  • При удалении постоянные коды DTC, перейдите к разделу "Удалите DTC" PERMANENT процедуру.

    Нажмите здесьClick here

  1. Подключите GTS к DLC3.

  2. Включите зажигание (IG).

  3. Включите GTS.

  4. Удалите коды DTC (даже если нет сохраненных DTC, выполните процедуру удаления DTC).

  5. Выключите питание и подождите не менее 30 с.

  6. Включите зажигание (IG).

  7. Включите диагностический прибор TechDoc3.

  8. Войдите в следующие меню: Powertrain / Engine and ECT / Utility / Evaporative System Check / Automatic Mode.

  9. По завершении проверки "Evaporative System Check" проверьте значение параметра All Readiness, войдя в следующие меню: Powertrain / Engine / Utility / All Readiness.

  10. Введите DTC: P00FE.

  11. Проверьте результат проверки DTC.

    Дисплей GTS

    Описание

    NORMAL

    • Проверка DTC завершена

    • Cистема работает нормально

    ABNORMAL

    • Проверка DTC завершена

    • Нарушения в работе системы

    INCOMPLETE

    • Проверка DTC не завершена

    • Выполните поездку в проверочном режиме после создания условий регистрации DTC

    N/A

    • Невозможно выполнить проверку DTC

    • Количество кодов DTC, которые не соответствуют условиям регистрации DTC, достигло предела запоминающего устройства ЭБУ

    Tip:
    • Если результат проверки показывает NORMAL, система исправна.

    • Если результат проверки показывает ABNORMAL, система неисправна.

    • Если результат проверки показывает INCOMPLETE или N/A, выполните поездку в проверочном режиме и снова проверьте результат проверки DTC.

ПОРЯДОК ВЫПОЛНЕНИЯ

  1. ПЕРЕЙДИТЕ К РАЗДЕЛУ "СИСТЕМА EVAP"

    1. См. раздел "Система улавливания паров топлива".

      Нажмите здесьClick here

    Результат

    Перейти к

    СЛЕДУЮЩЕЕ -

    СЛЕДУЮЩЕЕ -

    КОНЕЦ