БЛОК ЦИЛИНДРОВ УЗЛЫ И ДЕТАЛИ
ИЛЛЮСТРАЦИЯ
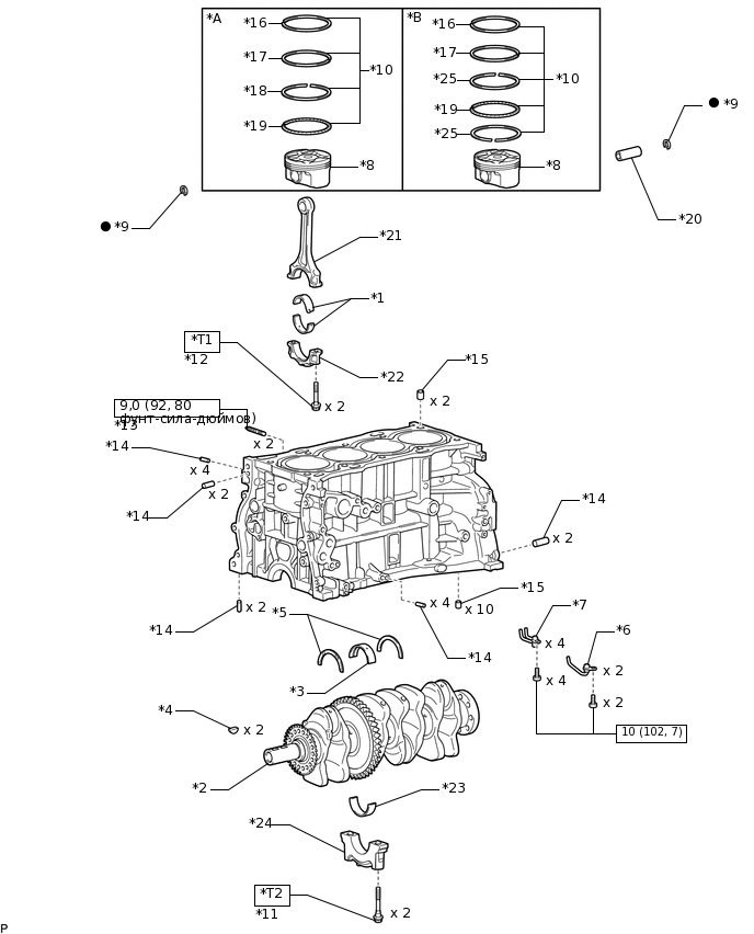
*A |
Тип A |
*B |
Тип B |
*1 |
ПОДШИПНИК ШАТУНА |
*2 |
КОЛЕНЧАТЫЙ ВАЛ |
*3 |
ПОДШИПНИК КОЛЕНЧАТОГО ВАЛА |
*4 |
ШПОНКА ШКИВА КОЛЕНЧАТОГО ВАЛА |
*5 |
УПОРНАЯ ШАЙБА КОЛЕНЧАТОГО ВАЛА |
*6 |
ШТУЦЕР ПОДАЧИ МАСЛА № 1 |
*7 |
ШТУЦЕР ПОДАЧИ МАСЛА № 2 |
*8 |
ПОРШЕНЬ |
*9 |
СТОПОРНОЕ КОЛЬЦО ОТВЕРСТИЯ ДЛЯ ПОРШНЕВОГО ПАЛЬЦА |
*10 |
НАБОР ПОРШНЕВЫХ КОЛЕЦ |
*11 |
БОЛТ КРЕПЛЕНИЯ КРЫШКИ ПОДШИПНИКА КОЛЕНЧАТОГО ВАЛА |
*12 |
БОЛТ ШАТУНА |
*13 |
ШПИЛЬКА |
*14 |
СТОПОРНЫЙ ШТИФТ |
*15 |
СОЕДИНИТЕЛЬНОЕ КОЛЬЦО |
*16 |
КОМПРЕССИОННОЕ КОЛЬЦО № 1 |
*17 |
КОМПРЕССИОННОЕ КОЛЬЦО № 2 |
*18 |
МАСЛОСЪЕМНОЕ КОЛЬЦО |
*19 |
РАСШИРИТЕЛЬ МАСЛОСЪЕМНОГО КОЛЬЦА |
*20 |
ПОРШНЕВОЙ ПАЛЕЦ |
*21 |
ШАТУН |
*22 |
КРЫШКА ШАТУНА |
*23 |
ПОДШИПНИК КОЛЕНЧАТОГО ВАЛА № 2 |
*24 |
КРЫШКА КОРЕННОГО ПОДШИПНИКА КОЛЕНЧАТОГО ВАЛА |
*25 |
ПРОДОЛЬНАЯ НАПРАВЛЯЮЩАЯ МАСЛОСЪЕМНОГО КОЛЬЦА |
- |
- |
![]() |
Н*м (кгс*см, фунт-сила-фут) : Номинальный момент затяжки |
● |
Деталь однократного применения |
*T1 |
1-й: 40 (408, 30) 2-я: Доверните на 90° |
*T2 |
1-й: 20 (204, 15) 2-й: 40 (408, 30) 3-я: Доверните на 90° |
