IMMOBILISER SYSTEM(w/ Entry and Start System), Diagnostic DTC:B278A

DTC Code DTC Name
B278A Short to GND in Immobiliser System Power Source Circuit

DESCRIPTION

When there is a short to GND in the power supply for the transponder key amplifier of the engine switch, the certification ECU (smart key ECU assembly) stores this DTC.

DTC No.

Detection Item

DTC Detection Condition

Trouble Area

Note

B278A

Short to GND in Immobiliser System Power Source Circuit

A short to GND in the power supply of the transponder key amplifier of the engine switch (VC5 - VC5) detected. (1 trip detection logic*1)

  • Engine switch

  • Certification ECU (smart key ECU assembly)

  • Wire harness or connector

DTC output confirmation operation:

  • With the shift lever in N*2 and the key held near the engine switch, an engine start operation is performed by pressing and holding the engine switch when the transmitter battery is depleted.

  • *1: Only output while a malfunction is present.

  • *2: for Multi-Mode Manual Transaxle

Table 1. Vehicle Condition and Fail-safe Operation when Malfunction Detected

Vehicle Condition when Malfunction Detected

Fail-safe Operation when Malfunction Detected

Engine cannot be started when transmitter battery is depleted by holding transmitter near engine switch and pressing and holding engine switch with shift lever in N*

-

  • *: for Multi-Mode Manual Transaxle

Table 2. Related Data List and Active Test

DTC No.

Data List and Active Test

B278A

-

WIRING DIAGRAM

E271702E12

CAUTION / NOTICE / HINT

Note:
  • When using the GTS with the engine switch off, connect the GTS to the DLC3 and turn a courtesy light switch on and off at intervals of 1.5 seconds or less until communication between the GTS and the vehicle begins. Then select Model Code "KEY REGIST" under manual mode and enter the following menus: Body Electrical / Entry&Start(CAN). While using the GTS, periodically turn a courtesy light switch on and off at intervals of 1.5 seconds or less to maintain communication between the GTS and the vehicle.

  • Before replacing the certification ECU (smart key ECU assembly), refer to Service Bulletin.

  • After repair, confirm that no DTCs are output by performing "DTC Output Confirmation Operation".

PROCEDURE

  1. CHECK CERTIFICATION ECU (SMART KEY ECU ASSEMBLY)

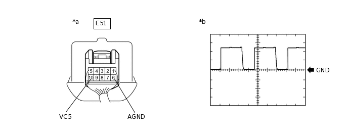
    1. Using an oscilloscope, check the waveform.

      B345599C23

      *a

      Component with harness connected

      (Engine Switch)

      *b

      waveform1

      Tip:

      Perform this inspection on the engine switch side.

      Measurement Condition

      Tester Connection

      Condition

      Tool Setting

      Specified Condition

      E51-10 (VC5) - E51-6 (AGND)

      Engine switch off, key not in cabin, within 30 seconds after engine switch pressed

      2 V/DIV., 200 ms./DIV.

      Pulse generation

      (See waveform1)

      OK

      The waveform is similar to that shown in the illustration.

    Result

    Proceed to

    OK

    NG

    OK

    REPLACE ENGINE SWITCH

    for 1KR-FE:Click here

    for 1PP:Click here

    NG
  2. CHECK HARNESS AND CONNECTOR (CERTIFICATION ECU (SMART KEY ECU ASSEMBLY) - ENGINE SWITCH)

    1. Disconnect the E49 and E50 certification ECU (smart key ECU assembly) connectors.

    2. Disconnect the E51 engine switch connector.

    3. Measure the resistance according to the value(s) in the table below.

      Standard Resistance

      Tester Connection

      Condition

      Specified Condition

      E50-20 (VC5) - E51-10 (VC5)

      Always

      Below 1 Ω

      E49-24 (AGND) - E51-6 (AGND)

      Always

      Below 1 Ω

      E50-20 (VC5) or E51-10 (VC5) - Body ground

      Always

      10 kΩ or higher

      E49-24 (AGND) or E51-6 (AGND) - Body ground

      Always

      10 kΩ or higher

    Result

    Proceed to

    OK

    NG

    NG

    REPAIR OR REPLACE HARNESS OR CONNECTOR

    OK
  3. CHECK CERTIFICATION ECU (SMART KEY ECU ASSEMBLY)

    1. Reconnect the E49 and E50 certification ECU (smart key ECU assembly) connectors.

    2. Reconnect the E51 engine switch connector.

    3. Measure the voltage according to the value(s) in the table below.

      B364306C02

      *a

      Component with harness connected

      (Certification ECU (Smart Key ECU Assembly))

      -

      -

      Standard Voltage

      Tester Connection

      Condition

      Specified Condition

      E50-20 (VC5) - E49-24 (AGND)

      Engine switch off, brake pedal not depressed, 30 seconds or more elapsed after driver door opened and then closed

      Below 1 V

    Result

    Proceed to

    OK

    NG

    OK

    REPLACE ENGINE SWITCH

    for 1KR-FE:Click here

    for 1PP:Click here

    NG

    REPLACE CERTIFICATION ECU (SMART KEY ECU ASSEMBLY)