HYBRID CONTROL SYSTEM, Diagnostic DTC:U0110-159,U0110-656 and U0110-657

DTC Code DTC Name
U0110-159 Lost Communication with Drive Motor Control Module "A"
U0110-656 Lost Communication with Drive Motor Control Module "A"
U0110-657 Lost Communication with Drive Motor Control Module "A"

DESCRIPTION

For a description of the inverter.

Click here

The MG ECU, which is built into in the inverter with converter assembly, controls motor (MG2) based on commands from the hybrid vehicle control ECU. The MG ECU monitors communication data and detects malfunctions.

The hybrid vehicle control ECU monitors communication data and detects malfunctions.

A communication error between the MG ECU and the hybrid vehicle control ECU.

DTC No.

Detection Item

DTC Detection Condition

Trouble Area

MIL

Warning Indicate

U0110-159

Lost Communication with Drive Motor Control Module "A"

Error in reception from inverter with converter assembly (MG ECU) via serial communication (out of communication standard)

(1 trip detection logic)

  • Wire harness or connector

  • Inverter with converter assembly

  • Hybrid vehicle transaxle assembly

  • Hybrid vehicle control ECU

  • PCU fuse

Does not come on

Master Warning Light:

Comes on

U0110-656

Lost Communication with Drive Motor Control Module "A"

Error in reception from inverter with converter assembly (MG ECU) via serial communication (out of communication standard)

(1 trip detection logic)

  • Wire harness or connector

  • Inverter with converter assembly

  • Hybrid vehicle transaxle assembly

  • Hybrid vehicle control ECU

  • PCU fuse

Does not come on

Master Warning Light:

Comes on

U0110-657

Lost Communication with Drive Motor Control Module "A"

Error in reception from inverter with converter assembly (MG ECU) via serial communication (no reception)

(1 trip detection logic)

  • Wire harness or connector

  • Inverter with converter assembly

  • Hybrid vehicle transaxle assembly

  • Hybrid vehicle control ECU

  • PCU fuse

Does not come on

Master Warning Light:

Comes on

WIRING DIAGRAM

Refer to the wiring diagram for the inverter low-voltage circuit.

Click here

Refer to the wiring diagram for DTC P0AA6-526.

Click here

CAUTION / NOTICE / HINT

CAUTION:
  • Before inspecting the high-voltage system or disconnecting the low voltage connector of the inverter with converter assembly, take safety precautions such as wearing insulated gloves and removing the service plug grip to prevent electrical shocks. After removing the service plug grip, put it in your pocket to prevent other technicians from accidentally reconnecting it while you are working on the high-voltage system.

  • After removing the service plug grip, wait for at least 10 minutes before touching any of the high-voltage connectors or terminals. After waiting for 10 minutes, check the voltage at the terminals in the inspection point in the inverter with converter assembly. The voltage should be 0 V before beginning work.

    Click here

    Tip:

    Waiting for at least 10 minutes is required to discharge the high-voltage capacitor inside the inverter with converter assembly.

Note:
  • After turning the power switch off, waiting time may be required before disconnecting the cable from the negative (-) auxiliary battery terminal. Therefore, make sure to read the disconnecting the cable from the negative (-) auxiliary battery terminal notices before proceeding with work.

    Click hereClick hereClick hereClick here

  • If DTCs U0110-159, U0110-656, and/or U0110-657 were stored due to incomplete engagement of the connectors, and the system returns to normal when the power switch is turned on (IG) after clearing the DTCs, DTC P324E-788 will be stored. Proceed to troubleshooting without considering DTC P324E-788.

Tip:

After the repair, clear the DTCs and perform the following procedure to check that DTCs are not output.

  1. Turn the power switch on (IG) and wait for 2 minutes or more.

PROCEDURE

  1. INSPECT FUSE (PCU)

    1. Remove the PCU fuse from the No. 2 engine room relay block and junction block assembly.

    2. C298821C02

      *1

      No. 2 Engine Room Relay Block and Junction Block Assembly

      *2

      PCU Fuse

      Measure the resistance according to the value(s) in the table below.

      Standard Resistance

      Tester Connection

      Condition

      Specified Condition

      PCU fuse terminals

      Always

      Below 1 Ω

    3. Install the PCU fuse.

    Result

    Proceed to

    OK

    NG

    NG

    REPLACE FUSE (PCU)Click here

    OK
  2. CLEAR DTC

    Click here

    Result

    Proceed to

    NEXT

    NEXT
  3. CHECK DTC OUTPUT (HYBRID CONTROL)

    1. Connect the GTS to the DLC3.

    2. Turn the power switch on (IG).

    3. Enter the following menus: Powertrain / Hybrid Control / Trouble Codes.

    4. Check for DTCs.

      Powertrain > Hybrid Control > Trouble Codes

      Result

      Proceed to

      U0110-159, 656 or 657 is output.

      U0110-159, 656 and 657 are not output.

    5. Turn the power switch off.

    U0110-159, 656 and 657 are not output.

    CHECK FOR INTERMITTENT PROBLEMS

    U0110-159, 656 or 657 is output.
  4. CHECK INVERTER WITH CONVERTER ASSEMBLY (GENERATOR CABLE CONNECTION CONDITION)

    Click here

    Result

    Result

    Proceed to

    The terminals are connected securely and there are no contact problems.

    There are no arc marks.

    A

    The terminals are not connected securely and there is a contact problem.

    There are arc marks.

    B

    The terminals are not connected securely and there is a contact problem.

    There are no arc marks.

    C

    The terminals are connected securely and there are no contact problems.

    There are arc marks.

    B

    B

    REPLACE MALFUNCTIONING PARTS

    C

    CONNECT SECURELY

    A
  5. CHECK INVERTER WITH CONVERTER ASSEMBLY (MOTOR CABLE CONNECTION CONDITION)

    Click here

    Result

    Result

    Proceed to

    The terminals are connected securely and there are no contact problems.

    There are no arc marks.

    A

    The terminals are not connected securely and there is a contact problem.

    There are arc marks.

    B

    The terminals are not connected securely and there is a contact problem.

    There are no arc marks.

    C

    The terminals are connected securely and there are no contact problems.

    There are arc marks.

    B

    B

    REPLACE MALFUNCTIONING PARTS

    C

    CONNECT SECURELY

    A
  6. CHECK HYBRID VEHICLE TRANSAXLE ASSEMBLY (GENERATOR (MG1))

    Click here

    Result

    Proceed to

    OK

    NG

    NG

    REPLACE HYBRID VEHICLE TRANSAXLE ASSEMBLY

    OK
  7. CHECK HYBRID VEHICLE TRANSAXLE ASSEMBLY (MOTOR (MG2))

    Click here

    Result

    Proceed to

    OK

    NG

    NG

    REPLACE HYBRID VEHICLE TRANSAXLE ASSEMBLY

    OK
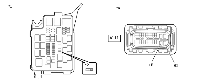
  8. CHECK HARNESS AND CONNECTOR (INVERTER WITH CONVERTER ASSEMBLY POWER SOURCE CIRCUIT)

    CAUTION:

    Be sure to wear insulated gloves.

    1. Check that the service plug grip is not installed.

      Note:

      After removing the service plug grip, do not turn the power switch on (READY), unless instructed by the repair manual because this may cause a malfunction.

    2. Disconnect the A111 inverter with converter assembly connector.

    3. A375052C02

      *a

      Front view of wire harness connector

      (to Inverter with Converter Assembly)

      Measure the resistance according to the value(s) in the table below.

      Standard Resistance

      Tester Connection

      Condition

      Specified Condition

      A111-10 (GND1) - Body ground

      Power switch off

      Below 1 Ω

      A111-11 (GND2) - Body ground

      Power switch off

      Below 1 Ω

    4. Connect the cable to the negative (-) auxiliary battery terminal.

    5. Turn the power switch on (IG).

    6. Measure the voltage according to the value(s) in the table below.

      Standard Voltage

      Tester Connection

      Condition

      Specified Condition

      A111-30 (+B) - Body ground

      Power switch on (IG)

      11 to 14 V

      A111-31 (+B2) - Body ground

      Power switch on (IG)

      11 to 14 V

      Note:

      Turning the power switch on (IG) with the inverter with converter assembly disconnected causes other DTCs to be stored. Clear the DTCs after performing this inspection.

    7. Turn the power switch off.

    8. Disconnect the cable from the negative (-) auxiliary battery terminal.

    9. Reconnect the A111 inverter with converter assembly connector.

    Result

    Proceed to

    OK

    NG

    NG

    REPAIR OR REPLACE HARNESS OR CONNECTOR

    OK
  9. CHECK HYBRID VEHICLE CONTROL ECU (CHECK WAVEFORM)

    1. Connect an oscilloscope between the hybrid vehicle control ECU terminals specified in the following table.

    2. Turn the power switch on (IG).

    3. A299126C31

      *a

      Component with harness connected

      (Hybrid Vehicle Control ECU)

      Measure the waveform.

      Item

      Contents

      Tester Connection

      CH1: A66-33 (CLK+) - G193-6 (E1)

      CH2: A66-32 (CLK-) - G193-6 (E1)

      Equipment Setting

      1 V/DIV., 1 μs./DIV.

      Condition

      Power switch on (IG)

      Result

      Proceed to

      The waveform appears as shown in the illustration.

      The waveform differs from the one shown in the illustration.

      Tip:
      • Inspect with the connector connected.

      • If pulses are generated, the shape of the waveform can be assumed to be normal.

      • The shape of the waveform may vary according to communication conditions.

    4. Turn the power switch off.

    The waveform differs from the one shown in the illustration.

    CHECK HARNESS AND CONNECTOR (HYBRID VEHICLE CONTROL ECU - INVERTER WITH CONVERTER ASSEMBLY)Click here

    The waveform appears as shown in the illustration.
  10. CHECK HYBRID VEHICLE CONTROL ECU (CHECK WAVEFORM)

    1. Connect an oscilloscope between the hybrid vehicle control ECU terminals specified in the following table.

    2. Turn the power switch on (IG).

    3. A299128C29

      *a

      Component with harness connected

      (Hybrid Vehicle Control ECU)

      Measure the waveform.

      Item

      Contents

      Tester Connection

      CH1: A66-31 (REQ+) - G193-6 (E1)

      CH2: A66-30 (REQ-) - G193-6 (E1)

      Equipment Setting

      1 V/DIV., 1 ms./DIV.

      Condition

      Power switch on (IG)

      Result

      Proceed to

      The waveform appears as shown in the illustration.

      The waveform differs from the one shown in the illustration.

      Tip:
      • Inspect with the connector connected.

      • If pulses are generated, the shape of the waveform can be assumed to be normal.

      • The shape of the waveform may vary according to communication conditions.

    4. Turn the power switch off.

    The waveform differs from the one shown in the illustration.

    CHECK HARNESS AND CONNECTOR (HYBRID VEHICLE CONTROL ECU - INVERTER WITH CONVERTER ASSEMBLY)Click here

    The waveform appears as shown in the illustration.
  11. CHECK HYBRID VEHICLE CONTROL ECU (CHECK WAVEFORM)

    1. Connect an oscilloscope between the hybrid vehicle control ECU terminals specified in the following table.

    2. Turn the power switch on (IG).

    3. A299127C48

      *a

      Component with harness connected

      (Hybrid Vehicle Control ECU)

      Measure the waveform.

      Item

      Contents

      Tester Connection

      CH1: A66-23 (MTH+) - G193-6 (E1)

      CH2: A66-22 (MTH-) - G193-6 (E1)

      Equipment Setting

      1 V/DIV., 200 μs./DIV.

      Condition

      Power switch on (IG)

      Result

      Proceed to

      The waveform appears as shown in the illustration.

      The waveform differs from the one shown in the illustration.

      Tip:
      • Inspect with the connector connected.

      • If pulses are generated, the shape of the waveform can be assumed to be normal.

      • The shape of the waveform may vary according to communication conditions.

    4. Turn the power switch off.

    The waveform appears as shown in the illustration.

    REPLACE HYBRID VEHICLE CONTROL ECU

    The waveform differs from the one shown in the illustration.

    CHECK HARNESS AND CONNECTOR (HYBRID VEHICLE CONTROL ECU - INVERTER WITH CONVERTER ASSEMBLY)Click here

  12. REPLACE FUSE (PCU)

    1. C298821C02

      *1

      No. 2 Engine Room Relay Block and Junction Block Assembly

      *2

      PCU Fuse

      Replace the PCU fuse.

    2. Turn the power switch on (READY).

    3. Check if there is an open circuit in the PCU fuse in the No. 2 engine room relay block and junction block assembly.

      OK

      There is no open circuit in the PCU fuse.

      Tip:

      If the fuse does not become open again after turning the power switch on (READY), it can be assumed that the previous fuse failed due to age.

    4. Turn the power switch off.

    Result

    Proceed to

    OK

    NG

    OK

    COMPLETED

    NG

    CHECK HARNESS AND CONNECTOR (INVERTER WITH CONVERTER ASSEMBLY - NO. 2 ENGINE ROOM RELAY BLOCK AND JUNCTION BLOCK ASSEMBLY)Click here

  13. CHECK HARNESS AND CONNECTOR (HYBRID VEHICLE CONTROL ECU - INVERTER WITH CONVERTER ASSEMBLY)

    CAUTION:

    Be sure to wear insulated gloves.

    1. Check that the service plug grip is not installed.

      Note:

      After removing the service plug grip, do not turn the power switch on (READY), unless instructed by the repair manual because this may cause a malfunction.

    2. Disconnect the A66 hybrid vehicle control ECU connector.

    3. Disconnect the A111 inverter with converter assembly connector.

    4. Connect the cable to the negative (-) auxiliary battery terminal.

    5. Turn the power switch on (IG).

    6. A324997C22

      *a

      Rear view of wire harness connector

      (to Hybrid Vehicle Control ECU)

      *b

      Front view of wire harness connector

      (to Inverter with Converter Assembly)

      Measure the voltage according to the value(s) in the table below.

      Standard Voltage

      Tester Connection

      Condition

      Specified Condition

      A66-33 (CLK+) - Body ground

      Power switch on (IG)

      Below 1 V

      A66-32 (CLK-) - Body ground

      Power switch on (IG)

      Below 1 V

      Note:

      Turning the power switch on (IG) with the hybrid vehicle control ECU connector and the inverter with converter assembly disconnected causes other DTCs to be stored. Clear the DTCs after performing this inspection.

    7. Turn the power switch off.

    8. Disconnect the cable from the negative (-) auxiliary battery terminal.

    9. Measure the resistance according to the value(s) in the table below.

      Standard Resistance (Check for Open)

      Tester Connection

      Condition

      Specified Condition

      A66-33 (CLK+) - A111-7 (CLK+)

      Power switch off

      Below 1 Ω

      A66-32 (CLK-) - A111-18 (CLK-)

      Power switch off

      Below 1 Ω

      Standard Resistance (Check for Short)

      Tester Connection

      Condition

      Specified Condition

      A66-33 (CLK+) or A111-7 (CLK+) - Body ground and other terminals

      Power switch off

      10 kΩ or higher

      A66-32 (CLK-) or A111-18 (CLK-) - Body ground and other terminals

      Power switch off

      10 kΩ or higher

    10. Reconnect the A111 inverter with converter assembly connector.

    11. Reconnect the A66 hybrid vehicle control ECU connector.

    Result

    Proceed to

    OK

    NG

    NG

    REPAIR OR REPLACE HARNESS OR CONNECTOR

    OK
  14. CHECK INVERTER WITH CONVERTER ASSEMBLY

    1. Disconnect the A66 hybrid vehicle control ECU connector.

    2. A324998C36

      *a

      Rear view of wire harness connector

      (to Hybrid Vehicle Control ECU)

      Measure the resistance according to the value(s) in the table below.

      Standard Resistance

      Tester Connection

      Condition

      Specified Condition

      A66-33 (CLK+) - A66-32 (CLK-)

      Power switch off

      80 to 170 Ω

    3. Reconnect the A66 hybrid vehicle control ECU connector.

    Result

    Proceed to

    OK

    NG

    OK

    REPLACE HYBRID VEHICLE CONTROL ECU

    NG

    REPLACE INVERTER WITH CONVERTER ASSEMBLY

  15. CHECK HARNESS AND CONNECTOR (HYBRID VEHICLE CONTROL ECU - INVERTER WITH CONVERTER ASSEMBLY)

    CAUTION:

    Be sure to wear insulated gloves.

    1. Check that the service plug grip is not installed.

      Note:

      After removing the service plug grip, do not turn the power switch on (READY), unless instructed by the repair manual because this may cause a malfunction.

    2. Disconnect the A66 hybrid vehicle control ECU connector.

    3. Disconnect the A111 inverter with converter assembly connector.

    4. Connect the cable to the negative (-) auxiliary battery terminal.

    5. Turn the power switch on (IG).

    6. A324997C23

      *a

      Rear view of wire harness connector

      (to Hybrid Vehicle Control ECU)

      *b

      Front view of wire harness connector

      (to Inverter with Converter Assembly)

      Measure the voltage according to the value(s) in the table below.

      Standard Voltage

      Tester Connection

      Condition

      Specified Condition

      A66-31 (REQ+) - Body ground

      Power switch on (IG)

      Below 1 V

      A66-30(REQ-) - Body ground

      Power switch on (IG)

      Below 1 V

      Note:

      Turning the power switch on (IG) with the hybrid vehicle control ECU connector and the inverter with converter assembly disconnected causes other DTCs to be stored. Clear the DTCs after performing this inspection.

    7. Turn the power switch off.

    8. Disconnect the cable from the negative (-) auxiliary battery terminal.

    9. Measure the resistance according to the value(s) in the table below.

      Standard Resistance (Check for Open)

      Tester Connection

      Condition

      Specified Condition

      A66-31 (REQ+) - A111-26 (REQ+)

      Power switch off

      Below 1 Ω

      A66-30(REQ-) - A111-37 (REQ-)

      Power switch off

      Below 1 Ω

      Standard Resistance (Check for Short)

      Tester Connection

      Condition

      Specified Condition

      A66-31 (REQ+) or A111-26 (REQ+) - Body ground and other terminals

      Power switch off

      10 kΩ or higher

      A66-30(REQ-) or A111-37 (REQ-) - Body ground and other terminals

      Power switch off

      10 kΩ or higher

    10. Reconnect the A111 inverter with converter assembly connector.

    11. Reconnect the A66 hybrid vehicle control ECU connector.

    Result

    Proceed to

    OK

    NG

    NG

    REPAIR OR REPLACE HARNESS OR CONNECTOR

    OK
  16. CHECK INVERTER WITH CONVERTER ASSEMBLY

    1. Disconnect the A66 hybrid vehicle control ECU connector.

    2. A324998C37

      *a

      Rear view of wire harness connector

      (to Hybrid Vehicle Control ECU)

      Measure the resistance according to the value(s) in the table below.

      Standard Resistance

      Tester Connection

      Condition

      Specified Condition

      A66-31 (REQ+) - A66-30 (REQ-)

      Power switch off

      80 to 170 Ω

    3. Reconnect the A66 hybrid vehicle control ECU connector.

    Result

    Proceed to

    OK

    NG

    OK

    REPLACE HYBRID VEHICLE CONTROL ECU

    NG

    REPLACE INVERTER WITH CONVERTER ASSEMBLY

  17. CHECK HARNESS AND CONNECTOR (HYBRID VEHICLE CONTROL ECU - INVERTER WITH CONVERTER ASSEMBLY)

    CAUTION:

    Be sure to wear insulated gloves.

    1. Check that the service plug grip is not installed.

      Note:

      After removing the service plug grip, do not turn the power switch on (READY), unless instructed by the repair manual because this may cause a malfunction.

    2. Disconnect the A66 hybrid vehicle control ECU connector.

    3. Disconnect the A111 inverter with converter assembly connector.

    4. Connect the cable to the negative (-) auxiliary battery terminal.

    5. Turn the power switch on (IG).

    6. A324997C24

      *a

      Rear view of wire harness connector

      (to Hybrid Vehicle Control ECU)

      *b

      Front view of wire harness connector

      (to Inverter with Converter Assembly)

      Measure the voltage according to the value(s) in the table below.

      Standard Voltage

      Tester Connection

      Condition

      Specified Condition

      A66-23 (MTH+) - Body ground

      Power switch on (IG)

      Below 1 V

      A66-22 (MTH-) - Body ground

      Power switch on (IG)

      Below 1 V

      Note:

      Turning the power switch on (IG) with the hybrid vehicle control ECU connector and the inverter with converter assembly disconnected causes other DTCs to be stored. Clear the DTCs after performing this inspection.

    7. Turn the power switch off.

    8. Disconnect the cable from the negative (-) auxiliary battery terminal.

    9. Measure the resistance according to the value(s) in the table below.

      Standard Resistance (Check for Open)

      Tester Connection

      Condition

      Specified Condition

      A66-23 (MTH+) - A111-8 (MTH+)

      Power switch off

      Below 1 Ω

      A66-22 (MTH-) - A111-19 (MTH-)

      Power switch off

      Below 1 Ω

      Standard Resistance (Check for Short)

      Tester Connection

      Condition

      Specified Condition

      A66-23 (MTH+) or A111-8 (MTH+) - Body ground and other terminals

      Power switch off

      10 kΩ or higher

      A66-22 (MTH-) or A111-19 (MTH-) - Body ground and other terminals

      Power switch off

      10 kΩ or higher

    10. Reconnect the A111 inverter with converter assembly connector.

    11. Reconnect the A66 hybrid vehicle control ECU connector.

    Result

    Proceed to

    OK

    NG

    NG

    REPAIR OR REPLACE HARNESS OR CONNECTOR

    OK
  18. CHECK INVERTER WITH CONVERTER ASSEMBLY

    CAUTION:

    Be sure to wear insulated gloves.

    1. Check that the service plug grip is not installed.

      Note:

      After removing the service plug grip, do not turn the power switch on (READY), unless instructed by the repair manual because this may cause a malfunction.

    2. Disconnect the A111 inverter with converter assembly connector.

    3. A374929C24

      *a

      Component with harness connected

      (Hybrid Vehicle Control ECU)

      Measure the resistance according to the value(s) in the table below.

      Standard Resistance

      Tester Connection

      Condition

      Specified Condition

      A66-23 (MTH+) -A66-22 (MTH-)

      Power switch off

      80 to 170 Ω

    4. Reconnect the A111 inverter with converter assembly connector.

    Result

    Proceed to

    OK

    NG

    OK

    REPLACE INVERTER WITH CONVERTER ASSEMBLY

    NG

    REPLACE HYBRID VEHICLE CONTROL ECU

  19. CHECK HARNESS AND CONNECTOR (INVERTER WITH CONVERTER ASSEMBLY - NO. 2 ENGINE ROOM RELAY BLOCK AND JUNCTION BLOCK ASSEMBLY)

    CAUTION:

    Be sure to wear insulated gloves.

    1. Check that the service plug grip is not installed.

      Note:

      After removing the service plug grip, do not turn the power switch on (READY), unless instructed by the repair manual because this may cause a malfunction.

    2. Remove the PCU fuse from the No. 2 engine room relay block and junction block assembly.

    3. Disconnect the A111 inverter with converter assembly connector.

    4. Measure the resistance according to the value(s) in the table below.

      C344150C02

      *1

      No. 2 Engine Room Relay Block and Junction Block Assembly

      *2

      PCU Fuse

      *a

      Front view of wire harness connector

      (to Inverter with Converter Assembly)

      -

      -

      Standard Resistance (Check for Short)

      Tester Connection

      Condition

      Specified Condition

      A111-30 (+B), A111-31 (+B2) or 2 (PCU fuse terminal) - Body ground and other terminals

      Power switch off

      10 kΩ or higher

    5. Reconnect the A111 inverter with converter assembly connector.

    6. Install the PCU fuse.

    Result

    Proceed to

    OK

    NG

    NG

    REPAIR OR REPLACE HARNESS OR CONNECTORClick here

    OK
  20. REPLACE INVERTER WITH CONVERTER ASSEMBLY

    Click here

    Result

    Proceed to

    NEXT

    NEXT

    REPLACE FUSE (PCU)

  21. REPAIR OR REPLACE HARNESS OR CONNECTOR

    Result

    Proceed to

    NEXT

    NEXT

    REPLACE FUSE (PCU)