CLUTCH UNIT(for EC69) INSTALLATION
CAUTION / NOTICE / HINT
When the manual transaxle assembly is removed, be sure to use a new clutch release with bearing cylinder assembly and new installation bolts. Removal of the transaxle allows the compressed clutch release with bearing cylinder assembly to return to its original position. Dust from the moving section may damage the seal of the clutch release with bearing cylinder assembly, possibly causing clutch fluid leaks.
PROCEDURE
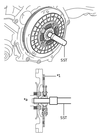
INSTALL CLUTCH DISC ASSEMBLY
*1
Clutch Disc Assembly
*a
Flywheel Sub-assembly Side
Insert SST into the clutch disc assembly, then insert them both into the flywheel sub-assembly.
09301-00210
Note:Insert the clutch disc assembly in the correct direction.
INSTALL CLUTCH COVER ASSEMBLY
*a
Temporarily
*b
Matchmark
Align the matchmark on the clutch cover assembly with the one on the flywheel sub-assembly.
Following the procedure shown in the illustration, tighten the 6 bolts in order, starting with the bolt located near the knock pin at the top.
09301-00210
19.1 N*m
195 kgf*cm
14 ft.*lbf
Tip:Following the order in the illustration, tighten the bolts evenly one at a time.
Move SST up and down, right and left lightly after checking that the clutch disc assembly is in the center, and tighten the bolts.
INSPECT AND ADJUST CLUTCH COVER ASSEMBLY
-
Using a dial indicator with a roller instrument, check the diaphragm spring tip alignment.
Maximum Non-alignment
0.5 mm (0.0197 in.)
-
If the alignment is not as specified, using SST, adjust the diaphragm spring tip alignment.
09333-00013
-
INSTALL CLUTCH RELEASE WITH BEARING CYLINDER ASSEMBLY
-
Temporarily tighten the clutch release cylinder to bleeder tube to a new clutch release with bearing cylinder assembly.
Clean and degrease all installation surfaces for the clutch release with bearing cylinder assembly.
Install the clutch release with bearing cylinder assembly with 3 new bolts.
22.5 N*m
229 kgf*cm
17 ft.*lbf
Note:The clutch release with bearing cylinder assembly and installation bolts cannot be reused and must be replaced with new ones.
Clean and degrease all installation surfaces and make sure that the clutch release with bearing cylinder assembly fits securely with the manual transaxle assembly during installation. The first bolt should be tightened by hand holding the clutch release with bearing cylinder assembly.
Ensure that none of the clutch disc spline grease adheres to the clutch release with bearing cylinder assembly.
The clutch release with bearing cylinder assembly cannot be disassembled.
Install the clutch tube boot onto the manual transaxle assembly.
-
Temporarily tighten the clutch release cylinder to bleeder tube to the clutch release bleeder sub-assembly.
Temporarily tighten the 2 bolts and install the clutch release bleeder sub-assembly.
-
Using a 10 mm union nut wrench, install the clutch release cylinder to bleeder tube to the clutch release with bearing cylinder assembly.
15.2 N*m
155 kgf*cm
11 ft.*lbf
Note:Use a torque wrench with a fulcrum length of 250 mm (9.84 in.).
Use the torque value compensation formula to calculate the torque value for use when a torque wrench is combined with a tool such as a union nut wrench.
-

Clutch spline grease
Apply clutch spline grease to the input shaft splines.
Sealant
Toyota Genuine Clutch Spline Grease or equivalent
-
REMOVE CLUTCH RELEASE BLEEDER SUB-ASSEMBLY
-
Separate the clutch release cylinder to bleeder tube from the clutch release bleeder sub-assembly.
Remove the 2 bolts and clutch release bleeder sub-assembly.
-
INSPECT CLUTCH PIPE LINE
Using SST, apply pressure of 100 kPa (1.0 kgf/cm2, 15 psi) to the clutch pipe location shown in the illustration and confirm that pressure is maintained for 15 seconds or more.
09992-00242
If the pressure drops, replace the clutch release cylinder to bleeder tube.
INSTALL CLUTCH RELEASE BLEEDER SUB-ASSEMBLY
-
Temporarily tighten the clutch release cylinder to bleeder tube to the clutch release bleeder sub-assembly.
Install the 2 bolts and clutch release bleeder sub-assembly.
16.7 N*m
170 kgf*cm
12 ft.*lbf
Using a 10 mm union nut wrench, install the clutch release cylinder to bleeder tube.
15.2 N*m
155 kgf*cm
11 ft.*lbf
Note:Use a torque wrench with a fulcrum length of 250 mm (9.84 in.).
Use the torque value compensation formula to calculate the torque value for use when a torque wrench is combined with a tool such as a union nut wrench.
-
INSTALL ACCUMULATOR TO FLEXIBLE HOSE TUBE
Using a 10 mm union nut wrench, install the accumulator to flexible hose tube to the clutch accumulator assembly and clutch release bleeder sub-assembly.
15.2 N*m
155 kgf*cm
11 ft.*lbf
Note:Use a torque wrench with a fulcrum length of 250 mm (9.84 in.).
Use the torque value compensation formula to calculate the torque value for use when a torque wrench is combined with a tool such as a union nut wrench.
Install the bolt and accumulator to flexible hose tube to the manual transaxle assembly.
11.8 N*m
120 kgf*cm
9 ft.*lbf
INSTALL MANUAL TRANSAXLE ASSEMBLY